5.1.1. POJEM VLAŽNOSTI ZRAKA
Zrak vedno vsebuje manjšo ali večjo količino vodne pare, zato govorimo o vlažnosti zraka ali vlagi v zraku. Vodna para je brezbarven in neviden plin, brez okusa in vonja, ki se pri določenih temperaturah lahko pretvori iz plinskega v tekoče ali trdno agregatno stanje. Zaradi teh lastnosti vodne pare nastajajo v atmosferi oblaki, megla, rosa, slana, ivje, dež, sneg, toča itd. (hidrometeorji).
Vlago v zraku lahko izrazimo na več načinov kot so:
Na meteoroloških postajah določamo pritisk vodne pare, relativno vlago in rosišče.
5.1.2. ENOTE ZA VLAGO V ZRAKU
Vlago v zraku izražamo v naslednjih enotah:
Za merjenje vlažnosti zraka uporabljamo pri nas naslednje inštrumente:
Z inštrumenti od 1 do 3 lahko določimo z računom ali s psihrometrijskimi tabelami vse količine vlažnosti zraka, inštrumenta pod 3 in 4 pa merita neposredno relativno vlago zraka v procentih, druge količine pa lahko določimo z računom ali tabelami, če poznamo tudi temperaturo zraka.
5.2.1. PSIHROMETER
Psihrometer je sestavljen iz veh enakih termometrov. Rezervoar enega od teh termometrov je ovit z bombažno krpico, ki jo pri merjenju zmočimo. Termometer brez krpice je suhi, drugi s krpico pa mokri termometer in se imenujeta psihrometrska termometra. Suhi termometer meri temperaturo zraka. Vse, ker je napisano v poglavju IV. o navadnem termometru, velja tudi za psihrometrske termometre.
Psihrometer deluje na naslednji način: ko krpico mokrega termometra zmočimo, začne voda iz krpice izhlapevati in s tem se niža temperatura na mokrem termometru. Čimbolj je zrak suh, tem večje je izhlapevanje s krpice in večje so razlike temperatur med suhim in mokrim termometrom. Če je zrak nasičen z vodno paro, kažeta oba termometra enako temperaturo, pri temperaturah nižjih od 0ş C pa kaže mokri termometer višjo temperaturo (tudi do 0.3ş C pri zelo nizkih temperaturah).
Pri psihrometru igra važno vlogo krpica na mokrem termometru, zato jo moramo pazljivo namestiti n vzdrževati.
5.2.2. AVGUSTOV PSIHROMETER
5.2.2.1. OPIS
5.2.2.2. KRPICA NA MOKREM TERMOMETRU
Krpica na mokrem termometru mora biti iz bombažnega muslina ali podobnega gosto tkanega platna, ki dobro vpije vodo. Ko krpico priveženo na termometer, moramo imeti čiste roke, umite z vodo in milom. Termometer snamemo s stojala, snamemo staro krpico in ga umijemo s čisto vodo. Nato ga obrnjenega sede stisnemo med koleni tako, da je zgornji del termometra na stolu. Krpico nataknemo na rezervoar tako, da niti krpice razmaknemo in spodnji, stanjšani del gleda iz krpice. Krpico namestimo na rezervoar in jo privežemo z nitjo nad rezervoar. Še enkrat naravnamo krpico in zgladimo gube.
Odvečne konce krpice obrežemo s škarjami ali z britvico (sl. 42a). Če ni aspiratorja, privečemo na krpico še stenj (sl. 42b).
Za termometre s podolgovatim rezervoarjem uporabljamo krpice v obliki nogavičke (sl. 43c in d), ki jih namestimo na rezervoar. Če nimamo narejenih krpic, jih sešijemo iz muslina po obliki in velikosti rezervoarja termometra, tako da se tesno prilegajo.
![]() |
![]() |
Slika 42. Krpica in stenj na mokrem termometru |
Slika 43. Krpica in stenj na mokrem termometru |
5.2.2.3. VZDRŽEVANJE KRPICE
Pri vzdrževanju krpice se moramo držati naslednjih navodil:
5.2.2.4. STENJ
Stenj je iz predenega bombažnega prediva bele barve, debel okoli 5 mm in dolg 15 cm. Uporabljamo ga za namakanje krpice. Stenj privežemo v obliki zanke nad rezervoarjem termometra, kjer smo privezali tudi krpico, drugi konec pa je potopljen v rezervoar z vodo. Med stenjem in krpico mora biti tesen stik, da je krpica bolje namočena. Na stenju ne sme biti vozla ali ostrega pregiba, s katerega lahko kaplja voda. Tudi stenj mora biti čist.
5.2.2.5. POSODICA Z VODO
Posodica, v kateri je voda za namakanje krpice, mora biti steklena ali iz nerjaveče pločevine. Oblika in trdnost posodice mora biti taka, da pri nenadni ohladitvi ne poči. Posodica mora imeti pokrovček (Z) z odprtino za stenj in mora biti vedno pokrita, da čim manj vode izhlapi in da se ne vlaži zrak v meteorološki hišici.
Posodica z vodo mora biti v isti višini kakor rezervoar mokrega termometra, ali pa 1 do 2 cm nižje in za 2 do 3 cm stran od mokrega termometra, kakor na sl. 41 do 43. Višina vode v posodici ne sme biti nižja od 2 do 3 cm pod termometrom. To moramo redno kontrolirati in vodo dolivati. Voda, ki jo dolivamo v posodico, mora imeti temperaturo zraka v hišici, če nima enake temperature, jo moramo nalivati v posodico najmanj 1 uro pred opazovanjem, da se temperatura vode izenači s temperaturo zraka.
5.2.2.6. ODČITAVANJE TERMOMETROV
Pri odčitavanju psihrometra se moramo držati navodil iz poglavja 4.2.1.2. Najprej čitamo suhi, nato morki termometer. Oba termometra odčitamo čim hitreje, enega za drugim, takoj, ko smo odprli vrata hišice.
Normalno je, da kaže mokri termometer nižjo ali enako temperaturo kakor suhi termometer. Pozimi, kadar je megla in je temperatura nižja od 0ş C, lahko včasih mokri termometer kaže višjo temperaturo od suhega. V tem primeru vpišemo vrednost mokrega termometra v Dnevnik opazovanj s primerno opombo. Paziti moramo, da ni ta primer nastal zaradi napačnega odčitavanja ali neupoštevanja inštrumentalne napake.
5.2.2.7. MERJENJE TEMPERATUR PRI NEGATIVNIH VREDNOSTIH
Pri negativnih temperaturah moramo s posebno pazljivostjo in natančnostjo meriti vlažnost zraka s psihrometrom.
Pred zmrzovanjem odstranimo stenj, krpico pa namočimo neposredno z vodo iz posodice tako, da jo dvignemo in potopimo vanjo rezervoar termometra.
Krpico namočimo:
Postopek merjenja je naslednji:
Posodico za manakanje napolnimo s hladno vodo in ko hišico odpremo, najprej odčitamo
suhi termometer. Če je potrebno, očistimo suhi termometer od vlage, leda ali ivja, nato
dvignemo posodico z vodo in rezervoar mokrega termometra popolnoma potopimo v
vodo. Če je rezervoar mokrega termometra pokrit z ledom, ga držimo toliko čas av vodi,
da led popolnoma stalimo in krpico namočimo. Če se temperatura mokrega termometra
hitro dvigne do 0ş C in se nekaj časa zadrži na tej vrednosti, nato pa začne ponovno
re
Po namakanju odstranimo s krpice odvečno vodo z robom posodice. S tem preprečimo
nastanek debelejšega sloja ledu na spodnjem delu termometra.
Po čitanju suhega in mokrega atermometra moramo ugotoviti, ali je na krpici voda ali led.
Če je nakrpici voda, zapišemo polega temperature mokrega termometra črko “v”, če pa je
led pa črko “1”.
Če ne vemo, ali je na krpici voda ali led, se z ravnim delom svinčnika (ali lesene palčke)
dotaknemo spodnjega dela krpice. Če je na krpici voda, ostane na svinčniku ali palčici
kapljica vode. Če je nakrpici podhlajena voda, pri dotiku s trdnim predmetom takoj
zmrzne in temperatura mokrega termometra naglo poraste do 0ş C, nato pa začne
ponovno padati.
5.2.2.8. NAPAKE PRI MERJENJU
Vzroki za napake pri Avgustovem psihrometru so lahko naslednji:
Na začetek kazala
Na začetek poglavja
Če zaradi teh vzrokov napačno določimo temperaturo mokrega termometrea za 0.5ş C, bodo napake relativne vlažnosti pri različnih temperaturah naslednje:
| temperatura | -5 | +5 | +15ş C |
| napaka relativne vlage | 11 | 7 | 2% |
Napaka nekaj desetink stopinje pri odčitavanju mokrega termometra pod 0ş C povzroči merjenje nekoristno, zato Avgustovega psihrometra ne uporabljamo za merjenje relativne vlažnosti pri temperaturah, nižjih od -5ş C.
5.2.3. PSIHROMETRI Z ASPIRATORJEM
Ker je natančnost merjenja vlažnosti zraka odvisna od dotoka vlažnega zraka, so nameščeni na psihrometru posebni ventilatorji (mehanični ali električni), ki povzročajo umetno strujanje zraka okoli rezervoarja mokrega termometra ali okoli obeh termometrov.
5.2.3.1. OPIS PSIHROMETRA Z ASPIRATORJEM
Psihrometer z aspiratorjem ima poseben spodnji nosilec za termometer, v katerega s sprednje strani namestimo aspirator. Spodnji nosilec je loahko izdelan tako, da zrak kroži okoli mokrega termometra (sl. 44) ali okoli obeh (sl. 45). Nosilec za mokri termometer ima na zgornji strani odprtino za termometer, v kateri je gumijasto ali kožnato tesnilo (Z). Na spodnjem koncu nosilca je steklena cevka (C), skozi katero teče zrak pri delu aspiratorja. Aspirator (U) namestimo v strankso odprtino spodnjega nosilca.
Pri nosilcu za ventiliranje obeh termometrov je tudi suhi termometer nameščen na nosilcu na enak način kot mokri termometer (sl. 45). Vodoravna cev, v katero namestimo aspirator, je v sredini spodnjega nosilca.
Termometra sta nameščena tako, da njuna rezervoarja vidimo v steklenih cevkah.
Krpico namočimo tako, da davignemo stekleno posodico v stekleno cevko, dokler se mokri termometer ne potopi v vodo.
Po končanem merjenju zapremo stekleni cevki s plutovinastima zamaškoma, ki sta privezana na stojalo.
Slika 44. Psihrometer z aspiratorjem za mokri termometer
5.2.3.2. OPIS IN DELOVANJE SPIRATORJA ZA VENTILIRANJE OBEH TERMOMETROV
Aspirator povzroča s sesanjem zraka zračni tok okoli rezervorarja termometrov. Hitrost zračnega toka mora biti v mejah od 2.5 do največ 10 metrov v sekundi. Glede na pogon ločimo aspiratorje z vzmetjo (mehanični) in aspiratorje z elektromotorjem.
Mehanični aspirator za oba termometra je sestavljen iz kovinskega ohišja valjaste oblike (A) (sl. 45a), v katerem je mehanizem z vzmetjo za pogon lopatic, ki črpajo skozi (B) sprednjo odprtino zrak, ki odteka skozi stranske odprtine. Cev na čelni strani (C) spiratorja namestimo v stransko odprtino (O) na spodnjem nsodilcu (D). Na ohišju je (D) okno (E), skozi katerega opazujemo gibanje puščice ali zareze na bobno z vzmetjo pri (E) kontroli delovanja aspiratorja ali hitrosti zračnega toka.
Mehanični aspirator poganja vzmet, ki jo navijamo s posebnim ključem. Ključ vtaknemo pred navijanjem v odprtino (R) na zadnji strani ohišja ali pa je na njem stalno pritrjen.
Lopatice pri električnem aspiratorju so pritrjene na os elektromotorja (M) in zaščitene s kovinskim ohišjem (A). Elektromotorji električnih aspiratorjev delajo pri izmenični napetosti 24 V.
Ko aspirator namestimo na nosilec (D) in navijamo (ali priključimo na električni tok), prične sesati zrak skozi steklene cevke (C). Zrak teče poleg rezervoarjev termometrov skozi kanal na spodnjem držalu in skozi odprtino (O) (sl. 45a) ter ven skozi bočne odprtine na aspiratorju.
Mehanični aspirator mora delati po navijanju neprekinjeno najmanj 2 do 5 minut.
5.2.3.3. MERJENJE S PSIHROMETROM
S psihrometrom merimo na naslednji način:
Pri merjenju moramo večkrat pogledati skozi priprta vrata hišice, kdaj se je živo srebro ustalilo na najnižji točki in takrat odčitamo mokri termometer.
5.2.3.4. MERJENJE BREZ ASPIRATORJA
Če se aspirator pokvari, merimo tako kakor z Avgustovim psihrometrom. Snamemo stekleni cevki s spodnjega niosilca in namakamo krpico s pomočjo steklene posodice, poleti okoli 10, pozimi pa 30 minut pred vsakim opazovanjem. poleti moramo posebno paziti na čas ustalitve temperature mokrega termometra, ki je pri suhem in vetrovnem vremenu lahko tudi krajši od dveh minut.
Čas uporabe psihrometra brez aspiratorja moramo vpisati v Dnevnik opazovanj in Mesečno poročilo. Pri izračunavanju vlažnosti moramo paziti, da uporabljamo pravo tabelo, ker se za psihrometre z aspiratorjem in za Avgustove psihrometre uporabljajo različne tabele.
5.2.3.5. NAPAKE MERJENJA
Pri merjenju s psihrometrom z apsiratorjem lahko nastanejo skoraj iste napake kakor pri Avgustovem psihrometru. Razlika je le v tem, da psihormeter z aspiratorjem nima stenja in da lahko nastane napaka zaradi slabega tesnenja na mestu, kjer so termometri pritrjeni v spodnjem nsoilcu.
5.2.3.6. HRANJENJE IN KONTROLA ASPIRATORJEV
Aspirator hranimo v posebni pločevinasti ali leseni škatli v meteorološki hišici. Če hranimo aspirator v zgradbi, ga hranimo v prostoru, kjer ne kurimo. O okvari aspiratorja takoj obvestimo zavod.
Aspirator kontroliramo enkrat na mesec na naslednji način:
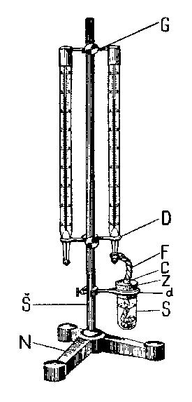
5.2.4. ASSMANOV PSIHROMETER
5.2.4.1. OPIS
Assmanov psihrometer (sl. 46) je eden najnatančnejših inštrumentov za merjenje vlažnosti zraka.
Legenda:
| V | Obroček |
| R | Odprtina za ključ |
| K | Ključ |
| U | Aspirator |
| I | Kontrolna odprtina |
| P | Odprtina za zrak |
| E | Vetrobran |
| C | Viličata cev |
| Ts | Suhi termometer |
| Tm | Mokri termometer |
| O | Ohišje |
| N | Nosilec za psihrometer |
| G | Gumijasta žogica z vodo |
| Š | Ščipalka |
| S | Steklena cevka |
| D | Prerez sesalne cevi |
| X | Notranja poniklana cev |
| F | Cev z gumo in zamaškom |
| Z | Zunanja poniklana cev |
Njegova prednost je v tem, da lahko z njim merimo vlažnost tudi na prostem in po potrebi v različnih višinah nad tlemi.
Aspirator, ki povzroča ventiliranje termometra, je nameščen nad termometri na široki cevi (C), ki je na spodnji strani viličasta, tako da je v enem kraku suhi, v drugem pa mokri termometer. Na aspiratorju je obroček (V), s katerim inštrument obesimo na poseben nosilec (N). Poleg obročka je odprtina (R), v kateri s ključem (K) navijamo mehanizem. Na spodnjem delu aspiratorja so odprtine (P) za izhod zraka. Na te odprtine po potrebi namestimo poseben ščit (E) (vetrobran) za zaščito pred močnejšim vetrom, ki lahko moti zračni tok v aspiratorju. Termometra sta pred sevanjem zaščitena s ponikljanim kovinskim ohišjem (O), z odprtinami za odčitavanje termometrov. Okoli rezervoarjev termometrov je poleg zunanje ponikljane cevi (Z) še ena ožja ponikljana cev za popolnejšo zaščito pred sevanjem.
Aspirator enakomerno sesa zrak skozi viličasto cev mimo rezervoarjev termometrov.
Iz razlike temperatur suhega in mokrega termometra dobimo s pomočjo tabele za aspirirane psihrometre pritisk vodne pare, relatiavno vlago, rosišče itd.
5.2.4.2. NAMESTITEV IN VZDRŽEVANJE
Če uporabljamo Assmanov psihrometer za redne meritve na postaji ali za primerjalna merjenja s termometri v hišici, ga obesimo v opazovalnem prostoru na 2,5 m visok drog ali na sprednjo desno stran meteorološke hišice. V vsakem primeru morata biti rezervoarja termometra na višini 2 metra iznad tal. Za odčitavanje psihrometra na drogu namestimo čim večje stopnice, da bi se z njih čim manj odbijala toplota proti psihrometru.
Pri zamenjavi ali čiščenju krpice najprej snamemo aspirator in pazljivo izvlečemo mokri termometer. Na enak način izvlečemo suhi termometer, kadar ga brišemo. Ko namestimo termometra nazaj v ležišče, ju moramo dobro zatesniti, da ne bi uhajal zrak pri delovanju aspiratorja.
Za namestitev in vzdrževanje krpice, odstranjevanje napak in okvar, opazovanju pri negativnih temperaturah, kontrole aspiratorja itd. veljajo ista navodila kakor za druge psihrometre.
Krpico mokrega termometra namočimo s pomočjo gumijaste žogice (G) s podaljškom, ščipalko (Š) in stekleno cevko (S) (sl. 46). Žogico napolnimo z destilirano vodo in stisnemo z roko tako, da voda doseže oznako na stekleni cevki, če pa te ni, do 1 cm od odprtine. Nato stisnemo s ščipalko gumijasti podaljšek žogice, tak oda ostane voda v cevki v zaželeni višini. V cevki moramo pustiti toliko prostora, da se voda ne izlije. V nasprotnem primeru se lahko zmoči zaščitna cev in voda pride v aspirator, ali pa dobimo nepraviln e podatke pri merjenju. Žogico z vodo za namakanje moramo po uporabi zamašiti. Če nimamo žogice, lahko krpico mokrega termometra namakamo s pomočjo cevke (F) (pipeta).
Inštrument hranimo v posebni škatli. Preden ga spravimo v škatlo, ga obrišemo z jelenovo kožo ali čisto flanelasto krpo, ki jo tudi hranimo v škatli. V prostoru, kjer psihrometer hranimo, ne smemo kuriti, da se na njem ne bi izločala voda in bi zaradi tega nastajale okvare. Psihrometra ne smemo shraniti, preden se aspirator ne ustavi.
Ko psihrometer namestimo, pustimo ključ v odprtini za navijanje, da zaščitimo mehanizem pred prahom in padavinami.
Aspirator čistimo in mažemo v strokovnem laboratoriju.
5.2.4.3. MERJENJE S PSIHROMETROM
S psihrometrom merimo na naslednji način:
Pri merjenju ne smemo dihati v inštrument in stati na tisti strani, s katere piha veter, da ne bi vplival na inštrument.
Poleti, ko so možne hitre spremembe temperature, je priporočljivo, da odčitamo termometra trikrat v časovnih razmakih po 20 sekund in da vpišemo v Dnevnik opazovanj srednjo vrednost temperature in vlažnosti zraka.
5.3.1. SPLOŠNE LASTNOSTI HIGROMETRA
Lasni higrometer je inštrument, ki neposredno meri relativno vlago v procentih. Lasje imajo lastnost, da se pri visoki relativni vlagi podaljšajo, pri nizki pa skrčijo, kar uporabljamo pri teh inštrumentih.
Higrometer uporabljamo kot dopolnitev in za zamenjavo za psihrometerska merjenja, posebno pri nizkih temperaturah, ko merjenja psihrometrov niso zanesljiva.
5.3.2. VRSTE HIGROMETROV
V naši mreži uporabljamo več vrst higrometrov: Koppejev higrometer, higrometer po Sokiću itd.
5.3.3. KOPPEJEV HIGROMETER
5.3.3.1. NAMESTITEV HIGROMETRA
Higrometer namestimo v hišici za psihrometrom na zadnji deski na dnu. Las se ne smemo dotikati z roko, da se ne bi zamastili ali umazali. Prah in pajčevino oddstranimo s čisto ščetko.
V primorskih krajih moramo las vedno prati po vsakem močnejšem vetru z morja, da odstranimo delce soli, ki so se nanj prilepili.
Če se pozimi na lasu nabere ivje, led ali sneg, ga odstranimo z rahlim trkanjem po ohišju. Če na ta način ne uspemo, ga pazljivo prenesemo v nekoliko toplejši prostor in počakamo, da voda izhlapi.
Če je bil higrometer dalj časa v suhem prostoru, ali če je bila relativna vlaga na postaji dalj časa nizka, osvežimo las higrometra, kakor je opisano v poglavju 5.3.3.3.
5.3.3.2. ČITANJE HIGROMETRA
Higrometer čitamo z natančnostjo 1 %. Ker je skala razdeljena na 5 %, moramo položaj kazalca med dvema črticama vizuelno določiti. Pred čitanjem higrometer pazljivo udarimo po kovinskem ohišju, da preprečimo trenje osi v ležaju.
5.3.3.3. KONTROLA NATANČNOSTI DELOVANJA HIGROMETRA
Natančnost higrometra kontroliramo na dva načina:
1. Primerjava s psihormetrom
Higrometer uravnavamo po psihrometru pri vseh temperatuarah nad -5ş C. Če pri teh
temperaturah odstopa higrometer za 5% ali več, opazovalec sistematično primerja oba
inštrumenta najmanj 15 dni. Na osnovi teh primerjav izračunamo srednje odstopanje
higrometra glede na psihrometer in počakamo, da se relativna vlaga dvigne nad 80% ter
premaknemo kazalec higrometra za vrednost srednjega odstopanja.
Primer: higrometer kaže pri pozitivnih temperaturah v povprečju 5% višje od psihrometra. Pri relativni vlagi 85% kaže higrometer 90%, zato premaknemo kazalec higrometra na 85%.
2. Kontrola in uravnavanje higrometra z namakanjem.
Higrometer moramo enkrat na mesec redno kontrolirati v prostoru, ki je nasičen z vodno
paro. Kontroliramo ga takoj po rednem opazovanju, da se po kontroli lahko spet prilagodi
vlažnostnim razmeram v meteorološki hišici do naslednjega opazovanja.
Postopek kontrole je naslednji:
Higrometre druge vrste kontroliramo na podoben način, če imajo predviden pribor. Če nimajo tega pribora, ga ovijemo z mokro krpo tako, da ostane skala vidna.
Higrometer kaže relativno vlago pri vseh temperaturah glede na nasičenost pare nad vodo in ne nad ledom.
5.3.4. HIGROMETER PO SOKIĆU
Sprejemni del tega higrometra (sl. 48) je sestavljen iz lasnega snopa (1), ki je na
zgornjem koncu pritrjen v kovinski vložek z vzmetjo (2), na spodnjem pa v vložek, ki je
povezan z osjo (3). Na sprednji strani osi je kazalec (4). Lasni snop je zaščiten s
štirikotnim ohišjem (5), ki ga ščiti pred mehanskimi okvarami. Ohišje je na spodnjem
koncu pritrjeno na podstavek (6). Skala je polkrožne oblike in nameščena v okroglo
zastekleno ohišje. Kazalec uravnavamo z vijakom (7), ki je povezan z vzmetjo. Vijak
fiksiramo z vzmetno matico. Napetost lasnega snopa popustimo z zavoro (8), ki pritiska
na os s kazalcem.
Pribor higrometra je tudi platnena vrečica, ki se uporablja za kontrolo inštrumenta z namakanjem.
5.3.4.1. NAMESTITEV IN KONTROLA HIGROMETRA
Ta higrometer namestimo in kontroliramo na enak način kakor Koppejev higrometer, edina razlika je v tem, da reguliramo kazalec z vrtenjem vijaka (7), fiksiramo pa ga z navojem, ki se vrti v nasprotni smeri.
5.3.5. HIGROMETER SOVJETSKE IZDELAVE
Ta higrometer (sl 49) je sestavljen iz lasu (1), ki je na zgornjem koncu pritrjen na regulator (2), na spodnjem pa na ročico z utežjo (4). Ročica z utežjo je pritrjena na os, na kateri je kazalec (5). Na sredini higrometra je skala (6), z razdelitvijo od 0 do 100%. Vsaka črtica pomeni 1% relativne vlage.
Higrometer prenašamo v posebni leseni škatli. Pred namestitvijo higrometra v škatlo moramo kazalec premakniti na levi del skale in ga s palcem držimo ob skali ali pa ga zataknemo za rob skale. Pri tem pazimo, da se ne dotaknemo lasu.
Higrometer namestimo v hišici na poseben držaj za psihormetrom. Čitamo ga z natančnostjo 1%. Pred čitanjem moramo po higrometru rahlo potrkati.
Higrometer kontroliramo samo s psihrometrom, ker ni primeren za kontrolo z namakanjem. Uravnavamo ga po psihrometru, kadar sistematsko odstopa za 5% ali več. Uravnavamo ga tako, da najprej zrahljamo matico na regulatorju (2), nato z obračanjem regulatorja premaknemo kazalec na pravo vrednost in ponovno zategnemo matico. Higrometer ne uravnavamo pri manjši relativni vlagi od 80%.
5.4.1. OPIS
Higrografi so inštrumenti, ki neprekinjeno zapisujejo stanje relativne vlažnosti zraka. Sprejemnik higrografa se sestoji od enega ali več lasnih snopov, pripravljenih na enak način kot pri higrometru.
Pri nas uporabljamo več vrst higrografov, ki se med seboj razlikujejo po zgradbi in po trakovih. Prevladujejo naslednje tri vrste higrografov:
Ker imajo vse tri vrste higrografov različne trakove, moramo paziti, da jih ne zamenjamo.
5.4.1.1. LAMBRECHTOV HIGROGRAF
Sprejemmik tega higrografa je sestavljen iz več paralelnih lasnih snopov (1), ki so na obeh koncih pritrjeni na kovinske ploščice in tvorijo tako imenovano “harfo” (sl. 50). Harfa (1) je v navpičnem položaju in obešena na vzmetno ploščico (2), ki je pritrjena na ročico (3). Z vijakom (4) lahko uravnavamo ploščico s harfo. Spodnji del harfe je povezan s prenosno ročico, na katero je pritrjeno pero.
Ko se vlažnost zraka poveča, se lasje raztegnejo, ponosna ročica s peresom pa se zniža proti spodnjem udelu skale, kjer je 100%. Ko se vlažnost zraka zmanjša, se lasje skrčijo Pri novejšem tipu Lambrechtovega higrografa je spodnji konec harfe nepremičen, prenos pa se vrši na zgornjem koncu.
Pri obeh tipih uporabljamo enake trakove.
Vsi deli inštrumentov so pod ohišjem in tako zaščiteni pred okvarami in prahom.
5.4.1.2. HIGROGRAF PO SOKIĆU
Higrograf po Sokiću je prikazan na sl. 51 - A in B. Sprejemnik tega higrografa sestavljajo trije lasni snopi (1), ki so pritrjeni na dva trikotna nosilca, spodnjega (2) in zgornjega (3). Spodnji nosilec je povezan z regulatorjem (4), s katerim uravnavamo položaj peresa na diagramu. Zgornji nosilec je povezan s prenosno ročico. Ko se relativna vlaga poveča, se las raztegne proti zgornjemu delu, kar se prenese na diagram v smeri puščice. Kazalec se torej premakne proti spodnjem delu skale, na katerem je vrednost 100%. Ko se relativna vlaga zmanjša, se lasje skrčijo in kazalec se dvigne proti zgornjem delu skale. Skala tega higrografa ima enako razdelitev kakor skala Lambrechtovega higrografa.
Sprejemnik higrografa je nameščen na zunanji (desni) strani ohišja, kjer je izpostavljen dobremu prezračevanju, karj e bistveno za pravilno delovanje higrografa. Kovinski ovir (6) ščiti lase pred mehaničnimi poškodbami; prav tako pa nanj navlečemo platneno vrečko pri kontroli higrografa. Nad lasmi je nameščena kovinska strešica (7), ki preprečuje, da se prah od zgoraj nabira na lase in istočasno ščiti tudi prenosno ročico pred prahom.
Za kontrolo higrografa pri 96% nataknemo na kovnski okvir platneno vrečko, ki smo jo prej dobro namočili. Čez približno pol ure mora higrometer pokazati vlago 96%. Če ne pokaže, uravnamo pero (5) z regulatorjem (4). Pri tej kontroli moramo paziti, da se ne dotaknemo las.
Pri prenosu higrografa na vačje razdalje ga moramo utrditi s posebno vgrajeno ročico na notranji strani ohišja, ki jo moramo dvigniti. Po končanem prenosu inštrumenta ročico spustimo in s tem osvobodimo prenosno ročico in napnemo lase.
5.4.1.3. FUESSOV HIGROGRAF
Ta higrograf (sl. 52) ima en lasni snop (1), ki je nameščen na kovinskem okvirju (2), na desni strani ohišja. Snop je razpet med dve držali (3) in je navadno v vodoravnem položaju, lahko pa je tudi v navpičnem. V sredini lasnega snopa je pritrjena kljukica, ki je povezana s prenosno ročico in peresom. Lasni snop napenja utež (4). Ko se vlažnost poveča, se lasje raztegnejo in povesijo, pero pa se na skali dvigne k višjim vrednostim relativne vlage.
Higrograf uravnavamo s pomikanjem enega od obeh držal. V notranjosti ohišja je na isti strani kakor okvir z lasmi pritrjena ročka, s katero pred transportom zrahljamo lasni snop. Če te ročice ni, pomaknemo kazalec do roba valja in ga privežemo z vrvico ob ročico za odmikanje peresa. K higrografu spada tudi žičnata mreža v obliki valja (5), ki jo nataknemo na okvir okoli lasnega snopa. Pri kontroli higrografa ovijemo mrežo z mokro krpo.
5.4.1.4. RICHARDOV HIGROGRAF
Po zgradbi je ta inštrument podoben fuessovemu higrografu. Razlika je le v tem, da sta v prenosno ročico vgrajena dva polkrožna segmenta, ki neenake podaljške als pretvorita v izenačene, tako da ima skala enako porazdelitev od 0 do 100%. Lasni snop je v vodoravnem položaju in je zaščiten z mrežo. Uravnavamo ga enako kakor Fuessovega.
5.4.2. NAMESTITEV IN VZDRŽEVANJE HIGROGRAFOV
Higrograf je v hišici nameščen poleg termografa ali na termografu. Dotaknemo se ga lahko le, ko označimo krivuljo s “črtico”. Higrograf odčitamo z natančnostjo 1%, nato naredimo na krivulji črtico, ki mora biti daljša od črtice pri termografu. Pero pri tem pomaknemo samo proti manjšim vrednostim skale, da ne bi lase nasilno nategnili.
Ker je higrograf izpostavljen prahu, ga moramo večkrat pregledati in očistiti. Lase čistimo na enak način kakor pri higrometru, t.j. ob ponedeljkih, ko snamemo trak in preden namestimo novega. Lasni snop moramo umiti enkrat na mesec. Po pranju počakamo okoli 15 minut, da se lasni snop posuši, nato namestimo nov trak.
Pri prenosu higrografa na večjo razdaljo privežemo pero ob ročico za odmikanje, tako da je vrh peresa na isti višini kakor 0% na skali. Pred prenosom ga moramo dobro zaščititi.
5.4.3. KONTROLA IN URAVNAVANJE HIGROGRAFOV
Higrograf primerjamo s psihrometrom in če v enem tednu odstopa poprečno več kot +-5%, ga uravnamo. Psihrometer uravnamo le pri zamenjavi traku in če je relativna vlaga po psihrometru večja od 70%. Če ta pogoj ni izpolnjen, inštrument uravnamo pri naslednji zamenjavi traku.
Higrograf kontroliramo z namakanjem na podoben način kot higrometer. Okoli žične mreže ali okoli celegainštrumenta ovijemo namočeno platneno vrečko ali drugo krpo tako, da je prostor okoli lasnega snopa popolnoma zaprt. Nato počakamo najmanj pol ure in pero pomaknemo na vrednost 96%.
Za merjenje izhlapevanja uporabljamo inštrumente, ki jih imenujemo evaporimetri. Pri nas uporabljamo naslednje evaporimetre:
6.2.1. OPIS
Wildov evaporimeter (sl. 53) je izdelan na principu tehtnice. Na eni strani je posoda z vodo (T), na drugi utežni kazalec (K), ki je v ravnotežju s posodo. Posoda je medeninasta, površina njene odprtine pa je 250 cm2 .
Vrh kazalca se pomika vzdolž ukrivljene skale (L), ki kaže izhlapelo vodo v mm. Manjše črtice kažejo parne desetinke milimetra.
6.2.2. NAMESTITEV IN VZDRŽEVANJE
Wildov evaporimeter je nameščen v posebni meteorološki hišici, kjer ni inštrumentov za merjenje temperature in vlažnosti zraka.
Ko je posoda prazna, mora biti kazalec na puščici (S), na spodnjem delu skale. Če kazalec pri prazni posodi ni v tem položaju, ga premaknemo v ta položaj z obračanjem vijaka (Z).
Pločevinasto posodo nalivamo s čisto filtrirano deževnico, le izjemoma s prekuhano pitno vodo.
V posodo nalijemo toliko vode, da se kazalec premakne na prvo črto skale, ki je označena z ničlo. Inštrument moramo vzdrževati v čistem stanju in paziti, da ostanejo zgibi in vezni členi tehtnice dobro gibljivi. Posodo z vodo moramo menjavati najmanj enkrat na mesec in jo očistiti od poapnenja in oksidacije.
6.2.3. MERJENJE
Izhlapevanje merimo ob 7. in 21. uri po lokalnem času tako, da določimo vrednost, ki jo kaže kazalec z natančnostjo desetinke milimetra in jo vpišemo v Dnevnik opazovanj. Za dnevno količino izhlapele vode (v 24-ih urah) seštejemo vrednosti od včeraj ob 7. uri do danes ob 7. uri, tako kakor določamo tudi količino padavin.
Če vlijemo v posodo preveč vode, odstranimo odvečno vodo s pipeto ali stekleno cevko. Če uporabljamo cevko brez gume, jo potopimo v vodo, zapremo s prstom zgornjo odprtino in jo izvlečemo.
6.3.1. OPIS
Evaporimeter je inštrument, ki zapisuje potek izhlapevanja. Njegov sprejemnik je tehtnica Wildovega evaporimetra. Registrirni deli so v kovinskem ohišju (sl. 54), posoda z vodo pa je nad ohišjem. Ti deli so enaki kakor pri drugih registrirnih inštrumentih in z njimi tudi enako ravnamo.
Valj z urnim mehanizmom se obrne v enem dnevu, navijemo pa ga enkrat na teden. Od drugih valjev na registirinih inštrumentih se rzalikuje samo po tem, da nima vzmeti za pritrditev traku.
Trak ima vodoravne črte, ki odgovarjajo milimetrom izhlapele vode, pokončne črte so enake kakor na drugih trakovih (termogramu, barogramu). Levi konec traku je na notranji strani premazan z lepilom, da ga lahko nalepimo na desni konec. Predno trak na valju zlepimo, odrežemo rob levega konca tako, da se časovni oznaki na obeh koncih popolnoma ujemata. Tako prehaja pero brez ovir z levega konca traku na desnega in lahko uporabljamo isti trak več dni.
Slika 54. Evaporigraf6.3.2. ČITANJE IN NAMESTITEV
Inštrument odčitamo in označimo z markico ob 7. in 12. uri po kokalnem času. Traku ne menjavamo vsak dan, temveč takrat, ko pero preide čez polovico traku (okoli 15 mm).
Vodo dolijemo le takrat, ko zamenjamo trak. Trak zamenjamo po merjenju ob 7. uri.
6.4.1. OPIS, NAMESTITEV IN UPORABA
Imamo dva tipa tega evaporimetra: starejši in novejši (sl. 55). Starejši tip je sestavljen iz steklene cevi z notranjim premerom 1 cm in dolžino 30 cm. Na cevi je skala z natančnostjo v desetinkah milimetra. Skala je lahko označena tudi v kubičnih centimetrih. Zgornji del cevi je zaprt in ima obroček za obešanje, spodnji pa je odprt. Cev napolnimo z destilirano vodo ali čisto deževnico, tako da voda doseže ničlo ali nekoliko nižje, vendar ne nižje od črtice, ki označuje 1 mm. Nato cev zapremo z okroglim pivnikom (U), ki ima premer 3 cm, debelino pa 0,5 mm. Pivnik je pritrjen z medeninasto vzmetjo (F). En konec vzmeti je pritrjen na cev, drugi pa se v obliki obročka prilega točno na rob odprtine cevi.
Tako pripravljen evaporimeter obesimo v obrnjenem položaju v meteorološki hišici poleg psihrometra in je tako izpostavljen enakim dizikalnim pogojem kakor psihrometer.
Pivnik se napije z vodo, ki iz njega izhlapeva. Tako se voda v cevi znižuje in na skali lahko odčitamo višino izhlapele vode z natančnostjo desetinke milimetra ali desetinke kubičnega milimetra (vsaka črtica na skali pomeni 0,1 mm ali cm3).
Novejši tip Pichejevega evaporimetra (sl. 55) ima zavito stekleno cev in zelo ozko odprtino (O) za zrak na zadnji strani. Skozi to odprtino vstopa zrak v obliki mehurčkov in izpolnjuje praznino na vrhu cevi, ki je nastala pri znižanju vode ob izhlapevanju. Cev napolnimo z vodo tako, da jo potopimo v rezervoar, ali vlijemo vodo s pomočjo gumijaste hruške. Vse drugo glede opisa, namestitve in uporabe velja enako kakor za starejši tip.
Pichejev evaporimeter lahko uporabljamo tudi izven meteorološke hišice, npr. pri mikroklimatskih meritvah, vendar samo takrat, ko ni padavin.
Pichejevega evaporimetra ne uporabljamo takrat, ko je nevarnost zmrzovanja.
6.4.2. OPAZOVANJE
Pri Pichejevem evaporimetru merimo višino vode v stekleni cevi. Razlika višine vode med dvema opazovanjima je količina izhlapele vode v milimetrih oziroma kubičnih centimertih v nekem časovnem rezmaku.
Izhlapevanje opazujemo redno ob 7. in 21. uri po lokalnem času, po potrebi pa tudi ob nekem drugem času. Pri opazovanju ob 7. uri zamenjamo pivnik in dolijemo vodo. Pri tem opazovanju odčitamo dve vrednosti: pred zamenjavo pivnika in po dolitju vode ter zamenjavi pivnika. Oba podatka zapišemo v posebno rubriko Dnevnika opazovanj. Pri opazovanju ob 21. uri ne zamenjamo pivnika, niti ne dolijemo vode.
Razlika vrednosti stanja ob 21. uri in ob 7. uri predstavlja količine izhlapele vode podnevi, razlika vrendnosti stanja drugi dan ob 7. uri in prejšnji dan ob 21. uri pa količino izhlapele vode ponoči. Razlika med vrednostjo od danes ob 7. uri in včeraj ob 7. uri predstavlja skupno količino izhlapele vode v 24. urah.
Postopek pri opazovanju ob 7. uri je naslednji:
Pri opazovanju ob 21. uri (ali ob nekem drugem času) samo odčitamo višino vode v cevi.
V vsakem obrazcu moramo napisati, ali merimo v milimetrih ali kubičnih centimetrih.
Za zapisovanje podatkov moramo imeti v Dnevniku tri tubrike: eno za staro stanje, drugo za novo stanje (po nemastitvi pivnika) in tretjo za zapisovanje vrednosti izhlapevanja vode med dvema opazovanjima.
6.5.1. SPLOŠNE OPOMBE
Da dobimo podtke izhlapevanja z vodne površine s pomočjo evaporimetra “A”, moramo redno meriti višino vode v evaporimetru in količino padavin s Hellmanovim dežemerom.
Da lahko proučujemo vpliv meteoroloških elementov na izhlapevanje in določamo izhlapevanje na osnovi meteoroloških podatkov, kjer ni merjenja izhlapevanja, moramo na istem mestu poleg izhlapevanja meriti tudi temperaturo in vlažnnost zraka, hitrost vetra, sončno obsevanja in globalno sevanje, ter temperaturo površinskega sloja vode v evaporimetru.
Mesto, kjer postavimo evaporimeter “A”, mora izpolnjevati splošne pogoje za postavitev meteorološke postaje, t.j. mora biti ravno in odprto. Vse prepreke, kot so drevesa, zgradbe, grmovje itd. morajo biti oddaljene od evaporimetra za dvojno ali še bolje za štirikratno višino. V nobenem letnem času ne smejo prepreke metati senco na evaporimeter.
6.5.2. INSTRUMENTI
6.5.2.1. EVAPORIMETER IN NJEGOVI DELI
Evaporimeter “A” (sl. 56) je posoda s premerom 120 cm, globoka 25 cm in izdelana iz galvaniziranega železa ali pocinkane pločevine z debelino 0,8 mm ter pobarvana z nitrosrebrnim lakom.
V evaporimetru je komora za umiritev vode (sl. 57). To je cilindrična posoda (1) z višino 20 cm in premerom 9 cm, izdelana iz medenine s trikotnim podstavkom (2) iz galvaniziranega železa ali medenine z debelino 1,5 cm, ki ima v sredini majhno odprtino. Podstavek ima tri vijake (3) za uravnavanje zgornjega roba komore v horizontalni položaj. Komora in njen podstavek sta kromirana ali ponikljana.
![]() |
![]() |
Slika 56. Evaporimeter "A" |
Slika 57. Komora za umiritev vode |
6.5.2.2. VODNI TERMOMETER S PLAVAČEM
Temperaturo vode v evaporimetru merimo z vodnim termometrom (brez ohišja). To je živosrebrni termometer, ki je na vrhu zaprt, skalo pa ima razdeljeno na 0,2ş C. Na vodni termometer pritrdimo plavač, da lahko termometer plava v površinskem sloju vode.
Deli plavača so (sl. 59):

6.5.2.3. NAMESTITEV INŠTRUMENTA
Evaporimeter postavimo na leseni podstavek, narejen iz desk debeline in širine 5 c 10 cm. Tla pod podstavkom morajo biti dobro steptana in zravnana. Podstavek postavimo nekaj dni pred začetkom merjenja, da se tla uležejo.
Preden evaporimeter postavimo, ga pregledamo, če ne pušča. Ko ga postavimo, kontroliramo z vodno tehtnico, če je dno vodoravno.
Komoro za umiritev vode postavimo navadno 30 cm od severnega roba posode in z libelo ter tremi vijaki na trikotnem podstavku zravnamo zgornji rob v vodoravni položaj. Če se kasneje komora premakne iz vodoravnega položaja, jo moramo ponovno uravnati.
Evaporimeter nepolnimo z vodo do višine 5 cm pod zgornjim robom. Mikrometrski vijak postavimo na komoro za umiritev vode neposredno pred mrejenjem, po merjenju ga nesemo v zgradbo.
Anemometer postavimo navpično poleg severozahodnega ogla lesenega podstavka, na katerem je nameščen evaporimeter. Pritrdimo ga na kovinsko cev s premerom okoli 5 cm in dolžino 220 cm, ki ima na vrhu pritrjen podstavek. Cev vkopljemo v zemljo tako, da so skodelice anemometra na višini 2 m nad tlemi.
6.5.3. VZDRŽEVANJE INŠTRUMENTOV IN VODE V EVAPORIMETRU
6.5.3.1. VZDRŽEVANJE INŠTRUMENTOV
Vsi deli evaporimetra morajo biti vedno v čistem stanju.
Anemometer moramo na zunanji strani večkrat obrisati z mehko krpo, posebno po padavinah. V primeru okvare ga moramo takoj poslati v laboratorij zavoda na popravilo. Če opazimo, da je anemometer premaknjen iz vertikalnega položaja, ga popravimo.
Termometer s plavačem hranimo v posebnem kovinskem ohišju, iz katerega ga vzamemo le pri merjenju. Po merjenju ga obrišemo z mehko krpo, da preprečimo rjavenje ohišja.
Prvi dan po končanem obdobju merjenja evaporimeter izpraznimo, snamemo anemometer in natančno pregledamo vse dele inštrumenta. Apnenec odstranimo s solno kislino, korodirane dele pa pošljemo na kromiranje ali barvanje.
Če ugotovimo, da evaporimeter pušča, zacinimo nastale razpoke.
Mikrometer razstavimo, ga očistimo s krpo in petrolejem, nato ga s suho krpo obrišemo in namažemo s tankim slojem redkega strojnega olja. Ko ga ponovno sestavimo, moramo pregledati, če se navoji, kljuke in vijaki za uravnavanje dobro prilegajo.
Vodni termometer moramo umeriti na vsake 2 do 3 leta. Anemometer umerjamo redno vsaki dve leti, po potrebi pa vsako leto (če je prišlo do okvare in smo ga popravili.
6.5.3.2. VZDRŽEVANJE VODE V EVAPORIMETRU
Površino vode moramo vzdrževati v čistem stanju. Obačsno moramo odstraniti vse večje predmete s površine, kakor tudi tanko mreno, ki lahko znatno zmanjša jakost izhlapevanja. Vodo očistimo po jutranjem merjenju.
Nivo vode mora biti 5 cm pod zgornjim robom posode. Dovoljeno je odstopanje +2,5 cm. Če nivo vode preseže dovoljeno mejo, moramo doliti ali odliti toliko vode, da se nivo vrne na normalno višino. Tudi to opravimo po jutranjem merjenju.
Enkrat na mesec moramo vso vodo iz evaporimetra izliti in dno ter stene posode dobro oprati s krpo in čisto vodo. Preden vlijemo v evaporimeter čisto vodo, moramo kontrolirati vodoravni položaj dna in komore za umiritev vode.
Vodo zamenjamo zjutraj takoj po merjenju.
6.5.4. MERJENJE
6.5.4.1. MERJENJE IZHLAPEVANJA
Izhlapevanje merimo vsak dan ob 7. in 19. uri po SEČ-u. V ta namen postavimo mikrometer na zgornji rob komore za umiritev vode, tako da se kljuka popolnoma potopi v vodo. Vijak obračamo v smeri urinega kazalca toliko časa, da se vrh kljuke dotakne površine vode. Nato mikrometer dvignemo in odčitamo izmerjeno višino z natančnostjo desetinke milimetra. Postopek merjenja ponovimo še dvakrat in vpišemo v obrazec srednjo vrednost.
Razlika višine nivoja vode med dvema zaporednima meritvama predstavlja višino (debelino) sloja vode, ki je izhlapel, če v tem obdobju ni bilo padavin. Če so bile padavine, prištejemo izmerjeni razliki še količino padavin.
6.5.4.2. MERJENJE TEMPERATURE VODE
Temperaturo vode merimo trikrat na dan, ob 7., 14. in 21. uri po lokalnem času. Opazovalec se mora približati evaporimetru s severne strani in previdno spusti v vodo termometer s plavačem. Naprava plava v vodi okoli tri minute, nato odčitamo temperaturo, ne da bi prej divgnili termometer iz vode. Po merjenju dvignemo termometer s plavačem iz vode, ga narahlo otresemo, obrišemo in spravimo.
Kakor pri vseh termometrih, moramo tudi pri tem paziti, da gledamo pravokotno na živosrebrni stolpec.
6.5.4.3. MERJENJE SREDNJE HITROSTI VETRA
Z anemometrom, postavljenim poleg evaporimetra v višini 2 m, merimo pot vetra v kilometrih dvakrat na dan ob 7. in 19. uri. Razlika med dvema zaporednima meritvama predstavlja pot vetra v teku 12 ur. Če to število delimo s 43,2 in upoštevamo inštrumentalni popravek, dobimo srednjo hitrost vetra v dvanajstih urah, izraženo v m/s.
6.5.4.4. IZREDNA MERJENJA
Izredna merjenja opravimo pred in po čiščenju, dolivanju, odlivanju ali zamenjavi vode v evaporimetru. V primeru dolivanja ali zamenjave vode moramo poleg višine nivoja vode izmeriti tudi temperaturo površinskega sloja vode, v primeru čiščenja in odlivanja vode pa samo višino nivoja vode.
Rezultate in natančen čas vseh izrednih meritev vpišemo v obrazec pod rubriko “Pripombe”. Če je prišlo zaradi močnega dežja ali vetra do prelivanja vode iz evaporimetra, moramo to zapisati v rubriko “Pripombe”.
6.5.4.5. MERJENJE V HLADNEM OBDOBJU
Če je na površini vode v evaporimetru ledena skorja, ne merimo niti temperature niti višine nivoja vode. Za temperaturo zapaišemo 0ş C, višino nivoja vode izmerimo tekom dneva, čim opazimo, da se je led stopil.
V krajih, kjer so zime mile, merimo izhlapevanje celo leto, razen v terminih, ko je voda zmrznjena.
V drugih krajih merimo izhlapevanje od 1. aprila do 30. novembra. Evaporimeter postavimo in napolnimo z vodo že 30. marca, prvo merjenje pa mora biti 31. marca ob 7. uri. Zadnjikrat merimo izhlapevanje 30. novembra ob 7. uri. Če je v novembru daljše obdobje zmrzovanja, merimo izhlapevanje v vsakem terminu, kadar voda ni zmrznjena, ali pa med terminoma, če je v terminu na vodi ledena skorja.
Pot vetra moramo meriti redno, ne glede na to, ali je voda v evaporimetru zmrznjena ali ne.