Zračni pritisk spada med najvaženjše meteorološke elemente, zato ga merimo izredno pazljivo. Zračni pritisk merimo z živosrebrnim barometrom in aneroidom.
3.1.1. ENOTA PRITISKA
Zračni pritisk izražamo v milimetrih živosrebrnega stolpca (mm Hg) ali v hektopaskalih hPa (prej milibarih - mb). V sinoptiki izražamo pritisk v hPa (prej v mb), v klimatologiji pa v mm Hg. Odnos med mm Hg, hPa in mb je naslednji:
Zračni pritisk merimo z natančnostjo desetinke milimetra oziroma milibara. Mm Hg pretvarjamo v mb po tabelah, ki so na koncu knjige.
3.1.2. INŠTRUMENTI ZA MERJENJE ZRAČNEGA PRITISKA
Na glavnih meteoroloških postajah merimo zračni pritisk z živosrebrnimi barometri, le v posebnih primerih, ko ni potrebna velika natančnost, z aneroidi.
Za registriranje pritiska uporabljamo barografe, ki delajo na principu aneroidov.
3.1.3. ŽIVOSREBRNI BAROMETRI
Živosrebrnih barometrov je več vrst. Pri nas uporabljamo predvsem naslednje:
Barometri z nepremičnim rezervoarjem so izdelan itako, da kažejo pravo višino živosrebrnega stolpca, ne da bi bilo treba površino živega srebra v posodi uravnati na začetno višino. Višino živosrebrnega stolpca čitamo naposebni reducirani skali. Ti barometri imajo natančno določeno količino živega srebra in tudi najmanjša količina v posodi povzroči napako. V to vrsto barometrov spadajo postajni barometri izdelave Fuess, Lambrecht, Tonnel in SSSR, ki jih največ uporabljamo.
Barometri s pomičnim rezervoarjem, kot barometri tipa Fortin in Wild-Fuess, imajo normalno milimetrsko in milibarsko skalo. Po njih moramo površino živega srebra uravnati na začetno višino pri vsakem opazovanju. Količina živega srebra pri teh barometrih ni natančno določena.
Barometre tipa Fortin ne uporabljamo več v mreži postaj.
Normalne barometra uporabljamo za natančna merjenja pritiska in za kontrolo postajnih barometrov.
3.1.4. POSTAJNI ŽIVOSREBRNI BAROMETER
3.1.4.1. OPIS
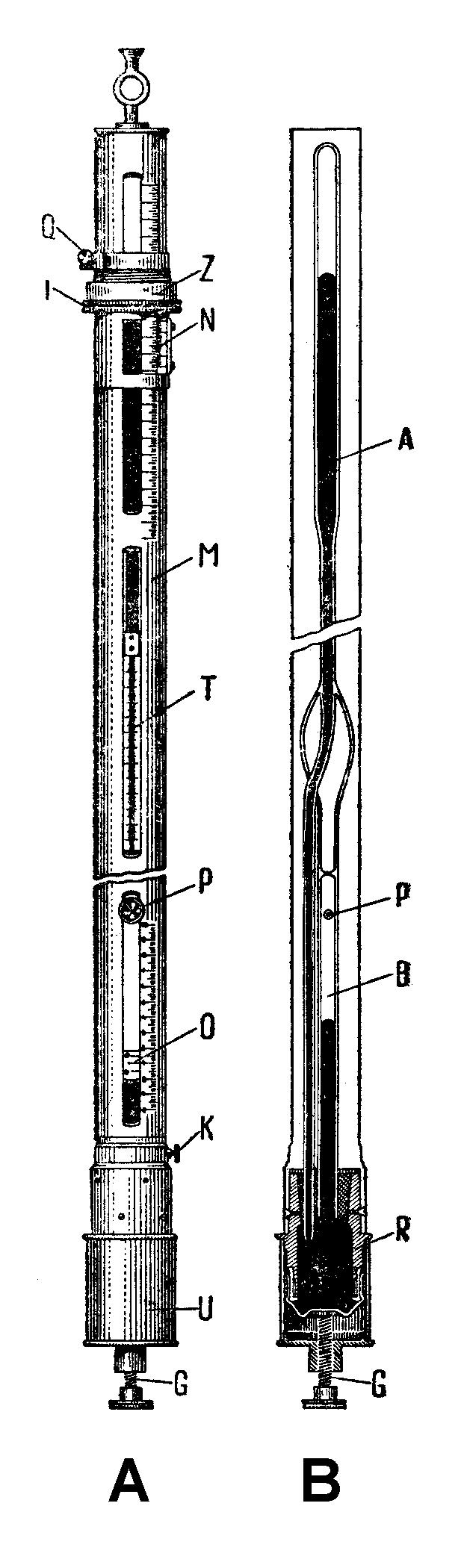
Živosrebrni barometri, ki jih uporabljamo na meteoroloških postajah, se imenujejo postajni barometr. Postajni barometri so sestavljeni iz naslednjih delov (sl. 10 in 11):

|
Slika 10.
A - postajni barometer
B - cev barometra
Večina barometrov ima tudi naslednji pribor (sl. 11):

Opisani barometer se imenuje Fuessov barometer in je prikazan kot primer splošnega tipa barometra. Ta opis velja tudi za barometre izdelave Lambrecht in SSSR. Barometri izdelave SSSR nimajo prenosnega vijaka.
3.1.4.2. LASTNOSTI POSTAJNEGA ŽIVOSREBRNEGA BAROMETRA
Živosrebrni barometer, ki se uporablja na meteorološki postaji, mora imeti naslednje lastnosti:
3.1.4.3. PRENOS POSTAJNEGA BAROMETRA
Vsak barometer ima svojo škatlo za prenos (sl. 12), v kateri je ključ in prenosni vijak.
Prenos barometra pripravimo na naslednji način:

Barometer moramo prenašati vedn ov obrnjenem položaju, z rezervoarjem navzgor. Prenos barometra moramo zaupati le pooblaščeni osebi. Pri potovanju z ladjo ali vlakom lahko škatlo z barometrom obesimo v neki kot, da se ne bi premikala in kjer je nihče ne bi poškodoval, s pogojem, da je poleg nje tudi oseba, ki smo ji zaupali prenos barometra. Pri vseh drugih prevozih (z vlakom, avtom, letalom itd.) držimo barometer v roki in samo spodnji del škatle naslonimo na nek mehak predmet na dnu vozila.
Barometer ne smemo oddati v garderobi ali nosačem.
Če prenesemo barometer v isti zgradbi ali iz zgradbe v sosednjo zgradbo, ga ni treba pritrditi v škadlo, niti namestiti prenosnega vijaka, temveč prenesemo obrnjenega. Pri vsakem prenosu barometra mora biti mali vijak (O) privit do konca.
3.1.4.4. NAMESTITEV BAROMETRA

Živosrebrni barometer namestimo v prostoru (po možnosti na severnem delu zgradbe), kjer ne kurimo, kjer se temperatura ne menja naglo, kjer ni tresljajev in kjer je dobra osvetlitev za čitanje barometra. Barometer mora biti v popolnoma navpičnem položaju, zaščiten od sončnega sevanja in od sevanja toplih teles v okolici. Barometer moramo zaščititi tudi pred vetrom, prepihom in dinamičnim pritiskom, ki nastane pri naglem odpiranju in zapiranju vrat. Vetrovni sunki lahko povzročijo nihanje višine živosrebrnega stolpca za 2 - 3 milibare. Barometer moramo zaščititi pred prahom in pred dotiki tujih oseb. Zaželeno je, da visi barometer v posebnem prostoru, kjer ni drugih predmetov, razen barometra in barografa.
Na meteoroloških postajah je barometer v posebni leseni omarici (sl.13), ki je narejena v obliki tristranične prizme. Hrbtno ploskev prizme pritidimo na zid, krilni ploskvi pa sta vrata omarice. Vratci sta na tečajih in se odpirata vstran, da je barometer čimbolje osvetljen. Na hrbtni strani omarice moramo vgraditi osvetlitev za opazovanje barometra. Pod vrhom srednje ploskve je pritrjena kljukica za obešanje barometra. Omarica mora biti vedno zaprta, razen pri opazovanju. Višino omarice določimo tako, da je višina meniskusa živega srebra okoli 155 cm.
V omarici ne smemo hraniti drugih predmetov.
Slika 13. Omarica za barometer
3.1.4.5. POSTAVLJANJE BAROMETRA
Izbiro prostora za barometer, njegovo postavitev in premeščanje opravljajo samo pooblaščene osebe.
Barometer postavimo na naslednji način:
3.1.4.6. OSVETLITEV BAROMETRA
Natančnost čitanja barometra je odvisna od osvetlitve meniska in skale. Da bibili pogoji osvetlenja vedn oenaki, uporabljamo umetno osvetlitev pri vsakem opazovanju podnevi in ponoči. Za meniskom naj bo svetilka z belo svetlobo pokrita z mlečnim steklom. Za to svetilko zadostuje žarnica žepne baterijske svetilke. Če ne moremo namestiti električne osvetlitve, mora biti za meniskom vedno bel papir. Primerna osvetlitev mora biti tudi za čitanje barometrske skale in termometra na barometru. Če barometer nima posebno izdelane svetilke za čitanje, uporabimo za ta namen žepno baterijsko svetilko ali žarnico manjše jakosti na vrvici.
Pri nameščanju vizirja na menisk živega srebra, skale ni treba osvetljevati.
3.1.5. NADMORSKA VIŠINA BAROMETRA
Ko smo barometer namestili, moramo poznati njegovo nadmorsko višino, t.j. višino sredine rezervoarja. Merjenje nadmorske višine opravijo organi goedetske službe. Napaka pri določanju nadmorske višine ne sme biti večja od 10 cm. Nadmorsko višino moramo napisati poleg barometra in ta podatek hraniti tudi v arhivu.
3.1.6. OPAZOVANJE BAROMETRA
|
Barometer opazujemo na naslednji način:
|
![]() |
| Slika 14. Uravnavanje nonija Povečaj sliko |
Pri tem je treba posebno paziti, da so spodnji rob nonija (zadnji rob prstana, na katerem
se nahaja nonij), vrh meniska in opazovalčevo oko v isti vodoravni smeri, ker bi lahko v
nasprotnem primeru nastala ena od napak, ki jih prikazuje sl. 14 (a in b). Da je nonij
dobro nameščen, vidimo, ča oko počasi pomaknemo više in niže in tako ugotovimo, da je
osvetljenost nad meniskom prekinjena tik nad samim vrhom živega srebra, levo in desno
pa vidimo osvetljena dela trikotnika, ki se dotikata nad vrhom živega srebra (slika 14c).
Posledice odčitavanja pod a, b in c vidimo na spodnjih slikah d, e in f. Pri nameščanju
nonija na menisk moramo paziti, da se barometer ne premakne iz navpičnega položaja.

Slika 15. Čitanje barometra
3.1.7. TONNELOV BAROMETER
3.1.8. WILD-FUESSOV NORMALNI BAROMETER
3.1.8.1. NAMEN
Wild-Fuessov normalni barometer spada v visok razred natančnosti (sl. 18). Uporabljamo ga za natančna merjenja zračnega pritiska na observtorijih, v laboratorijih in za kontrolo postajni živosrebrnih barometrov.
3.1.8.2. OPIS
Wild-Fuessov barometer se sestoji iz dveh posebnih steklenih cevi; ena (A) je daljša od druge (B) (sl. 18). Obe sta na enem koncu zaprte, drug konec pa imata v rezervoarju z živim srebrom. Daljša cev je napolnjena z živim srebrom in ima na vrhu vakuum; to je glavna barometrska cev. Ta cev je v spodnjem delu stanjšana, v sredini pa zvita in gre skozi razširjen vrh krajše cevi. Na vrhu je enako debela kakor krajša cev in se nadaljuje kot njen podaljšek.
Krajša cev je enako debela skoraj po vsej dolžini, le na vrhu je razširjena in skozi njo prehaja daljša cev. Krajša cev ima ob stalni cevasti podaljšek za zrak. Na tem podaljšku je železna cevčica z navoji, na katero navijamo pokrovček s kožno podložko. Ta pokrovček odpiramo samo v času opazovanja, v ostalem času pa je narahlo zaprt in ščiti živo srebro pred oksidacijo. S tem pokrovčkom moramo ravnati zelo pazljivo, da ne bi poškodovali podaljška ali steklene cev.
Obe cevi (sl. 18) sta nameščeni v zaščitno medeninasto cev (M), ki je na zunanji strani ponikljana. Zaščitna cev ima dve vzdolžni odprtini; ena je v višini meniska daljše cevi, druga pa nad posodo z živim srebrom. Vzdolž teh odprtin sta vrezani milimetrski skali. Na zgornji skali čitamo višino živosrebrnega stolpca, na spodnji pa uravnavamo ničelno točko.
V odprtini poleg spodnje skale je ploščica (O) s tremi zarezami. Spodnji rob te ploščice je sprednja vizirna črta za opazovanje meniskusa v krajši cevi. Zadnja vizirna črta je prstan, ki je pritrjen na ploščici (O). Spodnji rob te ploščice predstavlja ničelno točko barometra. Če barometer nima inštrumentalne napake, stoji rob ploščice na ničli skale. Če se pojavi inštrumentalna napaka, lahko ploščico dvignemo ali spustimo s koleščkom (K), kar opravijo izključno v strokovnem laboratoriju. Koleščka (K) na meteorološki postaji v nobenem primeru ne smemo premikati.
Nonij (N) je na posebni cevi (Z), ki je nataknjena na zaščitno cev. To cev lahko z roko premikamo, pri vrhu pa ima vijak (O) za pritrditev na zaželeni višini. Na tej cevi je tudi odprtina, skozi katero opazujemo meniskus in barometrsko skalo. Zgornji rob odprtine uporabljamo kot vizirno ravnino za vrh meniskusa. Na desni strani odprtine je pritrjena skala nonija (N). Njegova ničelna točka je točno v višini vizirne linije. Nad odprtino je vgrajen prstan (I), ki ga uporabljamo za pomik vizirja na vrh meniska. Cele milimetre na barometrski skali čitamo na ničelni liniji nonijeve razdelitve, desetinke ali stotinke pa prikazuje črta na noniju, ki se najbolj pokriva z eno od črtic na barometrski skali.
Slika 18. Wild-Fuessov
normalni barometer
A - zunanji izgled
B - presek
Spodnja in zgornja skala tvorita isto skalo brez srednjega dela. Razdelitev je milimetrska. Na dnu posode za živo srebro je vrečka iz jelenove kože. Pod to vrečko je vijak (6), s katerim dovedemo živo srebro do spodnje vizirne linije (ničelne točke).
Zaščitna cev (M) je pritrjena na posodo s tremi vijaki. Spodnji del posode je zaščiten z medeninastim cilindrom (U), ki ima na dnu vijak (G).
Na sredini spodnje strani barometrske cevi je odprtina, v kteri je termometer (T). Za obešanje tega barometra uporabljamo poseben obroček s konusno glavo, ki je pritrjen na vrhu zaščitne cevi. Ta obroček pride v krožni prerez posebnega nosilca, ki ga privijemo v desko omarice. Poseben prstan s tremi vijaki (sl. 11) drži barometer v navpičnem položaju.
Pogoji namestitve in osvetlitve so isti kot pri drugih barometrih.
Prednosti Wild-Fuessovega barometra pred drugimi barometri je v tem, da ga lahko preverjamo samega s seboj. S pomikanjem ničelne točke lahko kontroliramo vakuum nad živim srebrom.
3.1.8.3. MERJENJE Z WILD-FUESSOVIM NORMALNIM BAROMETROM
Z Wild-Fuessovim normalnim barometrom merimo na naslednji način:
Za razliko od postajnega barometra pri Wild-Fuessovem barometru niso dovoljeni udarci pri opazovanju.
Višino živosrebrnega stolpca, ki smo jo odčitali enposredno na barometru, imenujemo barometrsko stanje, ki pa ga ne moremo uporabiti, dokler ne upoštevamo odgovarjajočih korekcij in redukcij, da bi dobili pravi zračni pritisk.
Imamo naslednji korekciji in redukcijo:
Ko upoštevamo korekciji in redukcijo, dobimo zračni pritisk na postaji v mm Hg ali v mb.
3.2.1. INŠTRUMENTALNA KOREKCIJA
Inštrumentalno korekcijo za živosrebrni barometer lahko določimo s kontrolnim barometrom v laboratoriju meteorološke službe in na postaji. Ko smo določili inštrumentalno korekcijo, izdamo “korekcijski list” (certifikat), v katerem je označena velikost inštrumentalne korekcije s predznakom (+ ali -).
Ker se velikost inštrumentalne korekcije s časom spreminja, moramo barometer na postaji občasno preverjati s kontrolnim barometrom in upoštevati novo korekcijo. Barometer na postaji kontrolira pooblaščen strokovnjak po posebnih predpisih.
3.2.2. KOREKCIJA BAROMETRSKEGA STANJA ZARADI VPLIVA ZEMELJSKE TEŽE
Zemeljska teža vpliva na višino žčivosrebrnega stolpca, vendar njen vpliv ni enak na raznih geografskih širinah in nadmorskih višinah. Zato moramo upoštevati dve korekciji zaradi teže: korekcijo zaradi geografske širine in korekcijo zaradi nadmorske višine.
Ti dve korekciji seštejemo in dobimo eno vrednost, ki predstavlja korekcijo barometrskega stanja zaradi zemeljske teže. Meteorološka služba gaskupno z inštrumentalno korekcijo posreduje meteorološki postaji.
3.2.3. REDUKCIJA BAROMETRSKEGA STANJA NA 0°C
Višina živosrebrnega stolpca ni odvisna samo od zračnega pritiska, temveč tudi od temperature živega srebra. Pri enakem zračnem pritisku, vendar pri različnih temperaturah, je višina živosrebrnega stolpca različna. Da lahko meritve vseh barometrov med seboj izenačimo, moramo odčitane višine živosrebrnega stolpca preračunati na višine pri temperaturi 0°C.
Za redukcijo barometra na 0°C uporabljamo popravke po tabelah na koncu knjige za različne barometre.
Pri nas uporabljamo nadlednje tabele:
V tabelah so korekcije za vsako temperaturno stopinjo (v obsegu od 0°C do 40°C). Korekcija za temperaturo in pritisk je v tabelah na preseku teh dveh količin. Vrednost korekcije odštejemo od barometrskega stanja, če je temperatura barometra višja od 0°C in prištejemo, če je temperatura manjša od 0°C.
Pri določanju temperaturne korekcije moramo upoštevati naslednje:
Postopek redukcije barometrskega stanja na 0°C je naslednji:
Primer 1:
................
10,6°C................
-0,2°C| prava temperatura barometra | 10,4°C |
..............................
743,2 mm..........
0,3 mm| pravo barometrsko stanje | 742,9 mm |
| 740,0 mm |
..........................
742,9 mm..................
-1,2 mm| pritisk reduciran na 0°C na postaji | 742,7 mm |
Primer 2:
.............
-3,8°C
..
766,2 mm
..................
+0,5 mm| pritisk reduciran na 0°C | 766,7 mm |
3.2.4. REDUKCIJA PRITISKA NA MORSKI NIVO
Ker pada v atmosferi pritisk z višino, ne moremo primerjati med seboj pritiska s postaj na različnih višinah, dokler jih ne reduciramo na isto višino. Za meteorološke in druge potrebe moramo pritisk reducirati na srednji morski nivo. Za to uporabljamo posebno tabelo. Vrednost iz te tabele dodamo vrednosti pritiska, reduciranega na 0°C.
Za vsako meteorološko postajo so izdelane posebne tabele za redukcijo pritiska na morski nivo za višino, kjer se nahaja rezervoar za živo srebro.
Vse postaje morajo reducirati pritisk na morski nivo. Le postaje, ki zaradi velike nadmrske višine ne morejo pritiska reducirati na morski nivo, vpisujejo v svojih poročilih višino ene od standardnih izobarskih površin (850,700 mb) v geopotencialnih metrih. Redukcijo pritiska na morski nivo ali izračun v geopotencialnih metrih se opravlja po navodilih in tabelah, ki jih postaja dobi od meteorološke službe.
3.3.1. NEPOPOLN VAKUUM V BAROMETSKI CEVI
Stanje vakuuma barometra na postaji se lahko spremeni, ker zmanjša natančnost barometra. Zato je od časa do časa potrebno, da preverimo stanje vakuuma v barometrski cevi. To preverimo tako, da nagnemo barometer in poslušamo, če se sliši oster kovinski zvok pri udarcu živega srebra v vrh cevi.
Če je zvok zamolkel ali če opazimo zračni mehur v cevi nad živim srebrom, je to dokaz, da vakuum ni popoln in o tem obvestimo Hidrometeorološki zavod. Tako kontrolo lahko opravijo samo pooblaščeni strokovnjaki.
3.3.2. VPLIV VETRA
Veter lahko pogosto povzroči dinamične spremembe pritiska v prostoru, v katerem je barometer nameščen. Pri močnem in sunkovitem vetru so lahko te spremembe tudi 2 - 3 mb. V takih preimerih, če ni posebnih predpisov, barometra ne čitamo, temveč zapišemo opombo v Dnevniku opazovanja.
3.3.3. NEZANESLJIVOST TEMPERATURE BAROMETRA
Termometer na barometru mora kazati srednjo temperaturo barometra kot celote, vendar ni vedno tako. V sobi, kjer je nameščen barometer, lahko nastane močan vertikalni temperaturni gradient, tako da je lahko razlika temperature zgornjega in spodnjega dela barometra acelo preko 2°C. Z boljšo namestitvijo barometra se lahko tej napaki izognemo.
Nezanesljivost temperature lahko nastane tudi zaradi napake na termometru. Korekcije za termometer moramo vedno upoštevati, termometer pa od časa do časa kontrolirati s suhim termometrom (npr. vsake tri mesece).
3.3.4. ODMIK OD NAVPIČNEGA POLOŽAJA
Tudi najmanjši odmik barometra od navpičenga položaja povzroči napačno določanje barometrskega stanja. Barometer je v navpičnem položaju takrat, kadar prosto visi na kljukici. Na to moramo paziti predvsem pri tistih barometrih, ki imajo držaj z vijaki za fiksiranje barometra v navpičnem položaju. Kjer ni tega držaja, mora opazovalec paziti, da ne premakne barometra iz navpičnega položaja.
3.4.1. OPIS IN NAMEN ANEROIDOV
Glavni del aneroidov je zaprta doza iz valovite pločevine (vidijeva doza). Iz nje je zrak popolnoma ali delno izsesan, v njej pa je nameščen močan sistem vzmeti, ki se upirajo sili zrčanega pritiska in preprečujejo, da bi se doza sploščila. V novejšem času izdelujejo te doze iz zlitine bakra in berilija, ki so dovolj odporne, da sistem vzmeti ni potreben.
Spremembe pritiska povzročijo pomik valovite površine aneroidne doze, ki se prek sistema ročic prenaša na kazalec na barometrski skali.
Na sl. 19 vidimo notranji, na sl. 20 pa zunanji izgled aneroida. Cel aneroid je vstavljen v okroglo medeninasto ohišje s steklenim pokrovčkom. Pod steklom je krožna milimetrska ali milibarska skala, na kateri kazalec kaže zračni pritisk.(V trgovinah prodajajo aneroide z napisi “lepo”, “spremenljivo”, “deževno”, itd. Ker vreme ni odvisno samo od pritiska, nimajo ti napisi nobenega pomena.)
Zaradi pomanjkanja živosrebrnih barometrov in tudi zaradi lažjega merjenja in prenašanja, aneroide pogosto uporabljamo, posebno na ladjah in pri terenskih delih ali kot pomožni inštrument na meteoroloških postajah. Aneroide uporabljamo tudi za merjenje višine v planinah, letalih, balonih, itd.
![]() |
![]() |
Slika 19. Shema aneroida |
Slika 20. Aneroid |
3.4.2. LASTNOSTI ANEROIDOV
Da bi aneroid odgovarjal svojemu namenu, mora imeti naslednje lastnosti:
3.4.3. NAMESTITEV, VZDRŽEVANJE IN OPAZOVANJE
Aneroid hranimo v zaprti leseni škatli, ki je obložena s tkanino in se odpira samo pri opazovanju. Nameščen mora biti vedno na istem mestu, kjer ni tresljajev. Splošni pogoji za namestitev živosrebrnega barometra (3.1.4.4.) veljajo tudi za aneroid. Aneroid čitamo v istem položaju (vodoravnem ali pokončnem), kakor je bil umerjen, kar mora biti poudarjeno v listini aneroida. Pred čitanjem narahlo udarimo s prstom po steklu, da bi se kazalec premaknil na pravo mesto. Pri čitanju moramo gledati pravokotno na vrh kazalca, da preprečimo paralakso, ki lahko nastane zato, ker je kazalec odmaknjen od skale za nekaj mm. Vrednost na skali ocenimo z natančnostjo 0,1 mm Hg ali mb.
3.4.4. KOREKCIJE ANEROIDOV
Da bi bil aneroid čim natančnejši, ga moramo od časa do časa primerjati z živosrebrnim barometrom in določiti inštrumentalno korekcijo. Merjenje aneroida ni odvisno od zemeljske teže.
Aneroid je uravnan tako, da prikazuje pritisk na postaji. Ta pritisk lahko po potrebi reduciramo tudi na morski nivo na isti način in po isti tabeli, ki velja za živosrebrne barometre.
Na daljah in postajah na nizkih nadmorskih višinah lahko aneroid uravnamo tako, da prikazuje pritisk, reduciran na morski nivo.
3.5.1. OPIS IN LASTNOSTI
Barograf je inštrument, ki neprekinjeno zapisuje stanje in spremembe zračnega pritiska. Od barografa ne zahtevamo, da meri pritisk popolnoma točno. Če je pravilno temperaturno kompenziran in nima mehanskih pomanjkljivosti, zadovoljivo prikazuje spremembe pritiska in urne vrdnosti.
Sprejemnik barografa je sestavljen iz stolpca Vidijevih aneroidnih doz (sl. 21), ki so nameščene vertikalno in med seboj povezane. Najnižja doza je pritrjena z bimetalno vzmetjo na podstavek barografa. Ta vzmet je za kompenzacijo temperaturnih vplivov in uravnavnaje peresa. Drugi konec vzmeti je pritrjen na sistem prenosnih ročic, ki je povzean s peresom. Pri spremembah pritiska se stolpec aneroidnih doz dviga ali spušča. Ti premiki se prenašajo na pero, ki na traku valja neprekinjeno zapisuje stanje pritiska. Za ostale dele barografa velja vse, kar je zapisano splošno o registrirnih inštrumentih v pogavju (2.2.). O lastnostnih, namestitvi in vzdrževanju aneroidov velja tudi za barograf, ki je aneroidni inštrument.
Poled kompenzacije z bimetalno vzmetjo na podstavku barografa je večina barografov kompenziranih pred temperaturnimi spremembami še z eno manjšo bimetalno vzmetjo, ki je vgrajena v sistem prenosnih ročic (sl. 22. T) ali pa z določeno količino zraka v Vidijevih dozah.
Pri nas uporabljamo sedemdnevne in enodnevne barografe (sl. 22), ki jih je več vrst, vendar se med seboj bistveno ne razlikujejo ne po sestavnih delih, ne po načinu ravnanja in vzdrževanja. Njihova skala je navadno v obsegu v mejah od 705 - 785 milimetrov, kar je primerno za naše kraje v nižinskih predelih. Za višje, planinske predele, moramo barograf predhodno prirediti in uporabiti trakove za nižji pritisk.

3.5.2. URAVNAVANJE
Barograf mora meriti pritisk kraja, kjer se nahaja. Kontroliramo ga z živosrebrnim barometrom. Pritisk barografa mora čimbolj odgovarjati pritisku živosrebrnega barometra, reduciranega na 0°C, z že upoštevano inštrumentalno korekcijo in korekcijo zaradi zemeljske teže.
Višino peresa uravnavamo z vijakom D na sl. 22. Z njim znižujemo in zvišujemo
bimetalno vzmet, ki nsoi aneroidne doze. Pri nekaterih barografih je ta vijak na drugi
strani aneroidnih doz ali v luknji na spodnji strani podstavka. Glede uravnavanja
pl
Barograf ne uravnavamo prej, dokler napaka ni večja od 2 mm Hg ali 3 mb. S
prepogostim uravnavanjem lahko pokvarimo inštrument.
3.5.3. NAMESTITEV BAROGRAFA
Barograf namestimo pod istimi pogoji kakor živossrebrni barometer, da preprečimo
škodljivi vpliv temperature, torej v istem prostoru, kjer ni večjih sprememb temperature.
Barograf moramo zaščititi pred sončnim sevanjem, ker se z naglim ogrevanjem
občutljivih delov zmanjša vpliv kompenzacije pred temperaturnimi spremembami.
Barograf mora biti na polici, pritrjeni na zid, nikakor pa ne na mizi ali na drugih
predmetih, ki stojijo na tleh in kjer je nevarnost rresljajev. Barograf moramo podložiti s
penasto gumo. Pogoji čitanja barografa morajo biti dobri podnevi in ponoči. Po potrebi
moramo namestiti tudi električno osvetlitev.
Pri prenosu barografa na večje razdalje moramo Vidijeve doze ločiti od sistema
prenosnih ročic in držaj privezati z vrvico za palčko za odmikanje peresa.
3.5.4. ČITANJE BAROGRAFA
Poleg določanja urnih vrednosti zračnega pritiska z barograma, določamo na glavnih
meteoroloških postajah tudi spremembe pritiska (tendence) v zadnih treh urah od ure
opazovanja. Poleg velikosti te spremembe določamo tudi njeno karakteristiko.
natančenjša navodila o tendenci pritiska so v knjigi “Šifrirani mednarodni meteorološki
ključi”.
Barograf čitamo, ne da bi se ga dotaknili ali da bi pero odmaknili. Ohišje barografa
odpremo, ko udarjamo markice in za različne potrebe po čitanju.
3.5.5. KOREKCIJE BAROGRAFSKIH VREDNOSTI
Lastnosti barografo se v daljšem obdobju spremenijo, ker se spremeni elastičnost
Vidijevih doz in trenje v prenosnem sistemu ter med peresom in takom. Vrednosti
barografa moramo zato primerjati z vrednostmi živosrebrnega barometra. Za časovne
termine ob 7., 14. in 21. uri določimo korekcije, ki jih uporabljamo pri obdelavi
diagrama.
Pred uporabo barografa kontroliramo glede vpliva temeprature v strokovnem laboratoriju.
Pri določanju tendence ne upoštevamo nobenih popravkov.
Na meteoroloških postajah redno merijo temperaturo zraka v določenih časovni terminih,
po potrebi pa tudi temperaturo zemlje in vode. Enota za temperaturo je stopinja Celzija (ş
C). Osnovne točke Celzijeve skale so 0°C in 100°C. 0°C je temperatura, pri kateri voda
zmrzne, 100°C pa je vrelišče vode pri normalnem zračnem pritisku (760 mm Hg).
Temperatura nad 0°C je pozitivna in se lahko označi s “+” (plus) pred številom vrednosti
temperature. Temperatura pod 0°C je negativna in se označuje z “-“ (minus) pred
številom.
Temperaturo merimo s termometri z natančnostjo ene desetinke stopinje.
Za meteorološka merjenja temperature zraka uporabljamo termometre, ki se napolnjeni z
živim srebrom ali alkoholom. Živosrebrne termometre ne moremo uporabljati pod -36°C,
ker živo srebro zmrzne pri temperaturi okoli -39°C. Za temperature pod -36°C
uporabljamo alkoholne (minimalne) termometre.
V naši postajni mreži uporabljamo naslednje termometre za merjenje temperature zraka:
Na začetek kazala
Na začetek poglavja
Na začetek kazala
Na začetek poglavja
Na začetek kazala
Na začetek poglavja
Na začetek kazala
4. Merjenje temperature
4.1. SPLOŠNO O MERJENJU TEMPERATURE
Na začetek kazala
Na začetek poglavja
4.2. TERMOMETRI ZA MERJENJE TEMPERATURE ZRAKA
4.2.1. NAVADNI ŽIVOSREBRNI TERMOMETER
4.2.1.1. OPIS
S tem termometrom (sl. 24) merimo temperatura zraka v določenih meteoroloških erminih. Na postajah, kjer uporabljamo psihrometer, je to suhi termometer. Po tem osnovnem termometru so uravnani vsi termometri na postaji.
Navadni termometer ima naslednje dele:
|
Rezervoar (R) je razširjen konec kapilarne cevi (K) in ima lahko okroglo, valjasto ali hruškasto obliko. Stene razervoarja so zelo tanke zato, da se vplivi zunanjih sprememb temeprature hitreje prenašajo na živo srebro. Živo srebro se širi ali krči v kapilarni cevi (K) sorazmerno s temperaturnimi spremembami. Vrh živega srebra (meniskus) prikazuje temperaturo na temperaturni skali. Na vrhu je kapilarna cev nekoliko razširjena (P) in v njej se živo srebro zadrži v primeru, če se termometer segreje bolj kot odgovarja njegovi skali.
Skala termometra (L) je vgravirana na ravnilu iz mlečnega stekla, ki se na enem koncu naslanja na stekleno sedlo, na drugem pa prehaja v kovinski ali ebontni valj, v katerem se opira v vzmet.
Zaščitna cev (C) ščiti kapilarno cev. Njen sprednji konec se spaja z rezervoarjem, zgornji pa je zaprt s kovinsko kapo (T). Obseg merjenja skale je okoli -35°C do +45°C, kar odgovarja toplotnim pogojem v naših krajih. Skala je razdeljena na cele stopinje in petine stopinj (1/5 ali 0.2°C). Vsaka peta stopinja med deseticami je označena s puščico (npr.: +5, +15, ... -5 itd.). Na vsakih deset stopinj je skala označena s številom (npr.: 0, +10, +20, -10 itd.). Izhodiščna točka skale pri čitanju je 0°C, od katere čitamo navzgor pozitivne temperature, navzdol pa negitivne temperature.
pri Assmanovem aspiracijskem psihrometru (glej 5.2.4.) sta termometra nekoliko krajša
in tanjša ter imata valjasti rezervoar.
Slika 24. Navadni termometer
4.2.1.2. ČITANJE
Pri čitanju termometra se moramo ravnati po teh predpisih:


4.2.1.3. NAPAKE, OKVARE IN POPRAVILA TERMOMETROV
Poleg neizbežnih tovarniških napak, ki jih lahko imajo posamezni termometri, lahko z uporabo nastane cela vrsta napak (okvar), ki vplivajo na natančnost termometra. Pri živosrebrnih termometrih se najbolj pogosto srečamo z naslednjimi napakami (okvarami):
4.2.2. MAKSIMALNI TERMOMETER
4.2.2.1. OPIS
Z maksimalnim termometrom (sl. 27) določimo najvišje (maksimalne) temperature v nekem časovnem intervalu, navadno v 24-ih urah. Napolnjen je z živim srebrom, od normalnega termometra pa se razlikuje v tem, da im v rezervoarju pritrjeno stekleno palčico, ki sega v kapilaro nad rezervoarjem in je s tem prehod v kapilaro zožen (T) (sl. 28). Pri porastu temperature živo srebro prehaja skozi zožen prehod (T) v kapilaro. Pri padcu temperature ostane živosrebrna nit v cevi v istem položaju, kot je bila pri najvišji temperaturi, ker se sama ne more vrniti skozi p.ji prehod nazaj v rezervoar in nam tako prikazuje maksimalno temperaturo.
Da se živo srebro zadrži v kapilari, mora biti maksimalni termometer v skoraj vodoravnem položaju tako, da je rezervoar le nekoliko nižje od vrha termometra.

4.2.2.2. ČITANJE
Skala maksimalnega termometra je razdeljena na pol stopinje, lahko pa im isto razdelitev kot navadni termometer. Pri čitanju moramo gledati pravokotno na vrh živega srebra. Desetinke stopinj ocenimo vizualno. Maksimalni termometer mora kazati višjo ali vsaj enako vrednost kot suhi termometer.
Na glavnih meteoroloških postajah, kjer opazujemo za sinoptične potrebe, čitamo maksimalno temperaturo ob 7. in ob 19. uri po SEČ-u. V Dnevnik opazovanj beležimo odčitane vrednosti v odgovarjajočih terminih. Za sinoptične potrebe uporabljamo vrednosti od 19. ure po SEČ-u, za klimatološke potrebe pa vrednosti v treh terminih opazovanj (ob 7. in 19. uri po SEČ-u in ob 21. uri po lokalnem času).
Na glavnih meteoroloških postajah, ki nimajo popolnega programa opazovanj, čitamo maksimalne temperature izključno ob 21. uri po lokalnem času.
4.2.2.3. STRESANJE
Po čitanju ob 7. uri po SEČ-u in ob 21. uri po lokalnem času moramo žvio srebro iz kapilare prisilno vrniti v rezervoar. Termometer vzamemo s stojala in stresamo na naslednji način: z desno roko primemo termometer v sredini tako, da je rezervoar spodaj in močno nekajkrat zamahnemo, dokler se živosrebrna nit ne zniža do vrednosti, ki jo v tem trenutku kaže suhi termometer. Pri stresanju moramo paziti, da seka zrak ožjo stran termometra in na širšo, da ne pride do preloma kapilare ali skale. Pazti moramo tudi, da pri zamahu ne udarimo s termometrom ob neki predmet ali v obleko. Zamah pričnemo z vzdignjeno roko za okoli 45°C nad horizontom in jo zamahnemo do 30°C pod horizontom. Zamahovati moramo močno, na začetku in na koncu pa zmerno.
Maksimalni termometer stresamo na glavnih meteoroloških postajah, ki nimajo popolnega programa opazovanj, po čitanju ob 21. uri po laokalnem času.
Po končanem stresanju postavimo maksimalni termometer nazaj na stojalo, tako da je rezervoar nekoliko nižji od vrha atermometra. Najprej postavimo rezervoar, šele nato drugo stran termometra.
4.2.2.4. OKVARE
Maksimalni termometri imajo lahko poleg napak in okvar, navedenih pri navadnih termometrih, tudi naslednje motnje:
Včasih nastanejo v živosrebrni niti mali, komaj opazni mehurčki zraka, ki lahko povrzočijo prekinitev živega srebra in jih skušamo odstraniti s stresanjem. Če nam to ne uspe, zahtevamo nov termometer.
Prekinitev živosrebrnih niti pogosto odstranimo s stresanjem. Prekinitev, ki je stalno na ožjem delu kapilare, ne smemo vzeti kot okvaro.
4.2.3. MINIMALNI TERMOMETER
4.2.3.1. OPIS
Minimalni termometer uporabljamo za merjenje najnižje (minimalne) temperature v nekem časivnem intervalu, za 12 ali 24 ur (sl. 27). Navadno je napolnjen s čistim brezbarvnim alkoholom. Njegov rezervoar je navadno v obliki vilic, da ima čimvečjo površino, ker se alkohol počasneje prilagaja zunanji temperaturi kot živo srebro. Kapilara je znatno širša v primerjavi z drugimi termometri. V alkoholu v kapilari je majhen plavač (kovinski ali stekleni), ki ima na obeh koncih bunkice (sl. 29). Razdelitev na stopinje je enaka kakor pri maksimalnem termometru.
Minimalni termometer je nameščen v meteorološki hišici v vodoravnem položaju.
Termometer deluje na naslednji način: pri padcu temperature zraka se alkohol skrči, meniskus alkohola se dotakne desnega konca plavača in ga povleče k nižjim temperaturam. Ko temperatura poraste, se alkohol širi, plavač pa ostane na mestu in s svojim desnim koncem označuje na skali najnižje stanje temperature. Meniskus alkohola prikazuje vedno trenutno stanje temperature. Če je termometer dober, plavač ne sme ostati izven alkohola.
4.2.3.2. ČITANJE IN NAMESTITEV
Minimalni termometer čitamo ob 7. in 19. uri po SEČ-u in ob 21. uri po lokalnem času.
V dnevnik opazovanj zapisujemo odčitane vrednosti v odgovarjajočih terminih. Za sinoptične potrebe dajemo vrednosti odčitane ob 7. uri po SEČ-u, za klimatološke potrebe pa uporabljamo vrednosti v vseh treh terminih. Na glavnih meteoroloških postajah, ki nimajo popolnega programa opazovanj, opravljamo čitanje in nameščanje minimalnega termometra izključno ob 21. uri po lokalnem času. Minimalno temperaturo prikazuje desni konec plavača (sl. 29), to je tisti konec, ki je na nasprotni strani rezervoarja. Pri čitanju termometra moramo gledati pravokotno na vrh plavača. Termometer čitamo z natančnostjo desetinke stopinje (0°C), kakor čitamo tudi maksimalni termometer. Desetinke ocenjujemo vizualno.
Minimalni termometer pripravimo za meritev tako, da postavimo rezervoar pokonci, dokler se ne spusti do konca alkohola. Če se plavač pri spustu zatakne, lahko udarimo s prstom po termometru ob plavaču. Pri postavljanju termometra nazaj na stojalo držimo desni konec termometra nižje. Po namestitvi moramo preveriti, če plavač ni odmaknjen od meniskusa, in če je, ponovimo namestitev.
Ležišče termometra mora biti vodoravno.
Če je termometer pravilno postavljen in nima inštrumentalne napake, mora v trenutku namestitve desni konec plavača kazati na skali enako ali približno enako vrednost kakor suhi termometer.
4.2.3.3. OKVARE IN KAKO JIH ODSTRANIMO
Od vseh termometrov je minimalni najobčutljivejši za zunanje vplive. Zato ga moramo večkrat pregledati. Najpogosteje nastajajo naslednje okvare:
Okvare pod 1, 2 in 3 odpravimo s stresanjem termometra kot pri maksimalnem temometru. Z večkratnimi zamahi lahko vrnemo plavač ali kapljice nazaj v alkohol.
Pri stresanju pustimo termometer 2 do 3 ure v pokončnem položaju z rezervoarjem navzdol, da ves alkohol s sten kapilare preide v alkoholni stolpec.
Če s stresanjem termometra ne moremo popraviti, ali če se prekinitve alkoholnega stolpca večkrat pojavijo, moramo zahtevati nov termometer.
Motnje pod 4. preperčimo tako, da odstranimo njihove vzroke.
Druge napake, ki nastanejo pri minimalnih termometrih, so enake kot pri živosrebrnih termometrih in jih tudi odstranimo na enak način (4.2.1.3.). O vsaki motnji pri minimalnem termometru moramo zapistati opombo v Dnevnik opazovanj in v Mesečno poročilo.
4.2.4. MINIMALNI TERMOMETER PRI TLEH
4.2.4.1. NAMEN
Minimalni termometer pri tleh uporabljamo za merjenje najnižje temperature zraka v pretekli noči na 5 cm pri tleh. Če so tla pokrita s snežno dejo, potem ta termometer uporabljamo za merjenje najnižje temperature zraka v višini 5 cm od površine snega.
To temperaturo merimo na vseh glavnih meteooloških postajah in tudi na določenem številu navadnih meteoroloških postaj, ki so reprezentativne v meteorološkem smislu za važnejše kmetijske površine.
4.2.4.2. NAMESTITEV IN ČITANJE
Minimalni termometer moramo namestiti južno od meteorološke hišice na odprtem in po možnosti travnatem prostoru. Če ni trave, je ni treba posebno gojiti. Če je trava, jo je treba redno rezati na višini, kjer se dotika z vrhovi rezervoarja termometra.
Oddaljenost minimalnega termometra od meteorološke hišice mora biti najmanj dvakrat večja od njene višine, da bi bilo sevanje zemlje v vseh smereh brez motenj. Oddaljenost tudi ne sme biti prevelika zaradi primerjave obeh minimalnih temperatur.
Na izbranem metu namestimo termometer na posebnem nosilcu, ki je glede na pogoje različne oblike. Termometer moramo namestiti v vodoravnem položaju. Nosilec je pritrjen na kovinski polici (dolžine 1 m) in ga lahko premikamo in pritrdimo v zijakom tako, da lahko merimo temperaturo 5 cm nad snegom, ne glede na višino snežne odeje (sl. 30).
V vseh letnih časih namestimo minimalni termoemter na nisilec po haodu sonca, najkasneje pri opazovanju ob 21. uri, odstranimo pa ga zjutraj pri opazovanju ob 7. uri in spravimo z rezervoarjem navzdol v meteorološki hišici v poseben tulec.
Minimalni termometer pri tleh čitamo zjutraj pri opazovanju ob 7. uri po SEČ-u. Pogledati moramo tudi, če je moker, prekrit z roso, slano, ivjem ali snegom. V teh primerih moramo vpisati v Dnevnik opazovanj, s čim je bil termometer prekrit.
Ta termometer namestimo na nosilec zvečer p o sončnem zahodu, a najkasneje pri opazovanju ob 21. uri. Ob nameščanju ne smemo pozabiti premakniti plavača do vrha alkoholnega stolpca.
Postopek pri čitanju minimalnega termometra pri tleh in vzdrževanje je enako kakor pri minimalnem termometru v meteorološki hišici.
4.2.4.3. POSTOPEK MERJENJA MINIMALNE TEMPERATURE PRI SNEGU IN SLANI
Če je minimalni termometer pri tleh zjutraj pokrit s snegom ali slano, moramo sneg ali slano pred začetkom opazovanja odstraniti tako, da se položaj termometra ne spremeni.
Višino termometra nad snežno odejo zapisujemo v centimetrih. Če je debelina snežne odeje večja od 5 cm, postavimo termometer vodoravno 5 cm nad površino snega. Pri večjih debelinah snežne odeje zabodemo nosilec v sneg.
Če zvečer pada sneg in predvidevamo, da se bo snežna odeja povečala, postavimo termometer 10 cm nad površino snežne odeje in ne v višini 5 cm.
4.2.4.4. KONTROLA NATANČNOSTI MINIMALNEGA TERMOMETRA PRI TLEH
Natančnost minimalnega termometra pri tleh kontroliramo s primerjanjem z drugimi termometri, tako kakor je opisano v poglavju 4.5.2.
4.2.5. TERMOGRAF
4.2.5.1. OPIS
Termograf je inštrument, ki neprekinjeno zapisuje temperaturo zraka. Njegov merilni del je najpogosteje bimetalni prstan (sl. 31), nameščen na desni strani inštrumenta. Pri nekaterih termografih je bimetal nameščen v notranjosti inštrumenta, ki ima odprtine za ventilacijo.
Bimetal je z enim koncem pritrjen na steno inštrumenta, drugi konec pa se krči in razteza v odvisnosti od temperature. Ti premiki se prenašajo s sistemom prenosnih ročic na pero, ki na traku (termogramu) zapisuje temperaturo zraka.
Valj z urnim mehanizmom pri postajnem termografu je lahko sedemdnevni in enodnevni. Termograf je prikazan na sl. 32.
Drugi del termografa so opisani v poglavju II.
Termograf je manj občutljiv na temperaturo zraka od termometra, zato ne moremo pričakovati, da se bosta popolnoma skladala.

4.2.5.2. NAMESTITEV IN VZDRŽEVANJE
Termograf je nameščen v meteorološki hišici na levi polovici, tako da je merilni del blizu sredine hišice.
Termograf moramo večkrat očistiti od prahu in umazanije z mehko suho krpo, ne da bi premikali bimetal in pri odmaknjenem peresu od treaku. Po čiščenju pustimo termograf pri miru okoli 10 minut in šele nato nastavimo pero na termografu.
4.2.5.3. URAVNAVANJE
Termograf primerjamo s suhim termometrom in sicer takrat, ko se temperatura ne spreminja hitro, npr. pri oblačnem vremenu. Ko nastane med termografom in suhim termometrom razlika večja od 2°C, termograf uravnavamo z vijakom, ki je na mestu, kjer je bimetal vezan na sistem prenosnih ročic, ali na mestu, kjer je merilni del pritrjen na steno inštrumenta.
Pri dobrem termografu se temperatura ne sme razlikovati več od 1°C od temperature, ki jo prikazuje suhi termometer.
Če se pero premakne pri višji ali nižji temperaturi izven območja termograma, ga s pomočjo vijaka, ki je namenjen za uravnavanje termografa, premaknemo za 10°C ali 15ş C k sredini traku, ki ga označimo z drugimi številkami. To zapišemo v Dnevnik opazovanj, da lahko pri obdelavi termograma upoštevamo. Ko premik peresa ni več potreben, ga premaknemo nazaj na prejšnje mesto. Pri pomikanju peresa moramo upoštevati tudi popravek, ker pero težko namestimo točno za deset stopinj.
Pri prenosu termografa na večjo razdaljo ga moramo zaščititi pred poškodbami, držaj peresa pa privezati na ročico za odmikanje peresa.
4.2.6. MERJENJE TEMPERATURE ZRAKA
4.2.6.1. SPLOŠNI POGOJI MERJENJA
Temperaturo zraka merimo na odprtem prostoru na višini 2 m nad površino zemlje, v meteorološki hišici, ki ščiti inštrumente pred sevanjem in padavinami.
Ker so termometri zelo občutljivi na vsako sevanje Usevanje sonca, neba, zemlje, predmetov v okolici in vseh svetlobnih in toplotnih predmetov), jih moramo dobro ščćititi pred vsakim sevanjem in dobro prezračevati. Zato imajo meteorološke hišice rebraste stene (žaluzije), skozi katere je strujanje zraka dobro. Poleg tga so v hišici posebni ventilatorji (glej 5.2.3.3.) ali pa merimo z Assmanovim aspiracijskim psihrometrom.
Zemljišče, na katerem so inštrumenti za merjenje temperature in vlažnosti zraka, mora biti travnato. Če pa trava v tem kraju ne raste, mora biti zemljišče prirodno.
4.2.6.2. METEOROLOŠKA HIŠICA
Za zaščito inštrumentov za merjenje temperature in vlage pred sevanjem, padavinami in močnimi vetrovi uporabljam mednarodno osvojen poseben tip meteorološke hišice.
Meteorološka hišica ima pravokotne stranice iz dvojnih žaluzij. Na sprednji strani so vrata, ki se odpirajo navzven. Vrata so dvokrilna, lahko pa so tudi enokrilna. Dno meteorološke hišice je sestavljeno iz treh desk, od katerih je srednja nameščena višja. Pod tlemi hišice mora biti pritrjena zičnata mreža, ki preprečuje pticam vhod v hišico. Streha je dvojna in nagnjena v nasprotno smer od vrat.
Imamo dve vrsti meteoroloških hišic, večje in manjše. Večji tip meteorološke hišice je poleg termometra in higrometra namenjen tudi za termograf in higrograf. Ti morajo biti vsaj 5 cm oddaljeni od sten hišice. Manjše hišice niso namenjene za registrirne inštrumente.
Dimenzije večje hišice so naslednje:
Sprednja stran strehe je visoka od spodnjega roba hišice 115 cm, zadnja pa 103 cm.
Meteorološka hišica stoji na štirih nogah. Njeno višino določimo tako, d je od zemlje do rezervoarja suhega termometra točno 2 m.
Noge meteorološke hišice stojijo na posebnih betonskih podstavkih. Njihova zgornja površina ne sme biti večja od 10 x 10 cm nad površino zemlje.
Če obstaja nevarnost močnejšega vetra s hitrostjo več kot 25 m/s, privežemo hišico z jekleno žico, kot je prikazano na sl. 34. Žico pritrdimo na zemljo s pomočjo jeklenih klinov na ali brez betonske podlage. Pred hišico postavimo posebne stopnice (sl. 33), ki se ne smejo naslanjati na noge meteorološek hišice.
![]() |
| Slika 34. Pritrjena meteorološka hišica |
Da bi meteorološka hišica čimbolj odbijala sončno sevanje in da bi jo zaščitili pred trohnenjem, jo dvakrat prebarvamo z belo barvo in povrhu še z belim lakom.
Mesto, kjer hišico postavimo, je opisano v poglavju 1.5. Vrata hišice so obrnjena proti severu, da ne bi pri opazovanju padali sončni žarki na inštrumente. Paziti moramo, da postavimo meteorološko hišico v vodoravni položaj.
4.2.6.3. NAMESTITEV INŠTRUMENTOV
V večji meteorološki hišici so nadlednji inštrumenti:
| 1. suhi termometer | }psihrometer |
| 2. mokri termometer | |
| 3. minimalni termometer | } ekstremna termometra |
| 4. maksimalni termometer | |
| 5. termograf | } registrirna inštrumenta |
| 6. higrograf | |
| 7. higrometer | |
| 8. Pichejev evaporimeter. |
Namestitev teh inštrumentov je prikazana na sl. 35. Termometra pod 1. in 2., ki sestavljata psihrometer, namestimo na posebni držali (zgornje držalo G in spodnje D, sl. 41), ki sta pritrjena na navpičnem nosilcu (železni palici) Š. Suhi termometer je na levi, mokri pa na desni strani. Nosilec s psihrometrom je nameščen na desni polovici meteorološke hišice. Na njem je pritrjeno tudi posebno držalo E za ekstremne termometre pravokotno pred suhim in mokrim termometrom. Držalo E z ekstremnima termometroma pomaknemo poleti nižje, pozimi pa višje, da ne bi motila čitanje suhega in mokrega termometra. Na postajah, kjer imajo na psihrometru ventilator, je priporočljivo, da je nosilec za ekstremna termometra ločen od psihrometra na posebnem nosilcu, vgrajenem na stropu hišice, da ne bi sunki vplivali na ekstremna termometra.
Rezervoarja ekstremnih termometrov morata biti na levi strani, bližje sredini hišice. Minimalni termometer je na spodnjem držalu v vodoravnem položaju, maksimalni pa v zgornjem, v nekoliko poševnem položaju, tako da je desni konec termometra višje od rezervoarja.
Na levo polovico hišice namestimo termograf in higrograf.
Higrometer namestimo v zadnjem delu, na spodnji deski blizu sredine hišice. Če imamo tudi higrometer za obešanje, ga obesimo na posebno kljukico, ki je pritrjena na stropu hišice in ne na žaluzijah.
Pichejev evaporimeter je nameščen levo od psihrometra, obešen na stropu.
Vsi inštrumenti v meteorološki hišici morajo biti oddaljeni od sten najmanj 5 cm.

V meteorološki hišici lahko hranimo samo še naslednje premdmete:
Predmete pod 1. in 2. hranimo v hišici zato, da imajo pri uporabi enako temperaturo kot inštrumenti, pri katerih jih uporabljamo. Hranimo jih v levem sprednjem delu, minimalni termometer za merjenje temperature pri tleh pa v desnem sprednjem delu.
Drugih predmetov ne smemo hraniti v meteorološki hišici.
V manjši meteorološki hišici, kjer ni registriranih inštrumentov, namestimo termometre v sredini. Na levi in desni strani lahko namestimo higrometer in Pichejev evaporimeter.
4.2.6.4. VZDRŽEVANJE
Meteorološka hišica mora biti vedno čista. Prah moramo brisati na zunanji in notranji strani, tako da je hišica vedno bela. Po potrebi umivamo hišico s čisto vodo brez dodatka kisline ali praška. Hišico umivamo samo na zunaji strani ob deževnem vremenu.
Hišico moramo pobarvati, ko se bela barva začenja luščiti, to je vsaka 2 do 3 leta. Notranjost hišice barvamo samo enkrat v 4 do 6 letih. Streho moramo prebarvati večkrat.
Če postane meteorološka hišica siva ali rumenkasta, se odboj sončnih žarkov zmanjša in inštrumenti ne prikazujejo praivlnih vrednosti.
Če veter nameče v hišico sm
Sneg z meteorološke hišice odstranimo, ko sneženje preneha. Če je snežna odeja
debelejša od 1 m, odstranimo toliko snega, da je med površino snega in tlemi
meteorološke hišice približno 1 m razdalje.
Pred barvanjem ali popravilom hišice inštrumente pazljivo prenesemo v senco, po
možnosti na isto višino. Meteorološko hišico popravljamo, če je mogoče, med 7. in 13.
uro, da ne bi prekinili glavna opazovanja. V Dnevnik opazovanj in v Mesečno poročilo
zapišemo vzrok in dan, uro in minuto (od - do), ko so bili inštrumenti izven meteorološke
hišice.
Vrata meteorološke hišice se morajo narahlo odpirati in zapirati, da se inštrumenti ne bi
tresli.
4.3.1. SPLOŠNO O MERJENJU
Temperatura tal je eden od osnovnih elementov toplotne bilance zemljišča in prizemne
plasti zraka in ni pomembna samo za meteorologijo, temveč tudi za mnoge panoge
gospodarstva, predvsem za kmetijstvo.
Standardne globine, na katerih merimo temperaturo tal, so naslednje: 2, 5, 10, 20, 30, 50
in 100 cm. V drugih globinah merimo temperaturo tal samo za posebne potrebe.
4.3.2. OPIS ZEMELJSKIH TERMOMETROV (GEOTERMOMETROV)
Temperaturo tal v osnovni mreži meteoroloških postaj merimo s pomočjo posebnih
živosrebrnih, alkoholnih in električnih termometrov, prilagojenih za merjenje temperature
zemljišča v različnih globinah (geotermometri).
Za merjenje ekstremnih temperatur tal uporabljamo maksimalne in minimalne
termometre tal za različne globine.
Od živosrebrnih termometrov uporabljamo kolenaste in termometre, ki jih izvlečemo.
Za merjenje tal v malih globinah so pripravnejši kolenasti termometri, za večje globine,
predvsem 50 in 100 cm, pa termometri, ki jih izvlečemo.
Kolenasti termometer ima pregib pod skalo, rezervoar pa je nameščen navpično (sl. 36).
Pod kolenom je zaščitna cev ojačana z dvojnim obročkom. Sredina obročka je za mero
globine, do katere termometer namestimo v zemljo in mora biti točno na nivoju površine
zemljišča.
Termometer, ki ga izvlečemo (sl. 37), je vgrajen v leseno ali plastično palico, tako da je
rezervoar izven palice. Rezervoar je zaščiten z bakreno kapo, ki preprečuje hitro
spremembo temperature, ko termometer izvlečemo za čitanje. Prostor med bakreno kapo
in rezervoarjem je napolnjen s toplotno izolirno maso. Lesena (ali plastična) palica ima
na zgornjem koncu kapo z držajem, ki preprečuje, da padavine ne pridejo v cev. Palico s
termometrom namestimo v plastično cev, ki je vkopana v zemljo.
4.3.3. GEOTERMOMETRSKO POLJE IN NJEGOVO VZDRŽEVANJE
Zemeljske termometre namestimo na južni strani opazovalnega prostora. Območje
merjenja temperature tal (geotermometrsko polje) mora zadoščati naslednjim pogojem:
4.3.4. NAMESTITEV ZEMELJSKIH TERMOMETROV
Na pripravljenem geotermometrskem polju namestimo najprej termometre, ki jih
izvlečemo, nato pa kolenaste zemeljske termometre.
Kolenaste termometre namestimo v vrsti z medsebojno razdaljo 10 cm tako, da so skale
obrnjene proti severu, opazovalec pa gleda proti jugu, da ne bi bili termometri v njegovi
senci.
Kolenaste termometre namestimo tako, da najprej z železno palico, na kateri so označene
standardne globine, naredimo navpične luknje z odgovarjajočim premerom.
To napravimo takrat, kadar je zemlja vlažna. Globina luknje se mora natančno prilagajati
termometru. Termometre nametimo tako, da je sredina obročkov točno na površini
zemlje. Termometre še utrdimo z zdrobljeno zemljo, da stojijo trdno. Po namestitvi
termometrov namestimo še odgovarjajoče stojalo.
Kolenaste termometre namestimo po vrsti v ravni črti tako, da je najmanjši na levi,
največji pa na desni strani.
Za lažje čitanje zemeljskih termometrov postavimo 50 cm pred njim kovinski ali leseni
drog in podložnik iz lesenih letvic (sl. 38), na katerega pri opazovanju pokleknemo in
tako zavzamemo pravilno lego in lažje opazujemo.
Zemeljske termometre, ki jih izvlečemo, namestimo tako, da s sondo za jemanje vzrocev
zemlje izdolbemo navpično luknjo, v katero namestimo zaščitno plastično cev. Cev mora
gledati iz zemlje najmanj 50 cm, v planinskih krajih je lahko višje, v primorskih pa nižje.
V zaščitno cev namestimo palico s termetrom, tako da se bakrena kapa dotika zemlje.
Da se zaščitne cevi ne bi razmajale ali prelomile, jih utrdimo s tremi žicami, pritrjenimi
na količke.
Zemeljske termometre, ki jih izvlečemo, namestimo v isti črti s kolenastimi, v razdalji
okoli 20 cm.
Ekstremne (maksimalne in minimalne) zemeljske termometre namestimo posamezno ali
v parih za vsako globino.
Način namestitve ter termometrov je enak kot pri kolenastih in zemeljskih termometrih.
Razlika med kolenastimi in ekstremnimi zemeljskimi termometri je le v nagibu skale, ki
je pri ekstremnih okoli 5°C od horizontalne (sl. 39). Tisti del termometra, ki je v zemlji,
moramo namestiti navpično.
Ti termometri se zaradi malega nagiba naslanjajo na posebne nosilce s kovinsko prenosno
mrežico, ki jih ščiti pred točo in drugimi poškodbami.
V področjih z debelo snežno odejo lahko poleg začetnega in končnega atermometra (2 cm
in 100 cm), označimo z leseno palico položaj zemeljskih termometrov.
4.3.5. MERJENJE TEMPERATURE TAL
Temperaturo tal do globine 50 cm merimo trikrat dnevno in to ob 7., 14. in 21. uri po
lokalnem času, v globini 100 cm pa le ob 14. uri. Zemeljske termometre čitamo z natančnostjo desetinke stopinje (0,1°C). Paziti moramo,
da geldamo pravokotno na vrh živega srebra, da preprečimo napako zaradi paralakse.
Zemeljske termometre moramo čitati hitro in se ne smemo dotikati bakrene kape.
Maksimalno temperaturo tal v glibini do 20 cm merimo ob 21. uri po lokalnem času.
Minimalno temperaturo kaže konec plavača, ki je nasprotno od rezervoarja. Po čitanju
minimalnega zemeljskega termometra z magnetom pomaknemo plavač do vrha alkohola
v kapilari.
Zemeljske termometre čitamo po vrsti od manjših do večjih globin.
Pozimi očistimo sneg samo s termometrov, ne pa s celotnega meritvenega območja, ki
mora ostati v naravnem stanju. Pred odčitavanjem skalo termometra rahlo premažemo v
vato, namočeno v alkoholu. Pri tem moramo paziti, da termometra pri nizkih
temperaturah, ko je lahko lomljivo, ne pritiskamo močno. Enako postopamo, če je na
skali led, ivje ali zmrznjen sneg. Po merjnju snežno odejo, kolikor je mogoče, obnovimo.
V neposredni bližini zemeljskih termometrov moramo pozimivsak dan ob 7.uri meriti
tudi višino snežne odeje s snegomerom ali primernim ravnilom.
4.3.6. NAPAKE IN KAKO JIH ODPRAVIMO
Pri merjenju temperature tal lahko nastanejo napake iz naslednjih razlogov:
4.4.1. SPLOŠNO O MERJENJU TEMPERATURE VODE
Temperaturo vode merijo postaje na obalah morja in na ladjah. Na kontinentu merijo
temperaturo vode samo tiste meteorološke postaje, ki so na obali jezera ali večjih rek,
kjer ni hidroloških postaj.
4.4.2. TERMOMETRI ZA MERJENJE TEMPERATURE VODE
Za merjenje temperature vode najpogosteje uporabljamo navadne termometre, ki imajo
spodnjo mejo okoli -5°C. Uporabljamo tudi termometer, pri katerem je skala na zunanji
strani in je vgrajen v posebnem ohišju (sl. 40), ki ga ščiti pred poškodbami. Ohišje je
sestavljeno iz kovinske cevi, ki ima na sprednji in zadnji strani vzdolžno odprtino za
čitanje skale. Na zgornji strani cevi je obroček za pritrditev vrvi. Na spodnjo stran cevi je
pritrjena kovinska posoda, ki ima na spodnji strani gumijast obroček za ublažitev
udarcev. Na zgornji strani posode so odprtine, skozi katere teče pri merjenju voda. Če na
posodi ni odprtin za vodo, mora biti posoda napolnjena z bakrenimi opilki za boljši
prevod toplote.
Rezervoar termometra mora biti nižje od odprtin na posodi.
4.4.3. MERJENJE
Temperaturo vode merimo z natančnostjo desetinke stopinje.
Postopek merjenja je naslednji:
4.5.1. KONTROLA TERMOMETROV
Čeprav izdelujejo termometre za meteorološko službo natančno, se kljub temu lahko
pojavijo inštrumentalne napake. Prav tako lahko nastanejo napake pri prenosu in pri
uporabi, zato jih je treba kontrolirati.
Termometre kontroliramo v naslednjih primerih:
4.5.1.1. KONTROLA Z UMERJANJEM V LABORATORIJU
Pri umerjanju v laboratoriju opravimo kontrolo termometra po celi skali. Po končanem
umerjanju izda laboratorij za vsak termometer korekcijski list, v katerem so korekcije, ki
jih moramo upoštevati pri merjenju temperature za posamezne intervale skale, kot vidimo
iz naslednje tabele:
Če termometer nima inštrumentalne korekcije, napišemo v korekcijskem listu, da je
popravek od -25 °C do +50°C enak ničli.
4.5.1.2. UPORABA KOREKCIJ
Da dobimo pravilno temperaturo, moramo odčitani vrednosti s termometra prišteti ali
odšteti velikost korekcije. Način uporabe korekcije vidimo iz naslednjih primerov:
V primeru, če živosrebrni ali alkoholni stolpec presežeta interval, za katerega so
korekcije znane, uporabimo najbližjo korekcijo.
4.5.2. KONTROLA TERMOMETROV NA POSTAJI
Termometre na postajah kontrolira strokovnjak, ki je za to določen ali šef postaje.
Postopek kontrole pri namestitvi postaje je predpisan.
Temperature na postaj ikontroliramo tako, da jih primerjamo s suhim termometrom
dvakrat mesečno okoli 1. in 15. v mesecu v dopoldanskem času, ko temperatura počasi
raste.
Postopek je naslednji:
Termometre moramo odčitati najmanj trikrat.
Minimalni termometer ne odčitamo na koncu plavača, temveč na koncu alkohola
(meniskusa).
Podatke in čas teh odčitavanj vpisujemo brez korekcij v poseben obrazec. Prepis tega
obrazca priložimo Mesečnemu poročilu.
Razlike med suhim termometrom ind drugimi termometri ne upoštevamo, dokler ga
Meteorološki zavod ne odobri.
Na začetek kazala
Na začetek poglavja
4.3. MERJENJE TEMPERATURE TAL
Na začetek kazala
Na začetek poglavja

Slika 36. Kolenasti geotermometer
Slika 37. Zemeljski termometer,
ki ga izvlečemo
Na začetek kazala
Na začetek poglavja

Slika 38. Geotermometrsko polje
Na začetek kazala
Na začetek poglavja
Na začetek kazala
Na začetek poglavja
Na začetek kazala
Na začetek poglavja
Skala se pri kolenastih zemeljskih termometrih lahko spusti nižje tudi pri zlomu zaščitne
cevi, na mestu, kjer je zožena, in zgornji širši del nasede na spodnji.
Od časa do časa kontroliramo na ta način, če zaščitna cev prepušča vodo.
Na začetek kazala
Na začetek poglavja
4.4. MERJENJE TEMPERATURE VODE
Slika 40. Termometer
za merjenje
temperature
vode
Na začetek kazala
Na začetek poglavja
Če imamo vedro iz plastične mase, ga vržemo v globoko vodo, izvlečemo in vanj
položimo termometer, ki ga po treh minutah odčitamo.
Če imamo kovinsko vedro, ga vržemo v globoko vodo, pustimo 5 minut, ga izvlečemo,
nato pa vodo zlijemo stran in zajamemo drugo, ki jo izmerimo kot v prejšnjem primeru.
Platnena vedra niso primerna za merjenje temperature vode.
Na začetek kazala
Na začetek poglavja
4.5. KONTROLA TERMOEMTROV IN UPORABA KOREKCIJ
Na začetek kazala
Na začetek poglavja
Temperatura na termometru v obsegu
Velikost popravka v °C
od
do
-30.0
-22.5
+0.1
-22.4
-15.0
0.0
-14.9
-7.5
-0.1
-7.4
-2.5
0.0
-2.4
+15.0
+0.1
15.1
+25.0
+0.2
25.1
+40.0
+0.1
Na začetek kazala
Na začetek poglavja
Primer 1.
Temperatura na termometru
+25,3°C
Korekcija (iz korekcijskega lista)
+ 0.1°C
Prava vrednost temperature
+25.4°C
Primer 2.
Temperatura na termometru
18.1°C
korekcija
- 0.3°C
Prava vrednost temperature
17.8°C
Primer 3.
Temperatura na termometru
+ 0.1°C
Korekcija
- 0,2 °C
Prava vrednost temperature
- 0.1°C
Primer 4.
Temperatura na termometru
- 0.2°C
Korekcija
- 0.3°C
Prava vrednost temperature
-0.5°C
Primer 5.
Temperatura na termometru
- 0.1°C
Korekcija
+ 0.2°C
Prava vrednost temperature
+ 0.1°C
Primer 6.
Temperatura na termometru
-19.2°C
Korekcija
+ 0.3°C
Prava vrednost temperature
-18.9°C
Primer 1.
Temperatura na termometru je -32,5°C. Korekcija v korekcijskem listu
za -30.0°C je +0.1°C, ki jo uporabimo in dobimo pravo vrednost
temperature -32,4°C.
Primer 2:
Temperatura na termometru je +41.1°C. Korekcija za +40,0°C je 0,1°C.
Prava temperatura je +41,2°C.
Če se živosrebrni ali alkoholni stolpec raztegne izven skale termometra,
vpišemo v Dnevnik opazovanj in v Mesečno poročilo znak “>“ (več) ali
znak “<“ (manj).
Primer:
Termometer ima skalo od -27 do +41°C. Če se živosrebrni ali
alkoholni stolpec spusti pod spodnjo mejo skale, napišemo “<-27°C”,
če pa preseže zgornjo mejo skale, napišemo “>41°C”.
Na začetek kazala
Na začetek poglavja