7.1.1. POMEN VETRA
Podatke o vetru prištevamo med najpomembnejše meteorološke elemente, ki so zelo uporabni tudi v mnogih vejah gospodarstva, narodne obrambe in znanosti, posebno v letalstvu, pomorstvu in poljedelstvu. Zato moramo posvetiti merjenju vetra veliko pozornost.
7.1.2. POJEM SMERI, HITROSTI IN JAKOSTI VETRA
Veter imenujemo vodoravno gibanje zraka (premeščanje zračnih mas). Veter je določen, če sta mu določeni smer in hitrost ali jakost.
Na meteoroloških postajah opazujemo povprečno smer, iz katere piha veter, ne pa trenutne smeri. Smer vetra označimo s tisto stranjo neba, od koder veter piha. Če na primer piha veter s severa - je to severni, če piha z vzhoda - je vzhodni, z jugozahoda - jugozahodni itd.
Pod hitrostjo vetra razumemo pot vetra (zračne mase), ki jo preide v enot časa. Hitrost vetra izražamo v metrih na sekundo, vozilih, kilometrih na uro in angleških miljah na uro.
Na meteoroloških postajah določamo povprečno hitrost vetra v opazovalnem terminu, ne pa trenutne hitrosti. Za potrebe sinoptike določrečno hitrost vetra v času 10 minut, za potrebe klimatologije pa v času 100 sekund v opazovalnem terminu.
Pod jakostjo vetra razumemo silo vetra, s katero ta deluje na posamezne predmete v naravi. Jakost vetra določamo po Beufortovi skali (7.2.4.).
Če veter piha sunkoma, v kratkih a močnih sunkih, se imenuje sunkovit veter.
Če ni vetra ali če je njegova hitrost manjša od 0.3 metra na sekundo, pravimo, da je tišina (calma - C).
7.1.3. POGOJI ZA OPAZOVANJE VETRA
Opazovanje vetra (merjenje smeri in hitrosti) opravljamo na ravnem in odprtem prostoru, kjer ni visokih objektov (stavb, dreves, gričev itd.), ki bi motili splošni zračni tok.
Ker se veter zaradi trenja zelo hitro spreminja z višino, ga moramo vedno meriti na enaki višini nad tlemi; po mednarodnem dogovoru je ta višina 10 metrov nad odprtim prostorom. Pod odprtim prostorom razumemo zemljišče, kjer je oddaljenost instrumenta za merjenje smeri in hitrosti vetra od vseh okolišnjih ovir najmanj desetkratna višina teh ovir. To je še posebno obvezno za meteorološke postaje na letališčih. Če takega prostora ni mogoče dobiti, mora stati vetrokaz tako visoko, da na njegovo delovanje ne vplivajo okolišnje motnje in, da ta višina predstavlja stanje vetra na višini 10 metrov nad tlemi, kakršno bi bilo, če v okolici ne bi bilo ovir. Zato je praviloma treba postaviti vetrokaz višje od 10 metrov; kolikšna pa je točno ta višina, je odvisno od prostranstva, višine in oddaljenosti okolišnjih objektov na vsakem mestu posebej, zato jo je treba določiti na samem mestu.
Zaradi velike spremenljivosti smeri in hitrosti vetra ne moremo v nekem trenutku določiti niti točne smeri, niti točne hitrosti. Zato je mednarodno dogovorjeno, da pri opazovanju vetra ne določamo trenutnega stanja, ampak povprečno smer in hitrost v času opazovanja.
Razen smeri in hitrosti vetra mora opazovalec tudi ugotoviti lastnost vetra, t.j. ali piha bolj enakomerno ali z bolj ali manj pogostimi sunki. V zadnjem primeru moramo v Dnevnik vpisati poleg smeri in hitrosti vetra še črko r - sunkovit (rafalni) veter.
7.2.1. MERJENJE SMERI VETRA
Smer vetra določamo v glavnem s pomočjo vetrovnih smerokazov, električnih daljinskih anemometrov in anemografov. Če nimamo smerokaza, kot tudi v primeru šibkega vetra, ko se smerokaz (ali kak drug instrument) ne obrača, lahko določujemo smer vetra tudi po smeri gibanja dima, pri tem pa moramo obvezno označiti način določevanja (na primer: “NW po dimu”). Ne določamo pa smeri vetra po smeri gibanja oblakov.
Smer vetra določamo po strani neba, od koder veter piha. Strani neba oziroma smeri vetra se računajo po geografskem, ne po magnetnem severu. Posamezne strani neba in po njih tudi smeri vetra označujemo z začetnimi črkami njihovih angleških imen, kjer so s črkami N (North - sever), E (East - vzhod), S (South - jug) in W (West -zahod) označene štiri glavne smeri. S kombinacijo začetnic dobimo tudi vse ostale smeri, kot vidimo iz spodnje razpredelnice.
V sinoptiki označujemo smeri s številkami, kot tudi z ločnimi sopinjami (7.2.2.).
| st. (kli.smer) | Naša imena mednarodnih kratic | Mednarodne kratice | Imena mednarodnih kratic | Stopinje |
| 1 (2) | Sever-severovzhod | NNE | North-North_East | 22,5 |
| 2 (4) | Severovzhod | NE | North-East | 45 |
| 3 (6) | Vzhod-Severovzhod | ENE | East-North_East | 67,5 |
| 4 (8) | Vzhod | E | East | 90 |
| 5 (10) | Vzhod-jugovzhod | ESE | East-South-East | 112,5 |
| 6 (12) | Jugovzhod | SE | South-East | 135 |
| 7 (14) | Jug-jugovzhod | SSE | South-South-East | 157,5 |
| 8 (16) | Jug | S | South | 180 |
| 9 (18) | Jug-jugozahod | SSW | South-South-West | 202,5 |
| 10 (20) | Jugozahod | SW | South-West | 225 |
| 11 (22) | Zahod-jugozahod | WSW | West-South-West | 247,5 |
| 12 (24) | Zahod | W | West | 270 |
| 13 (26) | Zahod-severozahod | WNW | West-North-West | 292,5 |
| 14 (28) | Severozahod | NW | North-west | 315 |
| 15 (30) | Sever-severozahod | NNW | North-North-west | 337,5 |
| 16 (32) | Sever | N | North | 360 |
Za glavne meteorološke postaje je obvezna uporaba mednarodnih kratic z oznako smeri vetra.
7.2.2. VETROVNA ROŽA
Za natančno označevanje smeri vetra nam služi vetrovna roža (sl. 60 in 61). Vetrovna rožaima lahko 4, 8, 16, 32 in 36 smeri. Če upoštevamo poleg lgavnih smeri še glavne medsmeri (NE, SE, SW, NW), dobimo rožo z 8 smermi. Z nadaljno delitvijo dobimo roža s 16 in 32 smermi, kot vidimo na sliki 60.
Vetrovno rožo s 36 smermi tvori krog z razdelki po 10o, torej od 1-36, kot je razvidno s sklike 61. Ta rožaje mednarodno sprejeta za izmenjavo podtkov v šifrirani obliki in za označevanje smeri višinskih vetrov.
Za razliko od rože s 32 smermi, kjer je N=32, E=8, S=16, W=24, je pri roži s 36 smermi N=36, E=9, S=18, W=27. Pretvarjanje smeri vetra z rože z 32 narožo s 36 smermi opravljamo po tabeli VI. na koncu knjige.
![]() |
![]() |
Slika 60. Vetrovna roža z 32 smermi |
Slika 61. Vetrovna roža z 36 smermi |
7.2.3. MERJENJE HITROSTI VETRA
Hitrost vetra merimo s pomočjo anemometrov in anemografov, moč vetra pa ocenimo (brez instrumentov) s pomočjo Beufortove skale.
Razmerja med posameznimi enotami za hitrost vetra so podana v tabelah (VII, VIII, IX in X) na koncu Navodil.
7.2.4. BEAUFORTOVA SKALA
Določevanje jakosti vetra brez instrumentov opravljamo s pomočjo Beaufortove skale. Za označevanje jakosti vetra po tej skali uporabljamo številke od 0-12, kjer 0 (ničla) pomeni tišino, številke 1, 2, 3 itd. pa označujejo postopno vse močnejši veter, tako da številka 12 predstavlja najmočnejš možni veter.
Uporaba Beaufortove skale za oceno jakosti vetra je obvezna na vseh glavnih meteoroloških postajah, ne glede na to, ali iamo na postaji instrumente za merjenje hitrosti vetra. Na ta način opravljamo primerjalne meritve hitrosti vetra s pomočjo Beaufortove skale in s pomočjo instrumentov, kjer so ti na razpolago. Dobljene vrednosti zapišemo v posebne rubrike, t.j. posebej za enote po Beaufortu in posebej za metre na sekundo.
Anemometri in anemografi so instrumenti, s katerimi merimo ali samo hitrost vetra ali pa smer in hitrost. Lahko so grajeni kot:
Vsi ti instrumenti so iz dveh osnovnih delov: sprejemnika, ki je izpostavljen vetru na odprtem prostoru, in indikatorjaali registrirnega dela, ki senahaja v zavarovanem prostoru, bodisi znotraj samega ohišja ali pa v stavbi.
Anemometri in anemografi, ki jih uporbljamo v naši službi, delujejo na enem od sledečih principov:
Pri rotacijskem sistemu je sprejemnik propeler ali 3 do 4 skodelice, pritrjene na skupno os, tako da se pod vplivom vetra vrtijo kot en sistem.
Gibanje sprejemnika se prenaša mehanično ali električno na odčitalni ali registrirni del instrumenta.
Pri instrumentih, ki delujejo na dinamičnem princupu, deluje veter s svojim pritiskom na posebno odprtino na sprejemniku (Pitotovaali Venturijeva cev), skozi katero se pritisk prenaša na del za zapisovanje hitrosti vetra. Natančnejši opis delovanja instrumentov bo podan pri njihovem opisu.
7.3.1. ROČNI ANEMOMETER
Ročni anemometer uporabljamo za merjenje hitrosti vetra na raznihvišinah nad tlemi. dNajpogosteje mreimo z njim hitrost vetra 2 m nad tlemi, lahko pa z njim tudi redno merimo na višini vetrokaza, v kolikor so glede dostopa za to dani ugodni pogoji.
Ročni anemometri so lahko narejeni tako, da kežajo pot v metrih v določenem času (mehanični ročni anemometri) ali pa trenutno hitrost vetra (električni ročni anemometri). Če so anemometri narejeni tako, da kažejo pot, moramo meriti tudi čas delovanja anemometra, potem pa na osnovi teh dveh izmerjenih količin izračunamo povprečno hitrost vetra.
7.3.2. ROČNI ANEMOMETER ZA MERJENJE POVPREČNE HITROSTI VETRA
Sprejemni del ročnegaanemometraje sestavljen iz 3 ali 4 skodelic, pri čemer so odprtine skodelic obrnjene v isto smer glede na korženje. Pod vplivom vetra skodelice krožijo s hitrostjo, sorazmerno hitrosti vetra. Pritrjene so s strani na navpično os vreteno), ki sena zgornjem in spodnjem koncu obrača v posebnih ležajih. Od strani so zavarovane pred poškodbami z okvirom iz žice. Na spodnjem koncu osi so nahaja neskončni vijak, ki deluje nasistem zobnikov, na katerih osi so pritrjeni kazalci. Namesto kazalcev je lahko tudi števec.
Na sprednji strani ohišja se, podobno kot pri žepni uri, pod steklenim pokrovčkom nahaja številčnica z enim velikim kazalcem v sredini in dvema ali več manjšimi ob strani. Konec velikega kazalca potuje po veliki krožni skali z razdelitvijo od 0-100. Ta kazalec kaže v metrih pot, ki jo veter opravi. Mali kazalci se bigljejo nad skalami z radelitvijo od 0-10. če se na anemometru nahajata poleg večjega kazalca še dva manjša, kaže eden od njiju stotice metrov opravljene poti (sl. 63). Navadnoje poleg vsakega malega kazalca označeno z ničlami, kaj kaže (npr. 00 - stotice metrov, 000 - tisoče metrov, 0000 deset tisoče metrov itd.).
Novejši anemometri znamke Fuess, ki jih je precej v mreži, imajo pod steklenim pokrovčkom namesto kazalcev in številčnice števec s petimi številkami (sl. 64). Na števcu so leve tri številke ločene od desnih z vejico in kažejo kilometre opravljene poti, desni dve pa stotice in desetice metrov. Metri opravljene poti (od 0-10) so vgravirani na obodu koleščka, ki se vrti poleg zadnje številke na števcu.
Na desni strani ohišja (sl. 62 in 63) ali na zadnji strani anemometra s števcem (sl.64) se nahaja vzvod (f), s katerim vključimo delovanje anemometra ali pa ga izključimo. Nad in pod vzvodom se nahajata ušesci za vrvico. En konec vrvice gre skozi eno ušesce, drug konec gre skozi drugo, oba pa sta pritrjena na vzvod. S pomočjo vrvice vključujemo delovanje anemometra ali pa ga izključimo. Nad in pod vzvodom se nahajata ušesci za vrvico. En konec vrvice gre skozi eno ušesce, drug konec gre skozi drugo, oba pa sta pritrjena na vzvod. S pomočjo vrvice vključujemo in izključijemo anemometer, če je tako visoko, da vzvoda ne dosežemo z roko.
Ročni anemometer deluje na sledeči način: veter deluje na sistem skodelic, ki krožijo s hitrostjo, odvisno od hitrosti vetra. Vrtenje skodelic se prenaša nakazalce ali na števec. Ko veter opravi pot 100 metrov, se zavrti veliki kazalec za cel krog (od 0 do 100), prvi mali kazalec pa za en razdelek in kaže na 1 (sto); ko veliki kazalec opravi dva kroga, kaže mali kazalec na 2 itd. Ko se ta mali kazalec zavrti za cel krog (1000 metrov), se pomakne naslednji mali kazalec na 1 (tisoč) itd. Pri anemometru s števcem odčitavamo opravljeno pot neposredno na številčnici v kilometrih in metrih.
![]() |
![]() |
![]() |
Slika 62. Ročni anemometer s tremi kazalci |
Slika 63. Ročni anemometer s 6 kazalci |
Slika 64. Ročni anemometer s števcem |
Precej je anemometrov z vgrajeno štoparico v ohišju in z gumbom za vračanje kazalca v začetni položaj (0). Pri uporabi anemometrov, ki nimajo vgrajene štoparice, moramo imeti posebej štoparico, s katero merimo čas njihovega delovanja.
7.3.3. POSTAVLJANJE
Ročni anemometer je občutljiv instrument in kot tak ni namenjen, da bi stalno stal tam, kjer z njim merimo, ampak ga imamo zunaj samo takrat, ko ga rabimo.
Za redne meritve na meteoroloških postajah postavljamo anemometer na drog, na katerem mora med delovanjem stati stabilno in popolnoma navpično. Drog je navadno okrog dva metra visok, tako da so ob meritvi skodelice na tej višini. Za pritrditev na steber ima anemometer pod ohišjem vijak.
7.3.4. OPAZOVANJE
Pred opazovanjem prinese opazovalec iz stavbae anemometer in štoparico, postavi anemometer na drog, potem pa:
Primer odčitavanja položaja kazalcev anemometra:

Dobljeni podatek o hitrosti vetra moramo popraviti za odgovarjajočo vrednost s krivulje na korekcijskem listu, če obstaja napaka instrumenta.
7.3.5. RAVNANJE Z ANEMOMETROM IN NJEGOVO VZDRŽEVANJE
Ročni anemometer imamo shranjen v posebni škatli, da je zavarovan pred poškodbami na prahom. Skodelic ne smemo prijemati z rokami ali jih vrteti. Če je potrebno, da se vrtijo, npr. da privedemo veliki kazalec na 0, moramo anemometer izpostaviti vetru ali pa pihati v skodelice.
Če je anemometer moker (zaradi dežja, snega itd.), ga moramo pazljivo obrisati z laneno krpo, ne da bi se pri tem dotikali sistema skodelic, potem pa ga postavimo na suh prostor.
Anemometra ne smemo na postaji v nobenem primeru razstavljati ali mazati.
7.3.6. ELEKTRIČNI ROČNI ANEMOMETER
7.4. ELEKTRIČNI DALJINSKI ANEMOMETER
7.4.1. UVOD
Električni daljinski anamometri merijo smer in hitrsot vetra. Zgrajeni so tako, da se njihov sprejemnik za smer in hitrost vetra nahaja na višini merjenja (10 m nad tlemi), medtem ko so indikatorji v stavbi postaje. Razdalja med sprejemnikom in indikatorji je lahko tudi več sto metrov. Na ta način je možno meriti točno smer in hitrost vetra tudi na postajah, ki na opazovalnem prostoru nimajo ugodnega mesta za postavitev instrumenta; instrument postavimo na mesto, ki je reprezentativno za take meritve. Opazovanje vetra opravlljamo na indikatorjih, ki so navadno v opazovalčevi sobi.
7.4.2. OPIS
Tudi indikator hitrosti vetra (7) se nahaja v kovinski škatli, ki jo postavimo poleg škatle z indikatorjem smeri.
Indikator hitrosti vetra ima dve skali in sicer:
Namesto v m/sek ima lahko indikator skalo v vozlih.
Hitrost vetra kaže kazalec, katerega vrh se giblje istočasno nd obema skalama. Zgornja skala služi predvsem za hitrosti preko 15 m/sek in instrument je ves čas vključen na to skalo oz. območje. Hitrosti vetra, manjše od 15 m/sek, odčitavamo na spodnji skali, ko smo predhodno pritisnili na gumb (8) v spodnjem desnem vogalu.
7.4.3. POSTAVLJANJE, ORIENTACIJA IN VZDRŽEVANJE ANEMOMETRA
Postavljanje, orientacijo in vzdrževanje tega anemometra opravljajo samo pooblaščeni strokovnjaki pristojnega zavoda.
7.4.4. DOLOČANJE SMERI IN HITROSTI VETRA
Smer in hitrost vetra odčitamo na indikatorjih (6) in (7). Preden določimo smer vetra, moramo dalj časa spremljati gibanje kazalca nad vetrovno rožo, da bi čim natančneje določili prevladujočo smer, ki jo zavzema veter v opazovalnem terminu.
Pri loločevanju hitrosti vetra moramo najprej ugotoviti, okrog katere vrednosti se na zgornji skali (z večjim merilnim obsegom) giblje vrh kazalca. Če se ta giblje desno od vrednosti 15 m/sek, odčitavamo na zgornji skali; pri tem dalj časa spremljamo gibanje kazalca, da ugotovimo levo in desno mejo tega gibanja in vzamemo potem za hitrost vetra sredino tega intervala. Če se vrh kazalca giblje levo od vrednosti 15 m/sek, odčitavamo na spodnji skali, potem ko smo pritisnili na gumb v spodnjem desnem vogalu indikatorja hitrosti.
Hitrost vetra, ki smo jo odčitali na instrumentu, moramo korigirati po korekcijskem listu, ki ga mora imeti vsak instrument.
Zgoraj opisani primer električnega daljinskega anemometra je vzet kot primer splošnega tipa. Splošne karakteristike tega anemometra veljajo v glavnem tudi za instrumente drugih izdelav.
7.5.1. SPLOŠNO O ANEMOGRAFU
|
Anemograf uporabljamo za zapisovanje smeri in hitrosti vetra. Pri nas se največ uporablja Fuessov univerzalni anemograf (sl. 68), ki ima priprave za zapisovanje smeri vetra, povprečne hitrosti ali opravljene poti vetra v kilometrih in trenutne hitrosti vetra v metrih na sekundo. V ta namen im asprejemni del in del za zapisovanje (registrirni del). Sprejemni del (sl. 68 in 69, zgornji del) se sestoji iz treh kombiniranih sprejemnikov: prvega za smer, drugega za povprečno hitrost (opravljeno pot) in tretjega za trenutno hitrost (pritisk vetra). Ti sprejemniki stojijo zunaj, na kakšni stavbi ali na posebnem drogu, kjer so izpostavljeni delovanju vetra. Vplivi vetra se prenašajo po posebnih prenosih do registrirnega dela. Ves sprejemni del stoji na debeli železni cevi - nosilcu anemografa. Skozi to cev so speljani prenosi, ki vežejo sprejemnik z registrirnimi napravami. Registrirni del (sl. 68, spodnji del in sl. 70) je sestavljen iz treh posebnih priprav za zapisovanje smeri, povprečne hitrosti (opravljene poti) in trenutne histrosti vetra. Te priprave se nahajajo v posebni kovinski škatli, ki stoji v zavarovanem prostoru v stavbi ali v posebni hišici. Če je prenos od sprejemnika do pisala mehaničen, se nahajajo pisala v stavbi, neposredno pod sprejemnim delom, kot je razvidno s slike 71. Shema anemografa je podana na sliki 68, kjer so s številkami označeni vsi važnejši deli. |
![]() |
![]() |
|
| Slika 71.
Fuessov univerzalni anemograf (shema postavitve) |
Slika 68. Shema Fuessovega anemografa Povečaj sliko |
7.5.2. SPREJEMNIK SMERI VETRA
Sprejemnik je krilo za smer, ki je pritrjeno na navpično cev (1) (sl. 68); ta se nahaja v votlem valju (2), kjer se nahajajo prenosni zobniki. Cev (1) se vrti na krogličnih ležajih skupej z indikatorjem smeri, njeno vrtenje pa se prenaša preko nekoliko zobnikov na prenosno os (3), ki vodi v škatlo z registrirno napravo.
7.5.3. SPREJEMNIK ZA POVPREČNO HITROST VETRA
Sprejemnik predstavlja vrtavka s tremi skodelicami. Os (10) te vrtavke je vsajena v negibljivo cev (8), v kateri se vrti na krogličnih ležajih.
Spodnji konec osi je preko vrste zobnikov povezan s prenosno osjo (9) za povprečno hitrost vetra. Ta os sega v škatlo z registrirno napravo.
7.5.4. SPREJEMNIK ZA TRENUTNO HITROST VETRA
Ta sprejemnik je vgrajen v smerokaz na principu Pitotve cevi. Odprtina, skozi katero deluje dinamični pritisk, se nahaja v sredini protiuteži (12) na smerokazu. Od tam se pritisk prenaša skozi posebne cevi (13) na manometer sprejemnega dela (14). Statitični pritisk, ki deluje skozi odprtino (17 a), se prav tako prenaša na manometer (14).
7.5.5. NAPRAVA ZA ZAPISOVANJE SMERI VETRA
V škatlo s pripravo za zapisovanje vodi os (3), ki prenaša gibanje smerokaza. Na tej osi se nahajata dva poševno prisekana votla valja (4), po katerih drsita dva peresnika s peresci za zapisovanje smeri vetra. Poševno prisekana valja povzročata, da se peresi dvigata in spuščata, v odvisnosti od smeri vetra. Spodnje pero stoji v najvišjem položaju, ko smerokaz (protiutež) kaže v smer sever, v najnižjem pa, ko kaže ta proti jugu. Zgornje pero doseže svoj najvišji in najnižji položaj na nasprotnih straneh, torej ko protiutež kaže proti jugu. Zgornje pero doseže svoj najvišji in najnižji položaj na nasprotnih straneh, torej ko protiutež kaže proti jugu, oziroma proti severu. Ko zgornje pero pride na najnižjo točko prisekanega valja, neha pisati. V tem trenutku začne pisati spodnje pero, ki je takrat v najvišji točki. Na ta način zapisuje eno pero smeri vetra vzhodne polovice horizonta, drugo pa zahodne. Ko eno pero piše, je drugo odmaknjeno od traku, razen v primeru, ko smerokaz kaže točno proti severu ali proti jugu in obe peresi zapisujeta tisto smer na trak.
Na isti osi je nad poševnima odsekoma priprava za dušenje zapisovanja pomikov smerokaza in za izglajevanje krivulje (manjše amplitude) spremembe smeri vetra znotraj 0, 11 1/4, in premaknemo paličico (6) na željeno vrednost, ki je vgravirana na skali (7). Potem vijak (5) spet privijemo.
7.5.6. NAPRAVA ZA ZAPISOVANJE POVPREČNE HITROSTI VETRA (OPRAVLJENE POTI)
Os (9), ki prenaša vrtenje vrtavke, prav tako vodi v škatlo z registrirno napravo. Tako kot na osi za smer vetra, se tudi na tej nahaja poševni odsek votlega valja (11). Po poševni strani tega valja drsi držalo s peresom za zapisovanje opravljene poti vetra. Valj se vrti obenem z navpično osjo. Njegovo vrtenje je sorazemrno vrtenju vrtavke, vendar neprimerno počasnejše. Šele, ko veter opravi pot 10 km, se valj obrne za pol kroga, cel krog pa napravi šele, ko veter opravi pot 20 km. Po eni poševni strani valja se pero dviga, po drugi pa spušča.
7.5.7. NAPRAVA ZA ZAPISOVANJE TRENUTNE HITROSTI VETRA
Zapisovanje trenutne hitrosti vetra poteka s pomočjo manometra (14), ki se nahaja pod škatlo z registrirno napravo. Manometer je valjaste oblike in je napolnjen z vodo do določene višine. Na vodi plava votel plavač posebne oblike, potopljen z odprtim koncem v vodo, tako da je le deloma napolnjen z vodo. V plavač vodi cev (13), tako da njen konec gleda iz vode v plavaču. Prostor nad površino vode v plavaču je z dnom plavača (ki je v obrnjenem položaju) oddaljen od prostora v manometru izven plavača. V ta prostor izven plavača vodi cev (16), skozi katero deluje statični pritisk.
Zaradi spremembe jakosti vetra pride do spremembe dinamičnega pritiska, oziroma do spremembe razlike med dinamičnim in statičnim pritiskom v anemometru, kar povzroča spuščanje in dvigovanje plavača v sorazmerju s spremembo jaksoti vetra.
Na plavaču je navpična palica, na njej pa držalo s peresom, ki na trak zapisuje trenutno hitrost, oziroma jakost vetra.
7.5.8. VALJ Z URNIM MEHANIZMOM
Valj anemografa je podoben valju, opisanemu v 2.2.4. Je večji od navadnega valja ter ima dnevni hod, t.j. opravi en obrat v 24 urah. Navijamo ga enkrat tedensko.
7.5.9. TRAK ANEMOGRAFA
Trak anemografa ima vodoravno skalo za smer, povprečno hitrost (opravljeno pot) in trenutno hitrost (jakost) vetra in navpično (urno) delitev na 10 minut (sl. 72).
Razdelki za smer so na vrhu traku. Smeri so označene s črkami S, E in N za zgornje pero ter s črkami N, W in S za spodnje pero.
Razdelki za povprečno hitrost so na sredini diagrama (tretje pero od zgoraj). Razmak nad vodoravnimi črtami ustreza opravljeni poti 100 m, od najnižje do najvišje črte pa 10 km. Najnižja črta je ničelna črta. Pero piše poševne črte, izmenoma navzgor in navzdol, od katerih vsaka predstavlja pot vetra 10 km.
Skala za trenutno hitrost vetra zavzema spodnji del traku. Ničelna linija je prva od spodaj, naslednja predstavlja hitrost 1 m/sek, sledeča ustreza hitrosti 2 m/sek itd. (vsaka naslednja 1 m več). Razdelitev sekonča s črto, ki pomeni 40 m/sek.
Ob strani diagrama je skala za jakost vetra v kilogramih na kvadratni meter. Pod desno in levo stranjo traku se nahajajo oznake (vodoravne črtice), do katerih diagram odrežemo, preden ga pritrdimo na valj.

7.5.10. PERESA ANEMOGRAFA
7.5.10.1. ČIŠČENJE STEKLENIH PERES
Če katero od steklenih peres ne piše, je lahko vzrok zlomljen vrh ali zamašitev kapilare. V prvem primeru moramo pero zamenjati z novim, zamašeno kapilaro pa lahko očistimo. Čiščenje je opisano v 7.5.14.
7.5.11. POSTAVITEV ANEMOGRAFA
Prostor za postavitev anemografa mora ustrezati pogojem, opisanim v poglavju 7.1.3. Prostor izbirajo samo izkušeni strokovnjaki. Vrednost podatkov, ki jih posredije anemograf, je precej odvisna od pravilne izbire prostora.
Drog - nosilec anemografa postavimo glede na lokalne pogoje, bodisi na kakšno stavbo, če ima ta ugodno lego, ali pa na poseben drog. Zelo važno je, da je drog - nosilec anemografa popolnoma navpičen. Pod drogom - nosilcem oziroma pod sprejemnim delom anemografa mora biti dovolj prostora za registrirni del. Ta prostor mora biti visok najmanj 2,5 m, da lahko prenosne osi namestimo od spodaj. Poleg tega mora biti ta prostor zavarovan pred tresljaji in zmrzovanjem.
7.5.12. POSTAVITEV SPREJEMNEGA DELA
Ko odpakiramo in pazljivo očistimo posamezne dele, vzamemo najprej smerokaz, ki je sestavljen iz osi s protiutežjo in krila ter ga vstavimo v obroč na osi (1) (sl. 68), kjer ga dobro pritrdimo s pomočjo posebnih vijakov. Oklep (17) je pritrjen na stožčasti del, kjer se morajo obstoječe črtice dobro prekrivati. Ko odvijemo matico (18), namestimo vrtavko, pri čemer pazimo, da os vrtavke pravilno sede v svoj kroglični ležaj (19). Potem matico dobro privijemo. Do zgornjega krogličnega ležaja (20) smerokaza lahko pridemo tako,d a odvijemo pokrovček (21). Plašč (2) lahko snamemo, če odvijemo krilni vijak (22).
Ves sprej
Za prenos smeri vetra služi cevatsta os (3), za prenos povprečne hitrosti vetra (po69) pa
os (9). Obe sta sestavljeni iz večjih delov, ki jih sestavljamo s pomočjo posebnih matic.
Zgoraj jih pritrdimo na sprejemni del s klimoma (25) in (26), spodaj pa na registrirno
pripravo s klimoma (27) in (28).
Kovinski cevi, po katerih se prenaša pritisk vetra in statični pritisk zraka, pritrdimo v
valjasti posodi na cevi (23) in 24). Ti dve cevi segata 50 cm nad škatlo z registrirno
napravo, kjer nanju nataknemo gumijasti cevi (13) in (16).
Prenosnike moramo povsod skrbno spojiti, da ne bi prišlo do njihovega medsebojnega
rahljanjain trenja. Zvezo s smerokazom moramo izpeljati tako, da obe peresi pišeta sever,
ko indikator smeri kaže proti severu.
Predhodno anemometer prične delovati, moramo z najfinejšim oljem za ure napolniti
sledeče dele:
Te ležaje polnimo v dolgih časovnih presledkih (7.5.15.), ker so spodaj zaprti in dobro zamašeni. Ostale ležaje mažemo z gostim strojnim oljem.
Potem, ko postavimo prenosnika, zapremo spodnjo odprtino cevi - nosilca s posebnem pokrovčkom, ki im apodložko iz filca, ki se nahaja pri anemografu. Nujno je, da to zapremo, da se po cevi ne bi pretakal zrak in bi prišlo v njej do kondenzacije vodne pare, kar se rado dogaja predvsem pozimi.
7.5.13. POSTAVITEV REGISTRIRNEGA DELA (PISALA)
Registrirni del postavimo točno pod prenosnike, bodisi na polico, prtrjeno na zid ali pa na mizo, ki ima odprtino za dostop manometra (14). Še prej pa moramo vsak del skrbno očistiti.
Pri transportu je plavač (15) v posodi (14) pritrjen s pomočjo pokrova, ki je privit na navoj (31). Ta pokrov kasneje snamemo in nasadimo držalo peresa za pritisk vetra (32) na palico (33). Držalo pritrdimo z vijakom (34).
Manometer napolnimo, preden priključimo gumijaste cevi, potem ko smo zaprli pipo (35). S cevke (36) snamemo pokrovček in vlivamo vanjo destilirano vodo toliko časa, dokler ne začne voda kapljati iz nje; to je obenem mera za količino vode v manometru. Preden napolnimo anemometer z vodo, vlijemo vanj 50 cm3 parafinskega olja.
Valj montiramo, ko navijemo in nanj pritrdimo trak (7.5.14). Nato montiramo peresa, jih napolnimo s črnilom, uravnamo njihov položaj na traku in jih vključimo. Nazadnje priključimo gumijaste cevi za pritisk, najprej zgornjo (16), potem pa spodnjo (13).
Zdaj instrument deluje.
7.5.14. MENJAVA TRAKU IN URAVNAVANJE PERES
Splošna navodila o uporabi, shranjevanju in menjavi trakov (2.2.16. - 2.2.19) veljajo tudi za anemografske trakove.
Pri anemografu menjavamo trak vsak dan ob 8. uri po lokalnem času, valj pa navijamo enkrat tedensko (v ponedeljek). Preden zamenjamo trak, snamemo obe gumijasti cevi za pritisk in sicer najprej spodnjo, potem pa zgornjo.
Menjavo traku in kar je s tem v zvezi izvršimo na način, opisan v 2.2.16.
Preden primaknemo peresa k traku, se moramo prepričati, da vsa peresa stojijo na istem časovnem razdelku. Če kakšno pšero odstopa, malo odvijemo vijak (a) (sl. 73), naravnamo pero in vijak spet privijemo. Pri tem moramo zelo paziti, da ostane višina peresa na traku ista.
V primeru, da je kakšno pero zamašeno, t.j. da ne piše, pritisnemo odprtino pipete na konec kapilare in poskušamo očistiti kapilaro z vsesavanjem. Če na ta način ne uspemo, pero pazljivo snamemo, ga operemo v čistem bencinu ali vodi in skozi kapilaro nekajkrat potegnemo las ali približno enako debelo žico. Nato damo pero na svoje mesto in ga ponovno napolnimo s črnilom.
Ko pero vključimo, se po pravilu instrumenta ne dotikamo 24 ur, t.j. dokler ne menjamo traku.
7.5.15. PREVERJANJE DELOVANJA IN VZDRŽEVANJA ANEMOGRAFA
Zapletenost konstrukcije ter delovanje posameznih delov anemografa zahtevata skrbno in čim pogostejše nadzorovnje tega instrumenta. Anemograf daje pravilne podatke le, če deluje v ugodnih razmerah. Pisanje peres kontroliramo vsaj ob vsakem rednem opazovanju.
Zapisovanje smeri vetra moramo kontrolirati 1-2 krat letno. To napravimo tako, da pri brezvetrju ali šibkem vetru smerokaz obrnemo točno proti severu in ga v tem položaju fiksiramo. Obe peresi morata takrat pisati smer N. Če ni tako, sprostimo paličico (38) in z obračanjem osi (27) privedemo obe peresi v tak položaj, da pišeta na črti N. Ves ta čas mora biti smerokaz obrnjen priti severu. Ko sta peresi na svojih mestih, paličico (38) zopet pričvrstimo, da se ne obrača, zob (6) pomaknemo na odgovarjajočo številko na skali (7), privijemo vijak (5) in vključimo instrument. Če smo ugotovili kakšno odstopanje, moramo to vpisati v Dnevnik opazovanj in v Mesečno poročilo.
Pero, ki zapisuje opravljeno pot vetra, kontroliramo na ta način, da preštejemo, koliko razdelkov oziroma kilometrov na traku je pero prešlo v eni uri in to število delimo s 3600. Dobljeni rezultat predstavlja povprečno hitrost vetra v tej uri, v metrih na sekundo. To povprečno hitrost primerjamo z grafično dobljeno povprečno hitrostjo in zapisa peresa za trenutno hitrost. Pero za zapisovanje opravljene poti ne sme pisati stopničaste črte. Če tukaj opazimo znatna odstopanja ali stopničasto zapisovanje, moramo obvestiti o tem Zavod.
Položaj peresa za zapisovanje trenutne hitrosti kontroliramo vsak dan, ko menjamo trak. Ko snamemo obe cevi za pritisk, mora pero stati na ničelni črti. Če od te odstopa, ga privedemo na ničlo s pomočjo vijaka, ki se nahaja pod osjo z držalom.
Posebno pozornost moramo posvetiti mazanju. Ležaje (19), (21) in (30) mažemo kot je opisano v 7.5.12. V ležaj (20) dajemo posebno mast za ležaje, ostale ležaje in sklepe pa mažemo s strojnim oljem.
Dvakrat letno kontroliramo ležaje ter jih naoljimo in sicer: spomladi, da pripravimo instrument za delovanje, poleti ter jeseni, da ga pripravimo za delovanje pozimi. Osi nad plavačem ne mažemo.
Nobenega dela anemografa se ne smemo dotikati, da bi spoznali njegovo delovanje; to je dovoljeno le v prisotnosti izkušenega strokovnjaka.
7.5.16. ČIŠČENJE PITOTOVE CEVI
Pogosto se dogaja, da je odprtina (12), skozi katero deluje zrak (Pitotova cev), delno zamašena s pajčevino, rastlinskimi deli in mrčesom. To odprtino čistimo vsaj enkrat mesečno s posebno ščetko, ki jo dobimo od Zavoda. Če nimamo ščetke, damo v zanko na koncu žice malo prediva ali krpico in čistimo s tem. Zanko moramo dobro stisniti, da ne bi kaj prediva ali krpice ostalo v cevi.
Pozimi se dogaja, da se Pitotova cev napolni s snegom, ivjem ali ledom. To odpravimo tako, da cev očistimo ali stalimo sneg ali led.
Lahko se tudi zgodi, da notranjost Pitotove cevi zarjavi in postane hrapava, kar moti pravilen tok zraka po cevi. Ko to opazimo, moramo poklicati pristojnega strokovnjaka, da očisti cev.
Vsaka od teh motenj bolj ali manj zmanjšuje vrednost trenutne hitrosti vetra, ki jo zapisuje pero na valju ali jo kaže indikator hitrosti (7.5.17.). Zato je zelo važno, da motnjo čim prej odkrijemo. Zato mora opazovalec od časa do časa primerjati vrednosti, ki jih daje anemograf z vrednostmi, ki jih kaže istočasno zanesljiv anemometer.
Vsako neprevilnost, ki jo opazimo, moramo zapisati v Dnevnik opazovanj in v Mesečno poročilo, skupaj z datumom in uro, ko smo opazili nepravilnost in ko je bila nepravilnost odstranjena.
7.5.17. ELEKTRIČNI INDIKATOR SMERI IN HITROSTI VETRA
V Fuessov univerzalni anemograf je navadno vgrajena električna naprava za prenos smeri in hitrosti vetra na daljavo. Ta naprava je sestavljena iz sledečih delov:
Kolektor in generator sta vgrajena v valjasto škatlo (2) (sl. 68), kjer sta priključena na ustrezne zobnike za smer in hitrost vetra. Kolektor ima priključke za 8 smeri vetra, s pomočjo katerih se vključujejo žarnice v sobnem indikatorju. Generator proizvaja električni tok z vrtenjem vrtavke. Električna napetost je sorazmerna hitrosti vrtenja, t.j. hitrosti vetra.
Sobni indikator smeri (sl. 74) ima obliko ure in ima 8 arnic za 8 smeri vetra. Žarnice vetra po roži z 8 smermi. Če istočasno svetita dve žarnici, je smer vetra med osvetljenima smerema.
Tudi sobni indikator hitrosti (sl. 75) ima obliko ure in ima 8 žarnic za 8 smeri vetra. Žarnice zasvetijo ob pritisku na gumb (pri opazovanju). Vsaka žarnica označuje določeno smer vetra po roži z 8 smermi. Če istočasno svetita dve žarnici, je smer vetra med osvetljenima smerema.
Tudi sobni indikator hitrosti (sl. 75) ima obliko ure, s kazalcem in dvema skalama za hitrost vetra v metrih na sekundo. Zgornja skala kaže hitrosti do 40 m/s in normalno je ta vključena. Spodnjo skalo uporabljamo samo s pritiskom na gumb v vogalu škatle; ta skala nam daje točnejše vrednosti pri hitrostih vetra pod 20 m/s.
![]() |
![]() |
Slika 74. Sobni indikator smeri vetra |
Slika 75. Sobni indikator hitrosti vetra |
7.5.18. FUESSOV INIVERZALNI ELEKTRIČNI ANEMOGRAF
7.5.18.1. SPLOŠNO O ANEMOGRAFU
Glavne značilnosti Fuessovega univerzalnega anemografa (tip 90z), ki spada med novejše izdelke te firme, so sledeče:
7.5.18.2. OPIS
Anemograf sestavljajo tile deli:
7.5.18.3. SPREJEMNI DEL - DAJALNIK
podatke o trenutni hitorsti vetra posreduje Robinzonov križ, ki ima na os pritrjen rotor generatorja izmeničnega toka (sl. 76). Veter obrača Robinzonov križ in s tem ustvarja izmenični tok, sorazmeren hitrosti vetra. Ta toka se po kablu preneša do razdelilne škatle in tam ga diodni usmerniki v Graetzovem stiku pretvorijo v istosmernega; enosmeren potem teče do registratorja.
Tudi desetminutno povprečne hitrosti vetra dobimo z vrtenjem Rovbinzonovega križa, ki po določeni opravljeni poti vetra izmenoma daje tri električne impulze. Ti impulzi se po kablu prenešajo na pisalo - registrator in se tam zbirajo 10 minut. To zbiranje je v bistvu stopničasto registriranje hitrosti vetra s pomočjo pisala, ki se po 10 minutah spet vrača v prvotno, ničelno lego.
Smer vetra se kontinuirano prenaša s smerokaza na registrator, prav tako slektrično. Kombinacija nepremičnih uporov, gibljivega istosmernega električnega polja in rotorja iz permanentnega magneta omogoča, da se rotor, ki je v tem primeru del registratorja, obrača popolnoma enako kot vetrokaz, ki je izpostavljen vplivu vetra.
7.5.18.4. REGISTRATOR - PISALO
V registratorju (sl. 77) se nahajajo električni merilni instrumenti, ki so preko razdelilne škatle s kablom povezani z dajalnikom. Prvi zapisuje trenutno hitrost vetra, drugi desetminutno povprečno hitrost in tretji smer vetra. Pod njimi se nahaja v vodoravni legi valj z urnim mehanizmom, na katerega pritrdimo registrirni trak iz posebnega papirja. Namesto peresa so drobne kovinske paličice, ki električno prežigajo registrirni trak. V zgornjem desnem kotu registratorja se nahajajo trije gumbi, s katerimi reguliramo debelino pisanja - črte. Če obrnemo gumb v smeri (+), bo črta debelejša, če ga obrnemo v smeri (-), bo pa tanjša. Vsi trije gumbi, kot tudi stikala pod njimi, so razporejeni enako, kot merilni instrumenti, torej “trenutna hitrost”, “desetminutni povpreček” in “smer”. Omenjena stikala služijo za izključitev vsakega sistema posebej, ko menjamo pero ali odstranjujemo nečistoče iz njegove konice.
Pri menjavi peresa položimo levi kazalec na vzvod, na katerem se nahaja pero in z nohtom levega palca pritisnemo vzmet na vzvodu. Tako smo osvobodili pero in ga lahko s pinceto potegnemo iz ležišča v smeri navzgor. Pri vstavljanju novega peresa postopamo enako. Pero mora gledati dva do tri mm iz navpične cevke, ki ga drži.
Posebno pozornost moramo posvetiti menjavi peresa na sistemu za zapisovanje smeri vetra. Tu se nahaja 6 peres. Od njihove dolžine je odvisno, če bodo na anemogramu zapisi smeri vetra na točno določenem mestu.
Urni mehanizem je enodneven. Navijemo ga vsak dan pri menjavi traku. Trak menjamo tako, da s posebno ročico osvobodimo valj in ga spustimo v spodnji položaj. V tem položaju je valj odmaknjen od registrirnih peres vseh merilnih sistemov. Popisan trak ločimo od valja in ga za spodnji konec povlečemo ven. Nov trak vstavimo pod valjem in ga porinemo navzgor, nato pa ga pritrdimo na valj.
V nasprotju s podobnimi urnimi mehanizmi je obračanje tega valja omejeno z dvema točkama, med katerima se lahko obrača. Ta omejitev je zaradi tega, da registrirna peresa nikakor ne morejo priti do tistega dela, ki pritrjuje trak k valju. Zato moramo pri nameščanju novega traku in naravnavanju snemograma na točen čas vedno zavrteti valj v začetni položaj. Potem dvignemo valj na začetno višino.
7.5.18.5. RAZDELILNA NAPRAVA
V razdelilni napravi, ki jo montiramo v neposredni bližini registratorja, se nahajajo priključki za vse dele anemografa. Poleg tega so v njej upori za kompenzacijo dolžine vodov, upori za umerjanje, diodni usmerniki ter glavno stikalo za istosmerno napetost, ki je potrebno za registracijo desetminutnega povprečka in sistema za zapisovanje smeri vetra.
7.5.18.6. USMERNIK
Posebni del anemografa je tako imenovani suhi usmernik, ki pretvarja izmenično napetost v istosmerno. Obenem pa transformira napetost 220 V na 36, 42 oziroma 48 V, ki je potrebna za zapisovanje smeri vetra in desetminutnega povprečka. Na sprednji strani usmernika se nahaja voltmeter, ki kaže, na kateri napetosti umernik deluje.
7.5.18.7. DALJINSKE POSTAJE
Ena od prednosti tega anemografa je v tem, da je možno istočasno priključiti več tak oimenovanih daljinskih postaj. V bistvu so to indikatorji smeri in trenutne hitrosti vetra, ki delujejo vzporedno z glavnim registratorjem in so lahko od njega precej oddaljeni. Daljinske postaje so primerne predvsem za uporabo na letališčih, kjer se glavni registrator nahaja v meteorološki postaji, indikatorji pa delujejo vzporedno v kontrolenm stolpu ali na drugih mestih, kjer je to potrebno. Na en anemograf lahko normalno priključimo štiri take daljinske postaje.
7.5.18.8. POMOŽNI PRIBOR
V pomožni pribor anemografa spada posebno prozorno ravnilo, ki ga uporabljamo pri natančnem odčitavanju trenutne hitrosti vetra z anemograma. Vsak instrument ima svoje ravnilo s tovarniško številko in to ravnilo spada samo k temu instrumentu.
V mreži imamo poleg Fuessovih tudi precej drugih anemografov; med njimi je največ Lambrechtovih, ki delujejo na podobnem principu kot zgoraj opisani Fuessov anemograf.
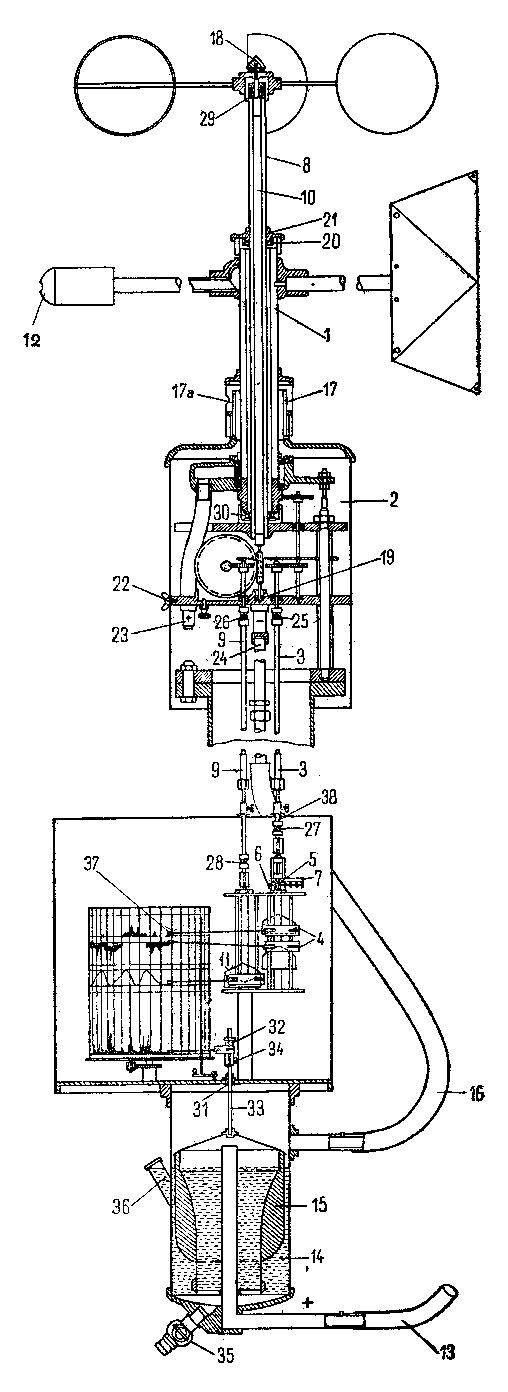
7.6.1. OPIS ANEMOGRAFA
Lambrechtov anemograf ima priprave za zapisovanje smeri, trenutne hitrosti in oparavljanje poti vetra. Sprejemnike za vse tri elemente postavimo na streho, medtem ko se registrirni del najaja v sami stavbi in mora biti točno v osi s sprejemnim delom.
7.6.2. OPIS SPREJEMNIKA ZA SMER, HITROST IN OPRAVLJENO POT VETRA
Sprejemnik za smer vetra (1) (sl. 78 A in B) je v bistvu smerno krilo, pritrjeno na navpično cev (2), ki je vsajena v valjasto škatlo (3). Obračanje smernega krila se prenaša z valjaste škatle na navpično palico (4), katere spodnji konec se nahaja v škatli (5), v kateri je registrirni del instrumenta. Sprejemnik mora biti v osi z registrirnim delom, tako kot pri Fuessovem anemografu.
Sprejemmik za trenutno hitrost vetra je Venturijeva cev (6), katere odprtina se, tako kot smerno krilo, vedno obrača v smer pihanja vetra. Venturijeva cev je povezana z aneroidom v registratorju (7) s posebno bakreno cevjo (8). Ko teče zrak skozi Venturijevo cev (ta je na obeh straneh odprta, v sredini pa se zoži), se iz bakrene cevi in aneroida izsesava zrak. Notranjost aneroida je povezana z notranjostjo bakrene cevi. Na ta način prihaja do razlike med pritiskom v notranjosti aneroida in pritiskom izven njega, kar povzroči, da se aneroid stisne. To se preko vzvodov prenaša na pero (9), ki zapisuje trenutno hitrost vetra na levi strani diagrama. Čim večja je hitrost vetra, tem bolj se aneroid stisne in pero se bolj odkloni.
Sprejemnik za opravljeno pot vetra je rotacijski anemometer (sl. 78 B). Pri tem anemometru deluje veter na sistem skodelic, ki krožijo in po opravljeni poti 1000 m preide v ohišju anemometra do električnega kontakta, ki se po prevodniku prenese na registrator. Opravljeno pot vetra zapisuje srednje pero na diagramu.
7.6.3. NAPRAVA ZA ZAPISOVANJE
Naprava za zapisovanje vseh treh elementov vetra (11) se nahaja v kovinski škatli (sl. 79), ki ima na zgornji strani priključke za zvezo s sprejemniki na strehi postaje. Smer vetra se mehanično prenaša s krila po navpični palici (4) na mehanizem v škatli, ki nosi kovinski trak s tremi peresi za zapisovanje. Eno pero, odvisno od smeri, se vedno dotika diagrama, medtem ko sta drugi dve odmaknjeni.
Trenutno hitrost vetra sprejema pero na levi strani registratorja, ki je povezano z aneroidom. Notranjost aneroida je povezana z bakreno cevjo, ki se končuje s kovinsko cevko (12). Na to cevko je priključena bakrena cev, ki je z zgornjim koncem povezana z Venturijevo cevjo.
7.6.4. VALJ Z URNIM MEHANIZMOM
Valj z urnim mehanizmom (sl. 79) (10) je podoben valju Fuessovega anemografa, zavzema pa vodoravno lego in se vrti od zgoraj navzdol. Valj ima dnevni hod.
7.6.5. TRAK (ANEMOGRAFA)
7.6.6. PERESA ANEMOGRAFA
Peresa so za ta anemograf kovinska in imajo obliko posodice s stekleno ali kovinsko kapilarno cevko, skozi katero teče črnilo.. Peresa so podobna tistim pri Fuessovem anemografu. Kapilarno cevko na peresu moramo precej pogosto čistiti z zelo tanko jekleno žico, ki jo dobimo skupaj s peresi.
7.6.7. POSTAVITEV ANEMOGRAFA
Glede izbire prostora za postavitev anemografa velja vse, kar je bilo rečeno o postavljanju Fuessovega anemografa (7.5.11.). Anemograf postavljajo samo pooblaščeni strokovnjaki.
7.6.8. MENJAVA TRAKU IN URAVNAVANJE PERES
Trak anemografa menjavamo vsak dan ob 8. uri po lokalnem času, urni mehanizem pa navijamo enkrat tedensko (ob ponedeljkih).
Pred menjavo moramo trak pazljivo obrezati, potem pa ga damo na valj z urnim mehanizmom. Nato kontroliramo pol ožaje peres, ki morajo stati na istem časovnem razdelku. Začetni položaj peresa za zapisovanje trenutne hitrosti vetra preverimo na ta način, da snamemo gumijasti nastavek na kovinski cevki (12, sl. 79), ki povezuje bakreno cev s sprejemnikom. Ko snamemo en konec gumijaste cevi, mora pero za trenutno hitrost vetra kazati nič. Če se pero ne ustavi na ničli, ga privedemo tja s pomočjo vijaka na prenosnem sistemu.
7.6.9. PREVERJANJE DELOVANJA IN VZDRŽEVANJA ANEMOGRAFA
Preverjanje pravilnega zapisovanja smeri vetra opravimo najmanj enkrat na leto. To preverjanje je skoraj identično onemu pri Fuessovem anemografu (7.5.15.).
Pero za zapisovanje trenutne hitrsoti vetra kontroliramo na že opisan način. Pri odpiranju registrirnega dela, pri navijanju urnega mehanizma, pri menjavi traku, čiščenju peres itd. moramo posebej paziti, da se ne dotikamo aneroida, ki je zelo občutljiv na mehanske vplive. Od pravilnosti delovanja aneroida je odvisna točnost zapisovanja trenutne hitrosti vetra.
Delovanje peresa za zapisovanje opravljene poti vetra kontroliramo na enak način kot pri Fuessovem anemografu. Po vsakih 1000 m poti, ki jo je opravil veter, mora pero napraviti kratko vodoravno črtico, kakršnih mora biti pet v enem intervalu skale na diagramu. Pero mora pisati v obliki stopnic z leve na desno do zadnje linije, ki pomeni 50 km, potem pa se vrne na levo stran diagrama. Opravljeno pot v km primerjamo z zapisom trenutne hitrosti vetra.
7.6.10. ČIŠČENJE VENTURIJEVE CEVI
Venturijevo cev čistimo in vzdržujemo na enak način kot Pitotovo cev pri Fuessovem anemografu.
7.7.1. UVOD
Da bi dobili točne podtke o hitrostih vetra, ki so izmerjene z anemometri in anemografi, moramo dobljene vrednosti z instrumenta popraviti po korekcijskem listu, ki ga mora imeti vsak instrument. Za anemometre in anemografe izdajajo korekcijske liste v obliki grafikonov in sicer:
V obeh listih so podtki z instrumentov pri rzaličnih hitrostih vetra vrisani s temno črto na milimetrsko podlago.
![]() |
![]() |
Slika 81. Korekcijski list A Povečaj sliko |
Slika 82. Korekcijski list B Povečaj sliko |
7.7.2. NAČIN UPORABE KOREKCIJE
Pri anemometrih, ki kažejo pot vetra, vsebuje korekcijski list na levi strani od vrisane črte opravljeno pot vetra v metrih na minuto, kot jo kaže instrument, na desni strani pa resnično hitrost vetra, oziroma popravljeno stanje instrumenta. Razmak med dvema vodoravnima črtama na levi strani diagrama pomeni 10 m opravljene poti vetra, razmak med dvema vertikalnima črtama na desni strani diagrama pa predstavlja 0,2 m/s.
Da bi na osnovi izmerjene hitrosti vetra na instrumentu v metrih na minuto dobili dejansko hitrsot vetra, moramo ravnti takole:
Primer 1:
Vzemimo, da smo z instrumentom izmerili, da je veter v 10 minutah opravil pot 6000 m.
V eni minuti je to 600 m. Na levi strani diagrama poiščemo vrednost 600 in jo vodoravno
privedemo do preseka z vrisano črto. Presečišče je v točki 0 (sl. 81). od presečišča 0 se
spustimo navpično in preberemo hitrost vetra v m/s, ki za ta primer znaša 10.4 m/s.
Primer 2:
V eni minuti je veter opravil 1110 m. Po tabeli popravkov je dejanska hitrost vetra 18,1
m/s.
Pri anemometrih, ki kažejo hitrost vetra neposredno v m/s (električni ročni, elekrtični daljinski, pri Fuessovem anemografu Pitotova cev) uporabljamo list B. Korekcije opravljamo enako, kot je zgoraj opisano.
Na anemometru smo prebrali hitrost vetra 10,0 m/s. To vrednost poiščemo na levi strani lista ter jo preko vrisane črte privedemo na desni rob in dobimo popravljeno vrednost 10,0 m/s. V tem primeru instrument pri hitrosti 10,0 m/s nima instrumentalne napake, medtem ko je za na instrumentu odčitano hitrost 20,9 m/s prava vrednost 20,0 m/s.