Cilj merjenja padavin je, da dobimo potrebne podatke o padavinah na področju kraja, kjer opavljamo opazovanja. Padavine so pomemben element vremena in klime, ker so od množine ter od razporeditve padavin po ltnih dobah odvisni življenjski pogoji in gospodarske dejavnosti vsakega kraja.
10.2.1. OMBROMETER (DEŽEMER)
Ombrometer nam služi za merjenje množine padavin. Pri nas uporabljamo Hellmannov tip ombrometra(sl. 84), ki je narejen iz pocinkane pločevine in je valjaste oblike. Visok je okoli pol metra in pobarvan z belo oljnato ali aluminijevo barvo. Vsaka glavna meteorološka postaja, na kateri merimo padavine, mora imeti dva ombrometra. Eden ves čas stoji na prostoru, določenem za merjenje padavin, drugega pa rabimo za zamenjavo.
10.2.2. OPIS
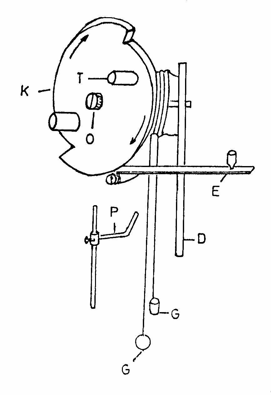
|
Ombrometer ima naslednje dele in pribor (sl. 84 in 85):
Zgornja posoda (G) ima na zgornji strani odprtino (O), v kat3ero padajo padavine. Odprtina je obdana z medeninastim obročem (P), ki ima oster rob. Premer odprtine (O) je 159,6 mm, površina pa 200 cm2. Na notranji strani je pri dnu pritrjen lijak (L), skozi katerega teče voda od padavin v kanglico (B). Dna zunanji strani zgornje posode se nahaja nastevek (U), ki ga pri nameščanju zgornje posode nasadimo na nosilec (N). Zgornja posoda pride preko spodnje. Spodnja posoda (D) ima ravno dno s prtrjenim ležiščem, na katerem stoji kanglica (B). Ležišče drži kanglico točno v sredini posode, tako da konec lijaka nemoteno vstopa v vrat kanglice. Na ta način je kanglica ločena od sten posode, da se ob sončnem vremenu voda v njej ne bi preveč segrela in bi manj izhlapela. Železni nosilec (N) ima obliko vodoravnega križa, na katerem stoji dno ombrometra. En krak križa je daljši in je zavit navzgor pod kotom 90o. Ta konec je s tremi vijaki pritrjen na lesen kol. Na zgornji konec nosilca, ki je malo ukrivljen, nasadimo nastavek zgornjega dela posode. |
10.2.3. POSTAVLJANJE OMBROMETRA
Na glavnih meteoroloških postajah, kjer merimo tudi druge meteorološke elemente, postavimo ombrometer na opazovalnem prostoru, kot kaže sl. 1.
Na mestu, kjer bo stal ombrometer, zabijemo kol v tla tako, da je najvišji rob poševno prisekanega vrha obrnjen proti severu in približno 90 cm nad tlemi. Na strani z najvišjim robom s tremi vijaki pritrdimo nsoilec. Pri tem moramo paziti, da je odprtina ombrometra:
Kol za ombrometer je lahko tudi iz drugih materialov, npr. iz železa ali pocinkane cevi. V vsakem primeru mora biti stabilen in usstrezati mora zgoraj navedenim pogojem, ki se nanašajo na lesen kol.
V krajih, kjer snežna odeja dosega debelino nad pol metra, postavimo ombrometer višje (do 2 m nad tlemi). V tem primeru mora biti kol daljši.
Odprtine ombrometra in ombrografov na območju glavne meteorološke postaje morajo biti enako visoke nad tlemi.
10.2.4. VZDRŽEVANJE OMBROMETRA
Ombrometer moramo skrbno čuvati pred poškodbami in ga vzdrževati v brezhibnem stanju. Posebno moramo skrbeti:
Ombrometer vedno postavljamo tako, da je kol an južni, ombrometer pa na severni strani. To je zaradi tega, da se v sončnih dneh ombrometer ne bi preveč segrel, s tem pa se zmanjša izhlapevanje vode v njem.
10.3.1. SPLOŠNO O MERJENJU PADAVIN S POMOČJO OMBROMETRA
Mera za množino pdavin je debelina vodne plasti, ki bi jo dobili na vodoravnih tleh od padavin, če ne bi nič te vode odteklo, izhlapelo ali je pronicalo v zemljo.
Debelino plasti vode izražamo v milimetrih in v desetinkah milimetra. Debelina plasti 1 mm pomeni na površini 1 m2 1 l vode. Ker ima odprtina ombrometra površino 200 cm2, t.j. 1/50 m2, pomeni 1 mm padavin v ombrometru 1/50 l vode, oz. 20 cm3 ali 20 g vode, 0,1 mm padavin pa je 2 cm3 ali 2 g vode.
Debelino snežne odeje merimo z debelino snežne plasti na ravni površini (10.7.). V groben odgovarja debelina 1 cm novo zapadlega snega 1 mm debeli plasti vode.
10.3.2. ČAS MERJENJA PADAVIN
10.3.2.1. REDNO MERJENJE
Na glavnih meteoroloških postajah merimo množino padavin ob 1., 7., 13. in 19. uri po SEČ-u. Z rednim merjenjem ob 7. uri ugotavljamo množino padavin v preteklih 24 urah, To množino vpišemo v Dnevnik in Mesečno poročilo kot množino padavin za ta dan, ko meritev opravimo, čeprav so lahko v tem vseboavne tudi padavine od preteklega dne ali celo samo od preteklega dne. Ne glede na to, če je opazovalec v preteklih 24. urah opazil kakšne padavine ali ne, mora vsak dan ob 7. uri pogledati, če je v ombrometru kaj vode (ali v zgornji posodi nestaljen led). Opazovalec ugotovi, če je v kanglici voda tako, da nagne kanglico nad menzuro.
Če opazovalec domneva, da je voda v kanglici zmrznila, mora cel ombrometer zamenjati z rezevnim, zaledenelega pa odnese v topel prostor, kjer se led počasi stali in izmeri voda z menzuro.
10.3.2.2. IZREDNE (DODATNE) MERITVE
Izredne (dadatne) meritve opravljamo v naslednjih primerih:
Izrednih meritev je lahko čez dan več, vendar ne izklučujejo redne meritve ob 7. uri, katere ne smemo izpustiti. Množine padavin, ki jih dobimo pri izrednih meritvah, prištejemo k množini naslednje redne meirtve ob 7. uri in tako dobimo celotno množino padavin v 24. urah (od včeraj 0b 7. do danes ob 7. uri).
Množine padavin od 13. in 19. ure prejšnjega dne, kot utid množine padavin od 1. ure naslednjega dne, merjeno po SEČ-u, upoštevamo kot množine padavin izrednih meritev in jih prištejemo k rednemu merjenju ob 7. uri naslednjega dne.
10.3.3. MERJENJE PADAVIN V TEKOČEM STANJU
Pri merjenju padavin v tekočem stanju postopamo takole:

Ko jemljemo iz ombrometra kanglico, moramo vedno pogledati, če je na dnu posode kaj vode, in če je, moramo tudi to naliti v menzuro in jo meriti z ostalo vodo.
Če množina vode v kanglici prekorači 10 mm, jo merimo tako, da menzuro večkrat napolnimo, vsakič malo manj kot 10 mm ali ravno 10 mm in vsakokrat natančno odčitamo cele milimetre in deseinke, vse odčitane vrednosti pa seštejemo.
Preden odidemo od ombrometra, moramo spet skrbno namestiti ombrometer in se pri tem prepričati: da kanglica v spodnji posodi ne stoji postrani, da je lijak točno v vratu kanglice in da nastavek na zgornji posodi lepo sede na zgornji del nosilca.
10.3.4. PRIMERI ODČITAVANJA VIŠINE VODE V MENZURI

| prvič smo nalili in namerili | 9.6 mm |
| drugič smo nalili in namerili | 10,0 mm |
| tretjič smo nalili in namerili | 9.8 mm |
| četrtič smo nalili ostanek in namerili | 4,7 mm |
| v celoti smo namerili | 34,1 mm |
Množina padavin 11. oktobra je bila torej 34,1 mm (štiriintrideset celih in ena desetinka milimetra)
Opombe:
10.3.5. MERJENJE PADAVIN V TRDI OBLIKI
Če pri merjenju ugotovimo, da je v obmrobmertru nastaljen sneg, moramo cel ombrometer sneti z nosilca in ga odnesti v topel prostor, na njegovo mesto pa postavimo drug ombromere. Sneg, ki se je oprijel ombrometra na zunanji strani, odstranimo. Ombrometra s snegom ne moremo postaviti na peč ali blizu peči, ampak malo stran in ga moramo pokriti z deščico ali lepenko, da med taljenjem čim manj vode izpari. Ko se ves sneg stali, izmerimo vodo z menzuro na enak način kot dežnico.
Če najdemo v zgornji posodi ombrometra pri merjenju nastaljena zrna toča, sodre, babjega pšena ali zmrznjenega dežja, je postopek enak kot pri snegu. Enako ravnamo tudi v primerih, če se znotraj zgornje posode nahaja slana, ivje ali led.
Če nimamo časa za čakanje, da bi se padavine v trdnem stanju počasi stalile, npr. če moramo nujno poslati sporočilo o množini (npr. na glavnih meteoroloških postajah), lahko ombrometer, skupaj s padavinami, stehtamo na točni tehtnici; natančnost tehtanja mora biti 1 do 2 grama. Za take primere morajo biti ombrometri stehtani prazni, njihove teže pa napisane na samih ombrometrih. Ko stehtamo ombrometer s padavinami, odštejemo težo praznega ombrometra (tara). Dobljena razlika v gramih je teža padavin. To razliko delimo z 20 in dobimo količino padavin v mm vodne plasti.
Primer:| 2395 g | |
| 2367 g | |
| 28 g |
Tako dobljeno vrednost alhko uporabljamo samo za dejanje depeš. Ombrometer s padavinami v trdnem stanju pa odnesemo v topel prostor. Ko se padavine stale, jih, kot običajno, izmerimo z menzuro in to vrednost vpišemo v Dnevnik.
10.3.6. NEKATERI IZJEMNI PRIMERI PRI MERJENJU PADAVIN
Če se nam razbije menzura, moramo kljub temu izmeriti množino pdavin. Če je od razbite menzure ostalo toliko, da lahko izmerimo vsaj kakšen milimeter vode, si pomagamo s tem ostankom menzure tako, da ga večkrat napolnimo. Če pa se je menzura popolnoma razbila, izmerimo vodo z navadno (lekarniško) menzuro ali pa na čim točnejši tehtnici.
Pri merjenju padavin z navadno menzuro, katere skala kaže kubične centimetre, moramo vsaka dva kubična centimetra računti kot 0,1 mm. Na primer: menzura pokaže 27 1/2 cm3; ko to količino delimo z 2, dobimo približno 13,8 (zaokrožeho na 1,4), kar pomeni, da znaša množina padavin 1.4 mm.
Če padavine merimo s tehtnico, stehtamo najprej kanglico z vodo, potem pa še prazno kanglico. Dobljeno težo vode v gramih delimo z 20 in dobimo množino padavin v mm.
Primer: Kanglica skupaj z vodo tehta 245 g, sama kanglica pa 178 g; teža vode je torej 245-178= 67 g. Ko 67 delimo z 20, dobimo 2,4 mm padavin.
Če nikakor ni bilo možno izmeriti množine padavin na enega od opisanih načinov, priporočamo, da opazovalec shrani vodo od posameznih dni v posebnih, zamašenih steklenicah (za vsak dan posebna steklenica) in opravi merjenja potem, ko dobi novo menzuro.
Če zaradi izrednih razmer za en dan ali več izostane merjenje padavin, izmerimo takoj, ko je mogoče, celo množino, ki jo dobimo v ombrometru, v Dnevnik pa napišemo točno, v katerih dneh nismo opravili meritev,katerega dne in ob kateri uri smo izmerili zbrano množino in koliko je meritev pokazala. V splošnem, kadarkoli se z ombrometrom ali pri merjenju zgodi kaj nenavadnega, kar meritev prepreči, pokvari ali napravi nezanesljivo, moramo v Dnevnik napisati tično in po resnici, kaj se je zgodilo, kaj smo ugotovili in kako smo postopali.
10.4.1. OPIS
Za merjenje padavin v gorskih predelih, kjer je več padavin, uporabljamo poseben višinski ombrometer (sl. 89). Je enake oblike ali ima enake dele kot navaden (Hellmanov) ombrometer, je pa večji. Visok je 65 cm, površina odprtine pa je pri njem 500 cm2.
Višinski ombrometer stoji na posebnem železnem trinožniku, visokem okoli 2 m. Zgornji del trinožnika je obdan s tremi železnimi obroči, v katerih stoji ombrometer. Ombrometer vstavimo v obroče od spodaj. Da ombrometra ne bi mogli potegniti iz obročev navzgor, preprečuje jeziček, pritrjen na zunanji strani spodnjega roba gornje posode, spodaj pa ga držita dva vodoravna vzvoda. Noge trinožnika so tako dolge, da je odprtina ombrometra 2 m nad tlemi.
Meteorološke postaje, na katerih je višinski ombrometer, morajo imeti dva taka ombrometra, tako da je eden postavljen, drugi pa je pripravljen za zamenjavo. K višinskemu ombrometru spada posebna menzura, ki ustreza površini odprtine ombrometra, ki znaša 500 cm2.
10.4.2. POSTAVLJANJE IN VZDRŽEVANJE
Splošni pogoji pri izbiri prostora za postavitev višinskega ombrometra so isti kotza postavitev navadnega ombrometra (10.2.3.). Isti so tudi postopki za ravnanje s tem ombrometrom in za njegovo vzdrževanje. Noge trinožnika so pritrjene na tla s kamni in z betonom. Odprtina ombrometra mora biti vodoravna, kar dosežemo z libelo.
10.4.3. MERJENJE PADAVIN S POMOČJO VIŠINSKEGA OMBROMETRA
Vsa določila glede časa in načina merjenja padavin, ki veljajo za navadni ombrometer (10.3.), veljajo tudi za višinskega. Edina razlika je v tem, da pri višinskem ombrometru uporabljamo menzuro, ki ima 2,5 krat tolikšno prostornino kot navadna. Če nimamo posebne menzure, lahko padavine merimo tudi z navadno menzuro, le da pri tem dobljeno število milimetrov delimo z 2,5.
10.5.1. OPIS
Za taljenje padavin v trdnem stanju in za preprečevanje zmrzovanja tekočih padavin je pozimi v totalizatorju raztopina 4 kg pečenega kalcijevega klorida (CaCl2) in 7 l vode, kar ustreza ledišču pri -40°C. Za preprečevanje izhlapevanja damo v totalizator za zimsko obdobje 600, za poletno obdobje pa 1000 gramov tehničnega vazelinskega olja s specifično težo okoli 0,8 kg/dm3.
10.5.2. PRIPRAVA ZA POSTAVITEV TOTTALIZATORJA
Pred odhodom na teren moramo na Zavodu natančno pregledati vse dele totalizatorja, se prečričati o njihovi brezhibnosti in poskusno montirati vse dele ter ga poskusno napolniti z vodo.
Poleg delov totalizatorja in orodja moramo vzeti s seboj še orodje za vkopavaje in betoniranje stojala (lopato, kramp, zidrasko žlico itd.) ter potreben material (cement, pesek, gramoz, vodo), če tega ni že na mestu postavitve.
Raztopino kalcijevega klorida (CaCl2) pripravijo pred odhodom na Zavodu. V ta namen vzamemo omejeno raztopino 4 kg CaCl2 in 7 l vode, dobro premešamo in pustimo stati en dan. Potem z areometrom določimo specifično težo, ki mora biti 1,28 g/cm3. Od te raztopine odvzamemo 450,0 mm (to namerimo s točno litrsko steklenico ali z menzuro) in jo, skupaj s 600 g vazelinskega olja, katerega damo v vsak totaliztor, vlijemo v posebno kanto za 10 l, ki ima zamašek in vijak.
10.5.3. POSTAVLJANJE
Prostor za postavitev totalizatorja ne sme biti izpostavljen premočnemu vetru, tudi ne sme biti v zavetju, kjer nastajajo snežžni zameti, niti v kakšni vrtači, kamor bi lahko veter nanesel sneg iz okolice. Prav tako ne sme bti totalizator blizu visokih dreves ali skal, kibi v vetrovnem vremenu ovirali padanje dežja ali snega v totalizator. Zaželjeno je, da je totalizator blizu kakšne gorske koče ali pastirske kolibe, da bi bile vsaj v poletnih mesecih kolikor toliko pod nadzorstvom za to zadolžene osebe.
Na prostoru za postavitev totalizatorja najprej damo obroče na posodo totalizatorja, vijakov pa še ne privijemo povsem. Potem namestimo noge totalizatorja av ležišča na obročih ter dobro privijemo vijake. Zdaj dvignemo totalizator in ga postavimo na določeno mesto, da označimo mesta, kjer bomo kopali luknje za noge. Potem totalizator spet spustimo na tla ter mu nataknemo vetrobran, v tla pa izkopljemo luknje, globoke 60 cm, s premerom okoli 40 cm. Na eno nogo totalizatorja pritrdimo tri stopnice, ki jih rabimo samo pri postavljanju, polnjenju in praznjenju totalizatorja.
Ko so luknje izkopane, dvignemo totalizator in postavimo stojalo v luknje. Ena oseba spleza do odprtine totalizatorja in z libelo kontrolira, da je odprtina v ovdoravnem položaju. Ko smo to opravili, nalijemo raztopino v totalizator; če postavljamo v poletnih mesecih, nalijemo v posodo 1000 g vazelinskega tehničnega olja (zelene barve), če posaviljamo jeseni, raztopino kalcijevega klorida (10.5.1.). Zdaj snamemo stopnice in zabetoniramo noge totalizatorja. Pri tem pazimo, da kamenje dobro zalijemo z betonom, da ne ostane niti najmanjša votlinica, površina betona pa mora imeti tenko plast glazure.
10.5.4. OPAZOVANJE
Po možnosti merimo padavine v totalizatorju dvakrat na leto in to enkrat poleti, drugič pa jeseni. Točen datum določi Zavod glede na pristojnost terena in na začetek oz. konec zmrzali na mestu, kjer je totalizator. Jesensko merjenje je obvezno, ker se hidrološko leto šteje od 1. oktobra do 30. septembra.
Opazovanje sestoji iz praznitve totalizatorja in merjenja množine padavin v njem. Na samem mestu je postopek sledeč:
Orodje, ki ga uporabljamo pri opazovanju totalizatorja ter posode za nošenje in merjenje tekočine, dobimo na Zavodu.
10.6.1. NAMEN IN VRSTE
Za ugotavljanje časa začetka in konca padanja ter jakosti in množine padavin uporabljamo ombrograf. Pri nas uporabljamo Hellmannov ombrograf in ombrograf znamke “Hidrometer”. Ta dva ombrografa se med seboj ne razlikujeta bistveno. Povsem jima je podoben tudi ombrograf ruske izdelave. Njihove značilnosti so omenjene kasneje, v opisu the instrumentov.
10.6.2. OPIS HELLMANNOVEGA OMBROGRAFA
Kadar se gladina vode v valju divgne do višine, ki ustreza okrog 9 mm na diagramu, začne kolenast vzvod dvigati desni konec zavore. V trenutku, ko pero na diagramu doseže višino 10 mm, se plošča osvobodi zavore, eden od sprožilcev na njej pa udari ob vrh pokončne palice (Š) (sl. 91). Ob udarcu se plavač potopi in iztisne vodo iz posode, tako da se ta prelije po nategi in izprazni cilinder. Takoj po udarcu se zavora dvigne z levim koncem in se zapne za naslednjo zarezo na plošči. Po nekaj zaproednih izpraznitvah ombrografa sekovinska utež spusti blizu posode za zbiranje vode, nakar jo je treba ponovno divgniti; to dosežemo s tem, da potegnemo navzdol plastično utež.
10.6.3. POSTAVLJANJE OMBROGRAFA
Ombrograf postavimo na odprt prostor, pod enakimi pogoji kot ombrometer (10.2.3.). Ombrograf postavimo na betonski podstavek, ki ima vijake na matico, na katere pritirdimo spodnja ušesa na oklepu. Podstavek meri približno 40 cm x 40 cm, in je visok okoli 5 cm. Če ne moremo napraviti betonskega podstavka, zabijemo v zemljo količkein nanje pritrdimo ušesa ombrografa.
Dokler ombrograf ni postavljen, lahko njegove notranje dele (urni mehanizem, posodo s plavačem, natego in pripravo za prisilno izpraznitev) hranimo posebej.
Notranje dele ombrografa namestimo po naslednjem vrstnem redu:
Posodo s plavačem postavimo na svoje mesto, pri čemer pazimo, da vrh lijaka pod odprtino za vstop padavin vstopa v lijak na dovodni cevi posode s plavačem ter da ne pokvarimo priprave za prisilno izpraznitev; istočasno mora zob na zadnjem delu ležišča posode sesti točno v ustrezno zarezo na dnu posode. Potem pritrdimo posodo na polico z vijakom, ki ga privijemo s spodnje strani police v odprtino na posodi s plavačem. Trije majhni vijaki pod posodo omogočajo njeno postavitev, tako da stoji navpično. Če ni vijakov, dosežemo navpičnost posode s podstavljanjem koščkov pločevine.
Stekleno natego damo s krajšim koncem v stranski rokav posode. Na tem koncu je steklena cev zaključena s kovinsko cevko. Ta je spojena s stekleno tako, da se točno vsede v stranski nastavek posode. Na tej kovinski cevi se nahaja priprava za zapiranje in uravnavanje višine kolena natega, od česar je odvisno, do katere vrednosti na traku se bo dvignilo pero. Nazadnje postavimo na dno ombrografa posodo za zbiranje vode.
Ombrograf, ki nima grelne naprave, postavimo praviloma 31. marca, umaknemo pa 1. novembra, če ni nevarnosti zmrzali. Če pa ta nevarnost obstaja, se lahko te datume spremeni (10.6.6.).
Ombrograf postavljajo izkušeni strokovnjaki.
10.6.4. DELOVANJE IN URAVNAVANJE OMBROGRAFA
Delovanje velja z urnim mehanizmom in peresa ustreza opisu v 2.2.4. Nekateri ombrografi nimajo paličice za odmikanje peresa in odmikamo pero z obračanjem držala okoli nagnjene osi, na kateri ta stoji. V primeru, da to ni izveljivo, odmikamo držalo z roko. Obračanje pokrova posode, ki nosi paličico s peresom, ni priporočljivo.
Med delovanjem piše pero krivuljo, ki se začenja na črti, označeni z 0 (ničla) mm na traku. Ko dežuje, se pero dviga, dokler ne doseže črte 10 mm (sl. 94). Takrat se pero spusti na ničlo, ker se valjasta posoda avtomatsko izprazni po nategi. Pero se mora spustiti od črte 10 mm do črte 0 mm v 10 - 15 sekundah.
Pero naravnamo, da pravilno kaže, takoj ko je ombrograf postavljan; to poteka na sledeč način: skozi zgornjo odprtino počasi dolivamo vodo, dokler se posoda skozi natego avtomatsko ne izprazni. Pri dolivanju vode pazimo, da se pero ne zatakne pod valj. Ko se posoda avtomatsko izprazni, mora preo stati na ničelni črti traku. Če se to ne zgodi, naravnamo (dvignemo ali spustimo) držalo peresa na palici (Š). Istočasno naravnamo tudi višino kolenastega vzvoda (P) za aktiviranje pri pripravi za prisilno izpraznitev. Nato spet dolivamo vodo in gledamo, do katere višine se bo dvignilo pero do trenutka izpraznitve posode. Če se pero ni divgnilo do črte 10 mm, ga naravnamo s spuščanjem ali dviganjem natege. Ta postopek dolivanja vode in naravnavanja položaja peresa in položaja kolenastega vzvoda za aktiviranje moramo večkrat ponoviti, dokler ne dosežemo željenega rezultata.
Važno je, da preverimo tudi brezhibnost valjaste posode. Če pero pri praznjenju posode piše navpično črto, vzporedno časnovi skali na traku, je posoda v redu, če pa piše poševno črto, moramo ali spraviti posodo v navpičen položaj ali pa os valja.
Pri avtumatskem praznjenju posode moramo pogledati, če teče voda po nategi v nepretrganem curku ali pa so vmes mehurčki. Če so mehurčki, pomeni, da zapiranje ni dobro in moramo matico močneje priviti. Preden začne ombrograf delovati, moramo izliti vodo iz posode, da je prazna in pripravljena za sprejemanje padavin.
10.6.5. NASTAVITEV OMBROGRAFA
Ombrograf nastavimo vsak dna ob 7. uri po SEČ-u. Pri tem zamenjamo trak na valju (če je potrebno), navijemo urni mehanizem in dodatmo črnilo. Prede nodmaknemo pero od traku, zarišemo na trak črtico (pero pramaknemo za 2 mm navzgor in navzdol in zraven vpišemo uro in minuto, ko smo jo zarisali, kot je razvidno na prikazanem ombrografskem traku). Če se je prejšnjega dne ombrograf izpraznil, dvignemo kovinasto utež do vznožja valjaste posode, s tem da potegnemo navzdol utež iz plastične mase.
V dneh, ko ni bilo padavin ali pa jih je bilo malo, ne menjamo traku, ampak samo napravimo črtico (z oznako časa), odmaknemo pero in dolijemo malo vode v ombrograf, samo toliko, da se pero dvigne za približno pol mm padavin. Potem valj obrnemo in naravnamo pero na ustrezen časovni razdelek na začetku traku. Tako lahko delamo vsak dan, dokler se pero ne dvigne malo nad polovico traku; takrat pa trak zamenjamo z novim.
Ombrograf navijamo tedensko in sicer ob ponedeljkih, razen če gre za ombrograf s krajšim časom delovanja urnega mehanizma.
Črnilo dodamo in pero očistimo, kadar je potrebno.
Ombrograf moramo nastaviti takoj po merjenju padavin v ombrometru, tako da je čim krajši časovni razmak med merjenjem množine padavin in vrisovanjem črtic na ombrografu. To je posebno važno takrat, ko v času opazovanja dežuje.

10.6.6. VZDRŽEVANJE
Vse, kar velja za vzdrževanje ombrometra (10.2.3.), velja tudi za vzdrževanje omborgrafa. Poleg tega moramo občasno preverjati, če v cevkah ni insektov, pajčevine, listja in drugih predmetov.
Če nima grelne naprave, ombrograf ne sme stati na mrazu, ker bi ga zmrznjena voda hudo poškodovala. Zato moramo, v primeru začasne nevarnosti zmrzali, vzeti iz ombrografa brez gretja smamo posodo s plavačem in natego; ko mine nevarnost zmrzali, ju postavimo nazaj in svoje mesto. Če pa nastopi hladno obdobje, moramo s terena bodisi umakniti cel ombrograf ali pa pobrati iz njega vse dele, da ostane zunaj samo ohišje. V drugem primeru pokrijemo odprtino ombrografa s posebnim pokrovom, ki spada k vsakemu ombrografu.
Če moramo ombrograf prenesti, četudi le na kratko razdaljo, pri postavljanju ali demontiranju s postaje, moramo iz njega vzeti notranje dele, predvsem natego in valjasto posodo. Pri vsakem snemanju valjaste posode moramo iz nje izliti vso vodo, zaradi česar z nje pazljivo snamemo pokrov, skozi katerega gre palica z držalom za pero.
10.6.7. NAPAKE
Poleg napak, do katerih prede pri vseh pisalih, lahko nastanejo pri ombrografu tudi tele:
10.6.8. OMBROGRAF ZNAMKE "HIDROMETEOR"
Ombrograf znamke "Hierometeor" (sl. 95) je narejen po zgledu Hellmanovega in so mu nekateri deli podobni. Ta ombrograf je enako visok kot Hellmannov, le lijak za prestrezanje padavin je spuščen precej nižje.
Glede postavitve, delovanja in vzdrževanja tega ombrografa veljajo ista navodila kot za Hellmannov ombrograf.
10.6.9. OMBROGRAF "P-2"
Ombrograf "P-2", ruske izdelave, je namenjen za zapis množine in jakosti padavin v tekočem stanju, pri pozitivnih temperaturah.
10.6.9.1. OPIS NAPRAVE
Delovanje ombrografa je zasnovano na principu plavača, ki v odvisnosti od množine padavin, ki se naberejo v posodi s plavečam, deluje na kazalec v navpični smeri in dela na principu sifona, ki izprazni posodo s plavačem, ko se ta napolni.
Ombrograf "P-2" (sl. 96) sestavljajo naslednji osnovni deli:
10.9.6.2. PRINCIP DELOVANJA OMBROGRAFA "P-2"
Kadar dežuje, teče voda iz lovilnega cilindra po dovodni cevi in počasi polni posodo s plavačem. Pri tem se plavač dviga in kazalec s svojim peresom piše po traku krivuljo. Strmina krivulje kaže jakost padavin. Čim bolj strma je krivulja, večja je intenizvnost padavin.
Kadar doseže množina padavin v posodi s plavačem 500 cm2, pero pa doseže razdelek 100 ± 0,5 na diagramu,se plavač dvigne v zgornji položaj in pritisne na podpirni vijak, s pimer premakne vzvod iz zareze na robu drsnega kolesa. Drsno kolo se začne pod vplivom uteži obračati in z izbočenim delom udari po ležišču, ki je pritrjeno na palico plavača ter ga potopi v vodo. Voda, ki jo je iztisnil plavač, izteče iz sifonske cevi in tako začne voda odtekati v lonec. Plavač, ki se spušča, sprosti podporni vijak, vzvod ponovno pride v zarezo na drsnem kolesu in ga drži tako, dokler se spet ne napolni posoda s plavačem. Pri tem se kazalec vrne v ničelno lego.
Padavine, ki še naprej pritekajo v posodo s plavačem, spet dvigajo plavač, in priprava nadaljuje z zapisovanjem padavin, ponavljajoč delovni krog.
Ravne navpične črte, ki potekajo od zgornjega roba traku do njegove ničelne črte, ustrezajo trenutkom izliva vode skozi sifon. Po številu the črt ugotovimo število praznitev.
Vodo, ki se je nabrala v posodi, pri zamenjavi traku izlijemo. Če vodo iz posode izmerimo, lahko kontroliramo pravilnost zapisovanja praznitev.
Slika 96. Ombrograf "P-2"10.6.9.3. TEHNIČNI PODATKI
Ombrograf "P-2" lahko registrira padavine v kateremkoli časovnem obdobju in kakršnekoli jakosti, pri temperaturah od 0°C do 45°C. Valj z urnim mehanizmom se enkart obrne v 26. urah. Mehanizem navijamo enkrat tedensko. Natančnost mehanizma je ?5 min v 24. urah.
Ko pride v lovilni cilinder 500 cm3 vode, doseže kazalec s peresom, ki je pritrjen na plavač, razdelek 100?0,5 na diagramu. 500 cm3 vode se izprazni skozi sifon v največ 20 sek. Debelina črte, ki jo piše pero na traku, je 0,3 mm. Najmanjši razmak med navpičnimi črtami na traku pomeni 10 minut, med vodoravnimi pa 0,1 mm padavin.
10.6.9.4. POSTAVLJANJE OMBROGRAFA
Ombrograf postavimo na opazovalnem prostoru na betonski podstavek in ga pritrdimo z napenjalci. Z njimi zaščitimo omborgraf pred sunki, bodisi od vetra ali pa pri odpiranju vrat, kar bi lahko zmotilo pisanje po traku.
Vrh ombrografa mora biti 2 m visoko in v vodoravnem položaju (vodoravnost kontroliramo z libelo). Pozimi hranimo ombrograf na meteorološki postaji.
10.6.9.5. NAVODILO ZA DELOVANJE
Ko ombrograf postavimo in preden začne delovati, moramo preveriti:
Pripravo za prisilno praznitev uravnamo na sledeč način:
Trak zamenjamo po naslednjem postopku:
Urni mehanizem naravnamo v primeru, da v 24. urah zaostane ali prehiti za več kot 5 min. Takrat izvelečemo plastični zamašek na zgornjem pokrovu valja in premakbnemo regulator v ustrezno smer.
Pero čistimo z alkoholom, zaraezo na koncu peresa pa s papirjem. Papirnati ombrografski trakovi se na vlagi raztegnejo in se ne prilegajo točno na valj. Zato moramo imeti nekaj trakov v hišici ombrografa, da bi se navzeli vlage okolnega zraka. Vsak dan moramo pregledati lovilni cilinder in odstraniti iz njega nesnago, ki jo je nanesel veter.
Če je treba očistiti posodo s plavačem, ker so se v njej nabrale smeti, odvijemo vijak, s katerim je posoda pritrjena na ploščo, snamemo posodo in operemo njeno notranjost.
Če se urni mehanizem ustavi ali če zaostaja za več kot moremo z regulatorjem popraviti, ga moramo očistiti. V ta namen urni mehanizem razstavimo, ga pazljivo operemo z bencinom in posušimo. Ko mehanizem sestavimo, namažemo ležaje osi z oljem za ure.
Za merjenje višine snega uporabljamo dve vrsti snegomerov: stalne in prenosne (ročne). V obeh primerih imamo stalen prostor, kjer merimo višino snegta. Stalni snegomer uporabljamo za radna merjenja višine snega na postajah, kjer je sneženje reden pojav. Prenosni snegomer uporabljamo za merjenje višine snega na postajah, ki se nahajajo na področjih, kjer je sneženje redek pojav, izjemoma pa tudi na postajah, kjer je sneg reden pojav (v primeru, da ni stalnih snegomerov ali pa so ti pokvarjeni. Razen tega rabimo prenosti snegomer za izredna merjenja višine snežnih zametov.
Višino snega merimo po pravilu izven opazovalnega prostora. Kadar pa to ni mogžno, opravljamo meritve na tem prostoru.
10.7.1. IZBIRA PROSTORA ZA MERJENJE VIŠINE SNEGA
10.7.1.1. MERJENJE IZVEN OPAZOVALNEGA PROSTORA
V bilžini opazovalnega prostora izberemo prostor, ki izpolnjuje naslednje pogoje:
![]() |
![]() |
Slika 97. Prostor za merjenje snežne odeje izven opazovalnega prostora |
Slika 98. Prostor za merjenje snežne odeje na opazovalnem prostoru |
Na tako izbranem prostoru postavimo tri stalne snegomere, približno v vogalih enakostraničnega trikotnika. Razdalja med njimi mora biti najmanj 10 m. Snegomere oštevilčimo s številkami od 1 do 3 (sl. 97).
Vsak snegomer ostane iz leta v leto na istem mestu in nosi isto številko. Kole, na katere pritrdimo snegomere, po možnosti pustimo ves čas v zemlji. Če to ni možno, vnaprej pripravimo skico, na kateri so s številkami točno označena mesta snegomerov (1, 2, 3). Skica mora vsebovati nekoliko širši prostor, tako da lahko nanjo vpišemo oz. vrišemo tudi podatke o okolici, v premeru 200 m.
Na postajah, kjer ni stalnih snegomerov, ampak so samo prenosni, moramo prav tako izbrati prostor za merjenje višine snega, ki izpolnjuje zgoraj navedene pogoje. Na merilnem prostoru izberemo tri točke, ki tvorijo enakostranični trikotnik in jih na skici označimo s številkami 1, 2 in 3. S prenosnim snegomerom merimo čim bližje the točk.
Tam, kjer redkokdaj sneži, izberemo samo eno merilno mesto.
10.7.1.2. MERJENJE NA OPAZOVALNEM PROSTORU
Na opazovalnem prostoru izberemo prostor za merjenje le v primeru, ko ni mogoče opravljati merjenj višine snega izven tega prostora. V tem primeru izberemo na opazovalnem prostoru tri mesta, ki tvorijo približno enakostranični trikotnik, s stranicami po okoli 10 m (sl. 98). Vsako od the mest mora izpolnjevati naslednje pogoje:
Na sredini izbranih mest vkopljemo kole za stalne snegomere. Če na postaji ni stalnih snegomerov, opravljamo merjenja s prenosnim snegomerom, na sredini the izbranih mest. Izbrana mesta morajo biti vedno ista. Tudi v tem primeru napravimo skico, kot pri postavljanju snegomerov izven opazovalnega prostora in na njej označimo mesta s snegomeri s številkami 1, 2 in 3.
10.7.2. MERJENJE S POMOČJO STALNEGA SNEGOMERA
10.7.2.1. OPIS STALNEGA SNEGOMERA
Stalni snegomer (sl. 99 a in b) je narejen iz lesene letve in je dolg 1-3 m. Dolžnia je odvisna od možne višine snega v tistem kraju. Letev je široka 6 cm in debela 2,5 cm. Biti mora ravna, brez grč, gladka in pobarvana z belo oljnato barvo (ali bel opolakirana). Po dolžini je razdeljena na centimetre, pri čemer je vsak neparni centimeret rdeče pobarvan. Skala je narejena tako, da je prvih 10 cm nanešenih na levi polovici letve, drugih 10 cm na desni polovici itd., izmenoma do vrha letve. Za lažje odčitavanje je nad vsakim desetim razdelkom vpisana ustrezna višina v cm, vsak peti cm pa je izvlečen do treh četrin širine letve.
Letev postavimo na lesen, v zemlji zabit kol, dolg 60 cm, s presekom 6 cm x 6 cm. Zgornji del kola je za debelino letve izdolbljen v dolžini 24 cm (sl. 99 b). Na ta izrezani del postavimo letev in jo z dvema vijakoma pritrdimo na kol, ki ga zabijemo 36 cm globoko v zemljo, tako da je spodnji rob letve (00 cm) v višini površine tal. Ko snegomer pritrdimo, mora stati navpično in biti obrnjen s skalo proti severu.
Stalni snegomer postavimo pravočasno, t.j. jeseni, preden začne snežiti. Preden ga postavimo, pa okrog kola poravnamo tla in pokosimo travo. Na višinskih postajah ostanejo snegomeri na svojem mestu celo leto.
10.7.2.2. MERILNI POSTOPEK
Višino snegta merimo s pomočjo stalnih snegomerov vsak dan ob 7. uri po SEČ-u, ne glede na vrsto snežnih padavin, iz katerih je nastala snežna odeja.
Odčitavamo v celih centimetrih, na vsakem snegomeru po enkrat v opazovalnem terminu.
K vsakemu snegomeru pridemo vedno z iste strani, na razdaljo 1-2 m, da ne bi vplivali na sneg okrog njega.
Če se snegomera drži sneg, ga očistimo z dolgo, lahko palico, ki ima na vrhu pritrjeno lahko deščico. Sneg, ki smo ga postrgali s snegomera, mečemo proč od snegomera.
Če je sneg pri letvi staljen ali je tam zaradi vetra nižji ali višji, se ravnamo po višini površine snega v bližnji okolici (sl. 101).

Da bi čim natančneje odčital višino snega, posebno v zgoraj opisanih primerih, se mora opazovalec čim bolj približati površini snega in na snegomeru odčitati višino površine snega bližnje okolice.
10.7.3. MERJENJE S POMOČJO PRENOSNEGA SNEGOMERA
1.1.3.1. OPIS PRENOSNEGA SNEGOMERA
Prenosni snegomer (sl. 100) je narejen iz ravne lesene letve, dolge 1-3 m, odvisno od možne višine snega v kraju, kjer merimo. Snegomer je širok 4 cm, debel pa 2 cm. Po dolžini ima skalo v centimetrih. Vsak 5. din 10. cm je izvlečen po celi širini letve, ostali pa do polovice letve. Nad vsakim 10. razdelkom je vpisana številka. Ničelni razdelek snegomera se ujema z njegovim spodnjim koncem, ki je priostren in v dolžini 4 cm obdan s pločevino.
10.7.3.2. MERILNI POSTOPEK
Če merimo na postaji debelino snežne odeje s prenosnim snegomerom, opravimo v eni ali v treh točkah, na prostoru, določenem za merjenje debeline snežne odeje, eno meritev ob 7. uri po SEČ-u.
Pri merjenju višine snega s prenosnim snegomerom moramo zelo paziti, da na mestu, kjer merimo, čim manj poškodujemo snežno odejo.
Če so snežni zameti, izmerimo potem, ko smo končali z merjenjem višine snega, 2-3 najvišje zamete.
Ko merimo višino snežne odeje ali višino zametov, zabodemo prenosi snegomer navpično v sneg do površine zemlje, potem pa odčitamo višino v celih centimetrih.
10.7.4. MERJENJE VIŠINE NOVEGA SNEGA
Višino novega snega, ki je zapadel v zadnjih 24. urah, merimo prav tako ob 7. uri po SEČ-u, ne glede na vrsto snežnih padavin, iz katerih je snežna odeja nastala.
V ta namen postavimo v bližino mesta za merjenje debeline snežne odeje belo pobarvano, nelakirano desko, veliko 50 cm x 50 cm, na katero pada nov sneg. Ta deska mora biti toliko vtisnjena v sneg, d je njena zgornja površina malo pod površino snega okrog nje.
Višino novega snega merimo s prenosnim snegomerom (ali s pisarniškim ravnilom, pri katerem je ničla na začetku).
Ko smo merjenje opravili, stresemo sneg z deske, desko pa obrišemo in ponovno vtisnemo v sneg za merjenje naslednjega novega snega. Pri tem moramo paziti, da ne mečemo snega na mesto, kjer opravljamo redna merjenja višine ali gostote snežne odeje. Tudi višino novega snega merimo v celih centimetrih.
Da bi dobili podatke o višini novega snega ob 19. uri (za potrebe prognoze vremena), ni potrebno opraviti meritve višine novega snega v tem terminu, ampak samo izmerimo višino snega na enem od treh stalnih snegomerov ali na enem mestu s prenosnim snegomerom, potem pa za to točko izračunamo razliko med višino snega ob 19. uri in ob 7. uri istega dne.
Le v dneh, ko se je sneg talil ali močneje sesedal, moramo izmeriti višino novega snega na deski ob 19. uri in pri tem pazimo, da se plast novega snega na deski čim manj pokvari. Po tej meritvi ni treba stresati snega z deske.
10.8.1. IZBIRA PROSTORA ZA MERJENJE GOSTOTE SNEGA
Prostor za jemanje vzorcev, namenjenih merjenju gostote snega, mora imeti površino 50- 60 m2, nahajati pa se mora poleg prostora, predvidenega za merjenje debeline snežne odeje. Tudi ta prostor moramo jeseni dobro izravnati in na njem pokositi travo.
10.8.2. TERMINI ZA MERJENJE GOSTOTE SNEGA
Redna merjenja gostote snega opravljamo vsak peti dan, če je višina snega enaka enaka ali večja od 5 cm in sicer: 5., 10., 15., 20., 25. in zadnjega dne v mesecu.
Izredne meritve snega opravljamo:
Gostoto snega merimo po merjenju višine snega ob 7. uri.
10.8.3. INSTRUMENTI ZA MERJENJE GOSTOTE SNEGA
Za merjenje gostote snega uporabljamo snegomerno tehtnico na kembelj (rimsko tehtnico in Hellmannov denzimeter. Če pa nimamo teh, lahko uporabimo navaden ombrometer. Pri vseh treh instrumentih se načini merjenja in računanja gostote snega malo razlikujejo.
10.8.4. MERJENJE GOSTOTE SNEGA S SNEGOMERNO TEHTNICO
10.8.4.1. OPIS INSTRUMENTA
Snegomerna tehtnica je sestavljena iz navadne rimske tehtnice, celindra in lopatice (sl. 102). Tehtnica ima na vzvodu premično utež (1) z zarezo, ki kaže njen položaj na vzvodu. Ena enota na vzvodu (velika črta, označena s številko), ustreza teži 50 g. Vsaka razdalja med dvema velikima črtama je razdeljena na 10 manjših razdelkov, od katerih vsak predstavlja težo 5 g.
Posoda je dolga 60 cm. Na spodnji strani je trdno zaprta s pokrovom (2), katerega lahko snamemo. Na zgornji strani posode je pritrjen obroč (3) z ostrim prostim robom, ki oklepa površino 50 cm2 . Na posodo je nasajen premičen obroč (4) z ročajem za obešanje (5). Na zunanji strani posode je vrezana skala v centimetrih, pri kateri se 0 ujema z ostrim robom obroča.
Lopatica je malo širša od posode. Rabimo jo za odstranjevanje snega in za podstavljanje pod posodo pri jemanju vzorca snega.
10.8.4.2. JEMANJE VZORCA S SNEGOMERNO TEHTNICO
Postopek pri jemanju vzorca in merjenju gostote snega s snegomerno tehtnico je sledeče:
10.8.4.3. RAČUNANJE GOSTOTE SNEGA
Gostoto snega dobimo, če težo vzorca snega (n) (številka, ki smo jo prebrali na vzvodu
tehtnice), delimo z višino snega (h) v centimetrih, odčitamo na cilindru, torej
Delimo do treh decimalk in količnik zaokrožimo na dve decimalki.
10.8.5. MERJENJE GOSTOTE SNEGA S HELLMANNOVIM DENZIMETROM
10.8.5.1. OPIS INSTRUMENTA
10.8.5.2. JEMANJE VZORCA S HELLMANNOVIM DENZIEMTROM
Postopek pri jemanju vzorca snega s Hellmannovim denzimetrom je isti kot pri snegomerni tehtnici (točke 4, 5 in 7), le da snega ne tehtamo, ampak gaz denzimetra takoj damo v lonec in ga stalimo v topli sobi, tako kot padavine v trdnem stanju. Višino dobljene vode izmerimo v milimetrih z menzuro Hellmannovega ombrometra ter odčitano vrednost vpišemo v obrazec.
V enem terminu samo enkrat merimo gostoto snega s Hellmannovim denzimetrom.
10.8.5.3. RAČUNANJE GOSTOTE SNEGA
Gostoto snega (r), ki smo ga zajeli s Hellmannovim denzimetorm, dobimo s pomočjo
obrazca:
Primer:
10.8.6. MERJENJE GOSTOTE SNEGA Z OMBROMETROM
10.8.6.1. HELLMANNOV OMBROMETER KOT DENZIMETER ZA SNEG
Če nimamo niti snegomerne tehtnice, niti Hellmannovega denzimetra, treba pa je izmeriti m nožino vode v snežni odeji, lahko izjemoma določimo gostoto snega s pomočjo navadnega Hellmannovega ombrometra.
Slika 21. Hellmannov denzimeter10.8.6.2. JEMANJE VZORCA Z OMBROMETROM
Za jemanje vzorca snega s Hellmannovim ombrometrom vzamemo zgornjo in spodnjo posodo ombrometra (brez kanglice) in to v obrnjenem položaju vtisnemo v sneg, vzamemo vzorec snega, ga stalimo in z menzuro izmerimo vodo. Preden vzamemo vzorec, mora biti ombrometer prazen, brez vode in snega.
S Hellamnnovim ombrometrom merimo gostoto snega samo enkrat v terminu.10.8.6.3. RAČUNANJE GOSTOTE SNEGA
Gostoto snega (r), ki smo ga vzeli s pomočjo Hellmannovega ombrometra, računamo po obrazcu: r = n/10*h [gr/cm3], kjer je (n) množina vode v vzorcu snega, izražena v milimetrih, izmerjena z menzuro, (h) pa višina snega, določena s prenosnim snegomerom na mestu, kjer smo vzeli vzorec.
Primer:
10.8.7. NAČIN JEMANJA VZORCEV NA PROSTORU ZA MERJENJE GOSTOTE SNEGA
Na prostoru, izbranem za merjenje gostote snega, moramo jemativzorce frontalno (po vrsti, vzdolž vzporednih črt) in ob strani označevati, do katere črte smo vzorce jemali. To označevanje mora biti tako,da so oznake dobro vidne tudi po močnejšem sneženju, da vedno točno vemo, do katere črte smo prišli, oz. do kod je snežna odeja pokvarjena, ker na the mestih ne smemo jemati vzorcev snežne odeje. Označujemo lahko tako, da zapičimo palice v sneg.
Vzorce za merjenje gostote snega pričnemo jemati na tisti strani za to določenega prostora, od koder prihajamo, da hodimo v naslednjih dneh po vzorce k nepoškodovani snežni odeji čez tisti del, kjer smo vzorce že jemali.
10.8.8. POSTOPEK PRI JEMANJU VZORCA PRI LEDENI ALI SNEŽNI SKORJI
10.8.8.1. LEDENA ALI SNEŽNA SKORJA JE NA POVRŠINI SNEŽNE ODEJE ALI V NJEJ
Če je na površini ali znotraj snežne odeje ledena ali snežna skorja, je ni vedno lahko predreti z obročem posode. Tudi v tem primeru ne smemo z ničemer tolči po posodi, ker bi jo s tem poškodovali. Skorjo moramo pretresti s pritiskanjem in vrtenjem posode.
Lahko pa se zgodi, da skorje niti na ta način ne moremo predreti. V takšnih primerih postavimo posodo na snežno odejo in z nožem ali s kakšnim drugim ostrim predmetom prerežemo okoli posode skorjo, ki jo potem zajamemo v posodo in nato nadaljujemo z merjenjem, kot običajno.
V primeru, da ne moremo predreti skorje znotraj snežne odeje, vzamemo prvi vzorec do skorje. Ta vzorec izmerimo, s skorje okrog mesta, kjer smo vzeli vzorec, odstranimo sneg, potem pa postopamo na zgoraj opisani način.
Če je ledena skorja tako debela, da je ne moremo predreti niti s posodo niti z nožem, merjenja gostote snega ne opravimo.
10.8.8.2. LEDENA SKORJA JE NA ZEMLJI, POD SNEŽNO ODEJO
Pri jemanju vzorcev za merjenje gostote snega moramo v vseh treh primerih pogledati, če obstaja na zemlji ledena skorja ali ne.
V primeru, da je skorja, vzamemo vzorec za merjenje gostote snežne odeje samo do ledene skorje na zemlji, debelino skorje paizmerimo v milimetrih s pisarniškim ravnilom.
Če ni snežne odeje, debeline ledene skorje na tleh ne merimo.
Ledene skorje, bodisi da se nahaja na površini snežne odeje, znotraj nje ali na površini zemlje, ne smemo zamenjavati z eventualno plastjo zrnatega snega.
10.9.1. CELOTNA VSEBNOST VODE V SNEŽNI ODEJI
Vsebnost vode v snežni odeji izražamo v mm in pomeni višino vode, ki bi jo dobili, če bi se snežna odeja stalila.
Vsebnost vode (Q') v snežni odeji je enaka:
V primeru, da so tla pokrita z ledeno skorjo, je vsebnost vode v ledeni skorji (Q'') enaka:
Celotna vsebnost vode (Q) v snežni odeji je potem
10.9.2. POVPREČNA VSEBNOST VODE NA 1 CM SNEŽNE ODEJE
Povprečno vsebnost vode na 1 cm debeline snežne odeje (Qs ) določimo tako, da celotno vsebnost vode v snežni odeji (Q) delimo s povprečno debelino snežne odeje (hs).
V primeru, da na površini zemlje ni ledene skorje, izračunamo povprečno vsebnost vode
na 1 cm snežne odeje na sledeč način:
Če pa je na površini zemlje ledena skorja, izračunamo povprečno vsebnost vode na 1 cm
snežne odeje takole: