1.1.1. NALOGE IN ZNAČAJ METEOROLOŠKIH POSTAJ
Meteorološke postaje so organizacijske enote meteorološke službe, ki imajo nalogo, da po enotnih predpisih opravljajo meteorološka opazovanja in merjenja.
Podatke meteoroloških opazovanj in merjenj morajo meteorološke postaje dostavljati Meteorološkemu zavodu*** v obliki šifriranih poročil oziroma na točno predpisanih enotnih obrazcih v določenih urnih, dnevnih, dekadnih in mesečnih časovnih intervalih.
Opazovani in izmerjeni meteorološki podatki so osnova za proučevanje vremena in klime ter za druga znanstvena raziskovanja, s katerimi se bavi meteorologija. Proučevanje vremena in klime je neprecenljive vrednosti za vse večje človeške dejavnosti, posebno pa za kmetijstvo, gozdarstvo, vodno gospodarstvo, gradbeništvo, ljudsko obrambo, medicino, pomorski, kopni in zračni promet.
Meteorološki podatki, opazovani in izmerjeni na meteoroloških postajah v naši državi, so potrebni tudi za mednarodno izmenjavo za proučevanje zemeljske atmosfere kot celote, v kateri se odvijajo vsi procesi, ki povzročajo vreme in klimo. Na osnovi mednarodnega pomena meteoroloških postaj je bila ustanovljena tudi Svetovna meteorološka organizacija kot ena od največjih posebnih ustanov Organizacije združenih narodov, v katero je včlanjena tudi naša država. Ena od najvažnejših nalog Svetovne meteorološke organizacije je uvajanje enakega načina meteoroloških opazovanj in merjenj po vsem svetu.
1.1.2. RAZDELITEV METEOROLOŠKIH POSTAJ
Po namenu in obsegu programa dela ločimo meteorološke postaje osnovne mreže na:
Poleg teh postaj imamo tudi meteorološke observatorije kot znanstveno raziskovalne enote za meteorološka raziskovanja pri Meteoroloških zavodih***.
1.2.1. DEFINICIJA GLAVNE METEOROLOŠKE POSTAJE
Glavna meteorološka postaja je meteorološka postaja osnovne mreže, kjer opazujemo in merimo meteorološke pojave in elemente v določenih dnevnih terminih za potrebe prognoze vremena, klimatologije in agrometeorologije.
1.2.2. PROGRAM OPAZOVANJ IN MERJENJ NA GLAVNI METEOROLOŠKI POSTAJI
Na glavni meteorološki postaji opazujemo in merimo naslednje meteorološke in biološke
pojave in elemente:
Pripomba: Na določenem številu glavnih meteoroloških postaj so tudi druga opazovanja in merjenja, ki jih predpisuje “Pravilnik o organizaciji, delu in inštrumentalni opremi osnovne mreže meteoroloških postaj ...”***
1.3.1. DEFINICIJA NAVADNE METEOROLOŠKE POSTAJE
Navadna meteorološka postaja je meteorološka postaja osnovne mreže, kjer opazujemo in merimo meteorološke in biološke pojave in elemente v določenih dnevnih terminih za potrebe klimatologije in agrometeorologije.
1.3.2. PROGRAM OPAZOVANJ IN MERJENJ NA NAVADNI METEOROLOŠKI POSTAJI
Na navadni meteorološki postaji opazujemo in merimo naslednje meteorološke in biološke pojave in elemente:
1.4.1. DEFINICIJA PADAVINSKE POSTAJE
Padavinska postaja je meteorološka postaja osovne mreže, kjer opazujemo in merimo meteorološke in biološke pojave in elemente za potrebe klimatologije, hidrologije in agrometeorologije.
1.4.2. PROGRAM OPAZOVANJ IN MERJENJ NA PADAVINSKI METEOROLOŠKI POSTAJI
Na padavinski meteorološki postaji opazujemo in merimo naslednje meteorološke in biološke pojave in elemente:
Na padavinskih postajah spremljamo tudi pomembnejše spremembe vremena in zapisujemo čas začetka in konca vseh vrst padavin in važnejših atmosferskih pojavov, ki jih predpisujejo navodila za delo na padavinski postaji.
1.5.1. IZBIRA PROSTORA ZA POSTAVITEV METEOROLOŠKE POSTAJE
Mesto za postavitev meteorološke postaje mora imeti naslednje pogoje:
Površina zemljišča, na katerem je treba postaviti meteorološko postajo, je odvisna od krajevnih pogojev in stopnje meteorološke postaje.
Če upoštevamo program dela in inštrumentalno opremo, mora biti velikost zemljišča za glavno meteorološko postajo 20 x 20 m, za navadno meteorološko postajo pa 9 x 6 m. Ta del površine zemljišča se imenuje meteorološki opazovalni prostor. Mesto za postavitev meteorološke postaje osnovne mreže izberejo strokovnjaki Meteorološkega zavoda.
Nadmorska višina meteorološke postaje je nadmorska višina tal pod meteorološko hišico v opazovalnem prostoru meteorološke postaje.
Meteorološko postajo osnovne mreže ne smemo premestiti. Po Zakonu o hidrometeorološki službi ne smemo spreminjati lokacije meteoroloških postaj osnovne mreže brez soglasja Zveznega*** hidrometeorološkega zavoda.
Vodja meteorološke postaje mora obvestiti Meteorološki zavod o vseh spremembah, ki vplivajo ali lahko spreminjajo prvotni izgled mesta meteorološke postaje in bližnje okolice.
1.5.2. OPAZOVALNI PROSTOR METEOROLOŠKE POSTAJE IN RAZPOREDITEV METEOROLOŠKIH INŠTRUMENTOV
Opazovalni prostor meteorološke postaje mora imeti obliko kvadrata ali pravokotnika, čigar stranice se ne razlikujejo veliko med seboj. Stranice kvadrata ali pravokotnika morajo, kolikor je to mogoče, ležati v smeri sever-jug ali zahod-vzhod. Zemljišče mora biti vodoravno. Opazovalni prostor meteorološke postaje moramo ograditi z ustrezno ograjo za zaščito inštrumentov in napeljave. Najboljša je žičnata ograja, ker najmanj ovira gibanje zraka. Uporabimo lahko tudi ograjo iz letvic, dolžine 1,25 m z razmakom med letvicami od 10 do 15 cm. Ograjo pobarvamo z belo barvo. Vrata na ograji naj bodo na severni strani. Zemljišča na opazovalnem prostoru ne obdelujemo ali zalivamo. Travo pokosimo čim zraste 25 cm visoko in jo takoj odnesemo iz opazovalnega prostora, da se ne bi sušila blizu meteorološke hišice.
Inštrumente razdelimo tako, kakor je prikazano na sliki 1 in 2. Slika 1 prikazuje, kakšen naj bo opazovalni prostor glavne meteorološke postaje. Glede na terenske pogoje lahko razporeditev inštrumentov spremenimo. Če je npr. zemljišče primerno za merjenje temperature, vlage, padavin itd., ni pa primerno za heliograf ali vetrokaz, lahko ta dva inštrumenta postavimo na drugo primernejše mesto - lahko tudi na streho zgradbe meteorološke postaje.
Tudi vidnosti ni treba opazovati na opazovalnem prosturu, če na njem ne vidimo vseh reperjev.
Po meteorološkem opazovalnem prostoru hodimo le po označenih poteh (sl. 1.), ki jih tlakujemo z razmaknjenimi ploščami ali jih posujemo s peskom, ne smemo pa jih betonirati.

Slika 1. Razporeditev inštrumentov na opazovalnem prostoru glavne meteorološke postaje
Legenda:
|
|
Poti naj pokrivajo čim manjšo površino. Če je zemljišče golo, jih ni treba postavljati. Glavna pot do meteorološke hišice naj ne bo širša od 50 cm, druge so lahko tudi ožje.
| Legenda: |
|
Slika 2. Razporeditev inštrumentov na opazovalnem prostoru navadne meteorološke postaje
Snežne odeje na opazovalnem prostoru ne smemo poškodovati, razen kar je najnujnejše pri posameznih merjenjih. Sneg, ki ga skidamo s poti, prenesemo izven opazovalnega prostora daleč od ograje.
Na opazovalnem prostoru in v neposredni bližini moramo vzdrževati primerno čistočo. Predmete, ki jih ne uporabljamo za opazovalne namene, ne smemo hraniti na opazovalnem prostoru.
Opomba: Električno napeljavo lahko napelje v opazovalni prostor le poblaščen strokovnjak. Za ta namen lahko uporabimo le zemeljski kabel. Meteorološka hišica naj bo osvetljena z žarnico na zunanji strani.
1.5.3. PROSTORI METEOROLOŠKE POSTAJE
Glavne meteorološke postaje morajo imeti en svetel in suh delovni prostor in en manjši prostor, kjer ne kurimo in ki ni izpostavljen naglim spremembam temperature in močnemu vetru. V manjši prostor namestimo živosrebrni barometer in barograf. Prostori meteorološke postaje morajo biti v neposredni bližini opazovalnega prostora. Okno delovne sobe mora biti obrnjeno proti opazovalnemu prostoru, da lahko opazovalci nadzorujejo inštrumente.
V delovnem prostoru meteorološke postaje mora biti naslednja oprema:
Na pisalnih mizah morajo biti debela stekla, pod katerimi hranimo tabele in navodila, ki jih najpogosteje uporabljamo pri delu.
Mrežo meteoroloških postaj na ozemlju R Slovenije delimo na:
Osnovno mrežo meteoroloških postaj sestavljajo vse stalne meteorološke postaje, ki jih v skladu z Zakonom o hidrometeorološki službi ne moremo ukiniti ali prestaviti brez soglasnosti Hidrometeorološkega zavoda Republike Slovenije Ljubljana***.
Osnovna mreža meteoroloških postaj prikazuje število pravilno razporejenih postaj na določenem področju v nižinskih in planinskih predelih in na raznih nadmorskih višinah tako, da dobimo potrebno število podatkov za proučevanje vremena in klime in njunega vpliva na vsa področja življenja. Te meteorološke postaje koristijo osnovnim in splošnim potrebam opazovanja vremena in klime in njunih posledic na vse gospodarske in družbene dejavnosti.
Osnovno mrežo meteoroloških postaj sestavljajo glavne in navadne meteorološke postaje ter padavinske postaje.
Zvezni hidrometeorološki zavod*** načrtuje skupaj z republiškimi hidrometeorološkimi zavodi*** osnovno mrežo meteoroloških postaj in skrbi za enotnost v delu. Za redno in enotno delo meteoroloških postaj osnovne mreže odgovarja Hidrometeorološki zavod***.
Dopolnilno mrežo meteoroloških postaj postavljajo hidrometeorološki zavodi*** ali druge ustanove ter gospodarske organizacije za posebne potrebe svojih dejavnosti.
1.7.1. VLOGA OPAZOVALCA
Poleg dobrih inštrumentov mora biti tudi dober in vesten opazovalec, kajti tudi najboljši inšturmenti ne dajo dobrih podtkov, če se z njimi ne ukvarja vesten človek, ki dobro obvlada opazovanja in merjenja meteoroloških pojavov in elementov. Dober opazovalec in dobri inštrumenti so potreben pogoj za normalno delo vsake meteorološke postaje. Pri svojem delu se mora vsak opazovalec zavedati naslednjih dejstev:
1.7.2. DOLŽNOST OPAZOVALCA
Dolžnosti opazovalcev so naslednje:
1.7.3. KONTROLA (INŠPEKCIJA) POSTAJ
Vsako meteorološko postajo kontrolira poseben strokovnjak meteorološke službe.
Dolžnost odgovornih organov službe je, da omogočijo pregled (inšpekcijo) glavnih meteoroloških postaj najmanj enkrat na leto, navadnih in padavinskih pa najmanj enkrat na dve leti.
Naloga strokovne inšpekcije je, da pregleda stanje in delo postaj, posebno pa:
Poleg pregleda stanja in dela je namen obiska izboljšanje stanja, zato mora inšpektor vse nepravilnosti in napake v delu takoj odpraviti in poučiti opazovalca, kako naj v bodoče dela.
1.8.1. SPLOŠNI POJMI
Pod pojmom “opazovanje” razumemo v meteorološki službi opazovanje in merjenje skupaj, t.j. opazovanje brez inštrumentov (vizuelno opazovanje) in opazovanje s pomočjo inštrumentov (merjenje).
Cilj opazovanja je, da opazujemo, izmerimo in zapišemo razvoj vremena, kot se odraža na naših inštrumentih in čutilih.
Opazovati moramo čim pogosteje, po možnosti neprekinjeno, da bi bila slika stanja in razvoja čim popolnejša. Neprekinjenost opazovanja je za sedaj omogočena samo z registrirnimi inštrumenti in še to samo za nekoliko elementov. Na vseh meteoroloških postajah so redna (terminska) opazovanja, predvidena pa so tudi izredna ali dopolnilna opazovanja za nekatere namene. Izredno opazujemo občasno po potrebi.
Redna opazovanja so v sinoptičnih in klimatoloških terminih. V klimatoloških terminih opazujemo po srednjem lokalnem času postaje (1.8.8.).
Na postajah opazujemo tudi važnejše in hitre vremenske pojave ali pojave, ki so nevarni za nekatere dejavnosti, npr. za letalski promet, kmetijstvo, promet itd.
Za nevarne pojave smatramo: neurje, nevihto, močan naliv, poplave, potrese, gosto meglo, točo, poledico itd., t.j. vse tiste pojave, ki povzročajo škodo.
1.8.2. OPAZOANJA V SINOPTIČNIH TERMINIH
Termini za sinoptična opazovanja so po vsem svetu enaki, vsake tri ure in to ob: 00.00, 03.00, 06.00, 09.00, 12.00, 15.00, 18.00 in 21.00 uri po srednjeevropskem (SEČ) ali svetovnem času (SČ). Glavna terminska opazovanja so ob 00.00, 06.00, 12.00 in 18.00, druga so medterminska. Navedeni termini opazovanj po svetovnem času odgovarjajo terminom ob 01.00, 04.00, 07.00, 10.00, 13.00, 16.00, 19.00 in 22.00 po srednjeevropskem času.
1.8.3. OPAZOVANJA V KLIMATOLOŠKIH TERMINIH
Termini za klimatološka opazovanja so ob 07.00, 14.00 in 21.00 uri po srednjem lokalnem času. Klimatološka opazovanja niso istočasna na vseh postajah, temveč ima vsaka postaja svoj poseben čas, ki odgovarja poldnevniku (meridianu). Izjeme so merjenje in opazovanje padavin ter drugih atmosferskih pojavov (1.8.4.)
1.8.4. MERJENJE PADAVIN IN OPAZOVANJE ATMOSFERSKIH POJAVOV
Množino padavin na glavnih meteoroloških postajah merimo v glavnih terminih ob 01.00, 07.00, 13.00 in 19.00 uri po srednjeevropskem času.
Atmosferske pojave opazujemo v vsem času opazovanja, uro in minuto začetka in konca pojava pa zapišemo po srednjeevropskem (službenem) času (1.8.7.).
1.8.5. VRSTNI RED OPAZOVANJA
Dovoljeno je, da se opazovanje začne 10 min pred in konča 10 min po terminu opazovanja. Vrstni red opazovanja razdelimo tako, da tiste elemente, ki se hitro spreminjajo, t.j. temperatura in vlaga, odčitamo čim bliže opazovalnemu terminu, živosrebrni barometer pa odčitamo točno ob tej uri. Na registrirnem inštrumentu (barografu, termografu in higrografu) označimo s črtico takoj po čitanju barometra oziroma suhega in mokrega termometra.
Dolžina opazovanja je odvisna od obsega dela ob urah opazovanja, od števila inštrumentov in od stanja vremena.
Običajno so najobsežnejša opazovanja ob 07.00, nato ob 21.00, potem pa sledijo ostali termini. Včasih je z nekaterimi elementi več dela, včasih manj ali pa nič. Dež npr. ne pade vsak dan, včasih ni oblakov niti vetra, niti atmosferskih pojavov, višino snega in množino vode v snežni odeji navadno merimo v zimski polovici leta. Za vsako opazovanje moramo oceniti čas trajanja in vrstni red.
Na opazovanje nosimo s seboj Dnevnik opazovanja, v katerega vpisujemo takoj vse podatke o opazovanjih in merjenjih. Po končanem opazovanju podatke obdelamo, sestavimo in odpošljemo poročilo (če je to naloga postaje), vpišemo podatke v posebne obrazce itd.
Pred začetkom opazovanja pripravimo vse potrebno: ovlažimo krpico mokrega termometra, vključimo aspirator, očistimo sneg in ivje z inštrumentov itd. Pozimi lahko prej zamenjamo dežemer zaradi taljenja padavin v trdnem stanju, če ni verjetno, da bodo do ure opazovanja padle nove padavine. Pod istimi pogoji lahko prej izmerimo višino snežne odeje in množino vode v snežni odeji.
1.8.6. NAPAKE PRI OPAZOVANJU
Pri opazovanju lahko nastaneta dve vrsti napak: sistematske ali slučajne.
Sistematske napake nastanejo v daljšem obdobju opazovanj in vedno na enak način. Sem spadajo inštrumentalne napake ali napake zaradi slabega opazovanja. Npr. opazovalec dela sistematsko napako, če vedno opazuje pred ali po času opazovanja ali če vedno čita nižjo ali višjo vrednost na inštrumentu in podobno.
Slučajne napake nastanejo vedno po pomoti opazovalca, le redko zaradi okvare inštrumenta. Obe vrsti napak povrzočajo velike težave pri uporabi meteoroloških podatkov. Napačen podatek povzroča večjo škodo, kot če ga ne bi bilo.
Največ napak nastane zaradi nepazljivosti in pomanjkljivega znanja opazovalca. Kadar inštrumentalne napake poznamo, jih preprečujemo s popravki (2.1.4.).
1.8.7. SLUŽBENI ČAS***
Službeni čas je tisti čas, po katerem se ravnajo ure v naši državi. To je čas, ki ga oddaja radio ali ga dobimo od pošte ali železniške postaje. To je srednjeevropski čas ali natančneje srednji srednjeevropski čas. Ta čas velja za vse države v Srednji Evropi, ki ležijo približno med 71/2 in 221/2 stopinji vzhodne geografske dolžine. Države v Zahodni Evropi se ravnajo po srednjem času po Greenwichu (SEČ), ki je mednarodno osvojen kot svetovni čas. Srednji čas po Greenwichu zaostaja za srednjeevropskim za eno uro, ko je v Srednji Evropi 07.00, je v Zahodni Evropi 06.00.
Dan istega datuma računamo od polnoči do polnoči. Ure se štejejo od 00 (polnoč, ko se dan prične) do 24 (polnoč, ko se dan konča).
Čas beležimo s štirimi številkami, npr.: 0015 namesto 0.15;0720 namesto 7.20; 0800 namesto 8; 1545 namesto 15.45 itd.
1.8.8. KRAJEVNI (LOKALNI) ČAS
Krajevni (lokalni) ali točneje srednji krajevni čas dobimo, če od službenega časa*** odštejemo ali dodamo toliko minut, kolikor je potrebno, da sonce v svojem navideznem gibanju preide pot od postaje do petnajstega poldnevnika, ali obratno, če je postaja zahodno od petnajstega poldnevnika. Ker je pot sonca v 1 uri 15 stopinj, v eni časovni minuti pa 15 minut geografske dolžine, lahko izračunamo laokalni čas vsakega kraja. Npr.: geografska dolžina Dimitrograda je 22o17’ vzhodno od Greenwicha, torej je za 7o17’ vzhodno od petnajstega poldnevnika. Sonce ga doseže 29 minut pred službenim časom. Klimatološka opazovanja so zato v Dimitrogradu ob 06.31, 13.31 in 20.31. Geografska dolžina Pule v Istri je 13o50’, vzhodno od Greenwicha, torej je za 1o10’ zahodno od petnajstega poldnevnika, kar odgovarja času 5 minut. Srednji lokalni čas zato v Puli zaostaja za 5 minut od službenega časa. Klimatološka opazovanja so v Puli ob 07.05, 14.05 in 21.05 po službenem času.
Na postajah, ki so na petnajstem vzporedniku. sta lokalni in službeni čas*** enaka.
1.8.9. PRAVI SONČNI ČAS
Pravi sončni čas se določa po navideznem gibanju sonca***(Sonce se piše z veliko začetnico). Za poldne določimo trenutek, ko je središče sonca nad južno točko horizonta. V tem trenutku pada senca navpičnega droga proti severu. Pravi sončni čas se razlikuje od službenega in srednjega lokalnega časa zaradi neenakomernega letnega navideznega gibanja sonca. Po službenem času ni pravi sončni poldan vedno istočasno, temveč včasih preje včasih kasneje. Ura in minuta pravega sončnega poldneva se računa po službenem času s pomočjo tabele (I) na koncu knjige za vsak dan v letu.
Da določimo pravi sončni poldan, moramo poznati srednji lokalni čas tistega kraja. V tabeli (I) poiščemo časovno korekcijo v minutah za ta kraj in določen dan, ter jo odštejemo od srednjega lokalnega časa tega kraja. Časovna korekcija za 1. oktober je po tabeli (I) 10 minut. Pravi sončni poldan 1. oktobra je v Novem Sadu ob 11.31 po SEČ-u.
1.8.10. URA
Za opazovanje v točno določenem času za točno določanje posameznih pojavov in udarjanje markic na trakovih za kontrolo dela aspiratorja itd. je nujno, da ima opazovalec s seboj natančno uro s sekundnim kazalcem.
***Ure meteoroloških postaj se morajo vsak dan uravnavati z natančnim časom s pomočjo radia, televizije, poštne ure ali po telefonu s točno uro meteorološke službe.
2.1.1. POJEM IN RAZVRSTITEV METEOROLOŠKIH INTŠRUMENTOV
Za merjenje meteoroloških elementov uporabljamo meteorološke inštrumente. Uporabljamo dve vrsti meteoroloških inštrumentov:
Na osnovnih inštrumentih čitamo vrednosti trenutnega stanja meteoroloških elementov. Osnovni inštrumenti so: barometer, termometer, psihrometer, ombrometer, anemometer, evaporimeter itd.
Registrirni inštrumenti neprekinjeno beležijo stanje (spremembe) meteoroloških elementov. Registrirni inštrumenti so: barograf, termograf, higrograf, ombrograf itd.
Vsak inštrument ima svojo skalo za čitanje vrednosti elementov, ki jih merimo.
2.1.2. ETALONI, NORMALNI IN KONTROLNI INŠTRUMENTI
Etaloni in normalni inštrumenti so zelo natančni inštrumenti, ki jih imajo v centrih meteoroloških služb in se uporabljajo za kontrolo postajnih inštrumentov. Etalone kontroliramo z mednarodnimi etaloni v določenih časovnih razmakih.
Kontrolni inštrumenti so normalni inštrumenti, prirejeni za prenos in se uporabljajo za kontrolo postajnih inštrumentov na postajah.
2.1.3. KONTROLA POSTAJNIH INŠTRUMENTOV
Inštrumente, ki jih uporabljajo meteorološke postaje, je treba občasno primerjati z normalnimi inštrumenti. Inštrumente primerjamo na postaji s kontrolnimi inštrumenti ali na zavodu z normalnimi inštrumenti.
Inštrumente moramo kontrolirati tudi, ko jih dobimo iz tovarne ali s popravila, preden jih uporabimo.
Inštrumente v mreži glavnih meteoroloških postaj moramo kontrolirati najmanj enkrat v dveh letih, v mreži navadnih meteoroloških postaj pa najmanj enkrat v petih letih ali po potrebi.
Kontrolne inštrumente moramo primerjati z normalnimi pri odhodu na postaje in pri povratku.
2.1.4. INŠTRUMENTALNE KOREKCIJE
Vsak inštrument ima lahko svoje posebne napake, ki nastanejo pri izdelavi ali pri uporabi. Velikost napake določimo z umerjanjem v laboratoriju, kasneje pri uporabi pa inštrumente kontroliramo z normalnimi ali kontrolnimi inštrumenti. Napake, ki jih je ugotovila tovarna, ne upoštevamo, če jih ni potrdila meteorološka služba.
Poleg vsakega osnovnega ali važnejšega inštrumenta mora biti korekcijski list, v katerem je označena velikost korekcije, del skale, za katerega ta popravek velja in datum umeritve. To listino izda ustanova, kjer je bil inštrument umerjen.
S popravkom korigiramo inštrument in tako dobimo pravo vrednost odčitanega meteorološkega elementa.
Praktična uporaba korekcije je prikazana na opisu inštrumenta, poleg katerega je izdan tudi korekcijski list.
2.1.5. PRENOS INŠTRUMENTOV
Meteorološke inštrumente (predvsem občutljive in lomljive) lahko prenašajo samo odgovorne osebe. Inštrumentov ne smemo pošiljati v poštnih paketih ali z železnico.
Pri prenosu na večje razdalje moramo inštrumente zaščititi po predpisih in pazljivo varovati pred poškodbami.
Ker deluje večina registrirnih inštrumentov na podobnem principu in imajo veliko istovetnih delov, bomo v tem poglavju prikazali samo njihove splošne oziroma skupne lastnosti. Posebne lastnosti in dele posameznih inštrumentov ter njihovo uporabo bomo obravnavali pri opisu teh inštrumentov.
2.2.1. SESTAVNI DELI REGISTRIRNIH INŠTRUMENTOV
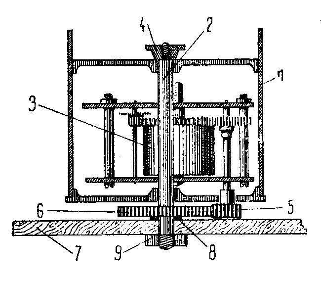
Zgradbo in delovanje registrirnih inštrumentov bomo prikazali na modelu termografa.
Deli registrirnih inštrumenotv so:
Legenda:
1 - sprejemmnik
2 - sistem prenosnih ročic
3 - naprava za uravnanje položaja peresa
4 - vijak za uravnavanje pritiska peresa
5 - valj z urnim mehanizmom in trakom
6 - palčka za odmikanje peresa od valja
7 - podstavek z zaščitnim pokrovom
(pokrov na modelu ni prikazan)
2.2.2. SPREJEMNIK
Sprejemnik je na enem koncu pritrjen na podstavek, drugi konec pa je prost in se premika pri spremembah elementa.
Te spremembe se s pomočjo prenosnih ročic znatno povečajo in prenesejo na pero, ki piše na traku valja.
2.2.3. SISTEM PRENOSNIH ROČIC
Ta sistem je navadno sestavljen iz nekoliko ročic in osi ter pritrjen na prosti konec sprejemnika. Na drugem koncu sistema ročic je pritrjeno pero.
2.2.4. VALJ Z URNIM MEHANIZMOM
Valj z urnim mehanizmom nosi in enakomerno obrča papirnat trak, ki je ovit okoli njega (sl. 4). V valju je vgrajen urni mehanizem (3), sl. 5, ki ga vrti.
Valj se navadno enkrat obrne v nekoliko več kakor sedmih dneh ali nekoliko več kot v enem dnevu. Prvi so sedemdnevni, drugi pa enodnevni registrirni inštrumenti. Dimenzije valja so odvisne od skale odgovarjajočega elementa. Po možnosti naj bodo valji termografov, barografov in higrografov istih dimenzij, tako da se lahko po potrebi med seboj zamenjajo.
Urni mehanizem je vgrajen v valju tako, da se obrača z njim, ali pa je pritrjen pod valjem na podstavek in miruje.
Gibanje se prenaša z urnega mehanizma na valj na naslednji način (sl. 5): urni mehanizem obrača zobnik - okretač (5), ki se vrti po obodu večjega, mirujočega zobnika (6), ki je z osjo (2) pritrjen na podstavek (7).
Vaza med zobnikom - okretačem in njegovo osjo ni popolnoma trdna. Zobnik je na os nataknjen in povezan z njo s trenjem, ki povzroča vrtenje valja. To silo trenja lahko premagamo pri vrtenju valja z roko. Trenje med zobnikom in osjo lahko oslabi in s tem tudi veza med njima. Posledica tega je, da urni mehanizem dela, valj pa se ne vrti. To okvaro popravimo tako, da močneje nataknemo zobnik na os ali pa ga trdneje privijemo na mestu izven zbonikov.
Slika 4. Zunanji izgled valja2.2.5. NAVIJANJE URNEGA MEHANIZMA
Za navijanje urnega mehanizma uporabljamo poseben ključ. Pri nekaterih valjih je ključ vedno v mehanizmu (2 na sl. 6b), pri drugih pa le pri navijanju (sl. 6c). Pri teh zapremo odprtino za navijanje urnega mehanizma s posebnim pokrovčkom. Ključ obračamo narahlo do konca v smeri puščice, ki je vgravirana poleg odprtine, z drugo pa držimo valj, da se ne obrača.
Če urni mehanizem po navijanju ne dela, je treba odviti matico s srednje osi in valj pazljivo izvleči. Valj nato držimo navpično na zgornji strani z vsemi petimi prsti in ga naglo zavrtimo za četrt obrata z leve na desno.
2.2.6. URAVNAVANJE HODA URNEGA MEHANIZMA
Hitrost obračanja valja se mora skladati s časovno razdelitvijo na traku (diagramu). Če se valj ne vrti v skladu s časom na traku, je treba njegov hod uravnati. Hod valja uravnamo z iglo, ki je pod širšo odprtino na njegovem zgornjem delu (1 na sl. 6a in b). Če urni mehanizem zaostaja, je treba iglo pazljivo premakniti v tisto smer, kjer je znak + ali črka A oziroma F, če pa prehiteva, v smer, kjer je znak - ali črka R oziroma S. Odprtina nad iglo mora biti vedno zaprta, da se urni mehanizem na bi prašil.
2.2.7. ZAMENJAVA VALJA
Pri zamenjavi valja (sl. 5) ni zadosti, da snamemo valj (1), temveč moramo odstraniti tudi njegovo os (2) z vsemi pripadajočimi deli: obe matici (4 in 9), nepremični zobnik (6) in podložko (8). Po enakem vrstnem redu je treba odstraniti dele z novega valja in jih pritrditi na svoje mesto.
Ko smo valj zamenjali, navijemo trak in nastavimo pero.
2.2.8. PALČKA ZA ODMIKANJE PERESA
Ta palčka stoji navpično na gibljivi ročici med valjem in držajem peresa. Pri nekaterih inštrumentih je ročica podaljšana izven ohišja, tako da lahko pero premikamo, ne da bi odprli pokrov, pri drugih pa je ročica pod ohišjem, ki ga moramo odpreti, če želimo pero premakniti. Prvi inštrumenti imajo prednost pred drugimi, ker ni nevarnosti, da se pero zatrese pri odpiranju ali zapiranju pokrova.
2.2.9. NAPRAVA ZA NASTAVLJANJE PERESA
Vsak registrirni inštrument ima posebno napravo za nastavljanje peresa na trak na pravo vrednost nekega elementa. Najpogosteje je to navaden vijak (št. 3 na sl. 3). Obstaja tudi naprava za nastavljanje velikosti pomika peresa. To napravo lahko uporabljamo samo v laboratoriju in ne na meteorološki postaji.
2.2.10. PODSTAVEK Z ZAŠČITNIM OHIŠJEM
Vsi deli inštrumenta so nameščeni na masivnem podstavku in zaščiteni od zunanjih vplivov s posebnim ohišjem z eno ali več steklenimi stranicami. Izven ohišja je le sprejemnik.
2.2.11. PERO
Peresa so navadno koritasta, v obliki tristranične piramide, podaljšane v smeri ene osi (sl. 7a). Vrh piramide je tudi vrh peresa in je vzdolž osi prerezan tako, da sta bočni strani nekoliko razdvojeni. Osnovnica piramide je bočno podaljšana in ima dva para ušesc za pritrditev držaja.
Držaj nataknemo točno do sredine osnovne ploskve peresa (sl. 7b).
Če so ušesca preveč skupaj in držaja ne moremo natakniti, jih razmaknemo z vrhom noža. Ko pero natančno namestimo, ušesca stisnemo s kleščami, da se pero ne premika.
Sled peresa mora biti tanka. Če pero piše debelo, se ne vidijo majhne spremembe, ki so tudi pomembne. Pero mora biti zato vedno čisto.
Pero, ki piše s široko sledjo ali če praska po traku, je treba zamenjati z novim.
Slika 7. Pero
2.2.12. POLNJENJE PERESA
Pero pri registrirnih inštrumentih polnimo s posebnim črnilom. Steklenička s črnilom ima navadno skozi svoj pokrovček izvlečeno žico, ki je na koncu razširjena v obliki lopatice. To žico uporabljamo za polnjenje in čiščenje peresa. Pero napolnimo s črnilom z žico ali pipeto. Pri polnjenju peresa moramo paziti, da ne umažemo držaja, posebno če je aluminijasto, ker lahko korodira in peresa ne bi mogli sneti, ali pa držaj lahko tudi zlomimo.
Pero ne smemo preveč napolniti s črnilom. Črnilo mora vedno imeti vbočeno površino ne pa izbočene. Ko je pero napolnjeno, se ga dotaknemo s koščkom papirja, da ugotovimo, če piše. Če ne piše, omočimo vrh peresa z lopatico na žici.
Črnilo za registrirne inštrumente je higroskopno, t.j. da vpija vlago v meglenem in deževnem vremenu, pa se lahko zgodi, da postane prepolno. V tem primeru vpijemo s koščkom pivnika odvečno količino črnila. Pri suhem vremenu nastane včasih na površini mrenica rumeno-kovinskega izgleda, ki je iz trdnega anilina. To mrenico moramo odstraniti z vrhom lopatice, ker bi lahko pero nehalo pisati.
Pero ne sme pisati debeleje od 0.2 mm. Če piše debeleje, ga snamemo, izperemo z gorilnim špiritom ali z vodo, če nimamo špirita in ga obrišemo s suho in čisto krpo. Če piše pero še naprej debelo, njegov vrh stisnemo, če je razširjen, vendar ne s prsti. Če tudi to ne pomaga, ga zamenjamo z novim.
Pri polnjenju in čiščenju pero podpremo, da se pritisk na pero ne prenaša na spremjemnik.
2.2.13. URAVNAVANJE TRENJA PERESA
Pri registrirnih inštrumentih je trenje zelo pomembno, posebno med peresom in trakom. Novejši tipi registririnih inštrumentov so uravnani tako, da je držaj peresa pritrjen na nagnjeni osi in tako pero s svojo težo pritiska na trak valja. V tem slučaju ni potrebno uravnavati pritisk peresa. Pri starejših tipih moramo odpraviti vsako odvečno trenje.
Pero je dobro nameščeno, če se rahlo dotika valja in piše v neprekinjeni in tanki črti, ter se odmakne od traku, če inštrument nagnemo naprej, največ za 30° (sl. 8).
Če se pero ne odmakne od traku, ko smo inštrument nagnili, moramo postopno odviti vijak (Z) z rezljano glavo, ki je na držaju, dokler se pero ne odmakne. Če se pero ne dotika valja, zavrtimo vijak (Z), dokler se pero ne dotakne traku.
Pri uravnavanju in nameščanju peresa moramo z eno roko držati držaj ob palčki za odmikanje.
Paziti moramo, da se držaj peresa ne zakrivi in s tem spremeni dolžino, kar bi povzročilo napake pri merjenju časa in elementov.
Če pero piše stopničasto (sl. 9), preverimo, ali ne pritiska premočno na trak in če je potrebno, ponovimo uravnavanje pritiska. Če je pritisk peresa dober, vendar se še naprej ponavlja ista napaka, ki je ne moremo pripisati spremembam meteorološkega elementa, je lahko okvara posledica preveč rahle veze prenosnih ročic ali neke druge napake. Če te okvare ne moremo odpraviti, moramo poslati inštrument na popravilo v strokovno delavnico.
2.2.14. URAVNAVANJE POLOŽAJA PERESA
Pero mora zavzemati na traku tak položaj, ki odgovarja stanju elementa v časovni razdelitvi.
Višina položaja peresa glede na stanje elementa je uravnana že v tovarni ali laboratoriju meteorološke službe in je ne smemo spreminjati brez posebne potrebe. Ni nujno, da pero piše vrednosti, kot jih kaže osnovni inštrument, ker je to zelo redko. Vpliv na spremembo višine peresa je dovoljen samo v primeru, če je odstopanje večje od dveh vrednosti na traku (na ordinati diagrama): pri barografu 2 mm, pri termografu 2°, itd. Izjema so inštrumenti z večjo porazdelitvijo, npr. higrograf (5.4.1.).
Pero pomikamo z vijakom (3) (sl. 3.), vendar ne v času, ko se element močneje spreminja, temveč ko je ustaljen ali se le malo spreminja.
Čas, po katerem uravnamo registrirne inštrumente, je srednji lokalni čas. Izjema so inštrumenti, ki merijo sončno sevanje (ti se ravnajo po pravem sončnem času) in ombrografi (ti se ravnajo po srednjeevropskem času).
To moramo vedno upoštevati tako pri nameščanju traka, kakor pri označevanju časovnih znakov - črtic (markic) na krivulji diagrama pri opazovanju v klimatoloških terminih (7., 14., 21. ura).
Čas uravnavamo s pomikanjem valja, dokler ni pero točno v točki pravilne časovne razporeditve.
Namestitev peresa je prikazana v poglavju 2.2.13.

2.2.15. ČIŠČENJE REGISTRIRNIH INŠTRUMENTOV
Registrirne inštrumente moramo pogosto čistiti. Registrirni inštrumenti v meteorološki hišici so izpostavljeni prahu in vlagi v večji meri kot tisti v zgradbi, zato jih je treba pogosteje čistiti. Prah čistimo z mehko ščetko ali živalskim peresom.
Za čiščenje in pranje las na higrometru in higrografu (5.3.3.1. in 5.4.2.) ne smemo uporabljati iste ščetke, s katero čistimo druge dele inštrumenta.
Registrirne inštrumente moramo čistiti izključno ob ponedeljkih pri zamenjavi traku.
2.2.16. TRAK
Trak je posebno tiskani list papirja (sl. 9), ki ga nameščamo na valj registrirnega inštrumenta za registriranje vrednosti elementov. Te vrednosti so prikazane s krivimi črtami, ki jih imenujemo krivulje. Trakove s krivuljo imenujemo diagram, krivulje pa po merjenih elementih: barogram, termogram, higrogram, heliogram itd.
Skala na traku je koordinatni sistem, kjer je na abscisi časovna porazdelitev, na ordinati pa porazdelitev vrednosti elementov.

Za vsak inštrument moramo uporabljati samo odgovarjajoči trak, ker so inštrumenti raznih znamk in dimenzij, čeprav so dimenzije valja iste. Pri naročilu trakov moramo vedno označiti, za kateri inštrument potrebujemo trakove, kdo jih je izdal in njihovo številko (številko obrazca).
2.2.16.1. UPORABA TRAKOV
Površine, kjer pero piše, se ne smemo dotikati s prsti, ker lahko postane gladka in mastna in se črnilo težko prime. Predno zamenjamo tak, je priporočljivo, da roke dobro umijemo z vodo in milom.
Prazne trakove, ki jih snamemo z inštrumenta, ne uporabljamo več. Označimo jih z datumom skupaj z uporabljenimi in pošljemo na Hidrometeorološki zavod. Izjema so trakovi ombrografa (9.7.5.).
Trakove hranimo v suhem prostoru, posebno tiste, ki jih še nismo uporabili. Na trakove, ki jih hranimo v vlažnem prosturu, se črnilo ne prime dobro in se razliva, zato jih ne moremo čitati s potrebno natančnostjo.
2.2.16.2. ZAMENJAVA TRAKOV
Na sedemdnevnih registrirnih inštrumentih zamenjamo trakove redno vsak ponedeljek po končanem prvem jutranjem klimatološkem opazovanju (ob 7.00 uri po lokalnem času). To velja v glavnem za navadne meteorološke postaje. Na glavnih meteoroloških postajah, kjer se po klimatološkem opazovanju ali istočasno z njim prične redno sinoptično opazovanje ni časa za zamenjavo trakov, jih zamenjamo po končanem sinoptičnem opazovanju. Trakove menjamo vedno ob istem času.
Na enodnevnih registrirnih inštrumentih zamenjamo trakove vsak dan ob istem času, kot zamenjamo tudi trakove sedemdnevnih registririnih inštrumentov, razen če za nekatere inštrumente ni predpisan poseben čas, kot je to pri heliografu, aktinografu in pri nekaterih drugih.
Trakove zamenjamo na naslednji način:
Na začetek kazala
Na začetek poglavja
2.2.16.3. PRIPRAVA TRAKOV
2.2.16.4. SNEMANJE TRAKOV
2.2.16.5. NAMESTITEV TRAKOV
Pri zamenjavi traku valja ne smemo sneti, razen pri okvari ali po potrebi.
Ker je težko nastaviti pero na pravo mesto na časovni skali, moramo isti dan točno ob 10. uri po lokalnem času preveriti ali je pero pri vsakem registrirnem inštrumentu natančno na črti, ki predstavlja 10. uro. Če pri kakšnem inštrumentu pero ni natančno nastavljeno, valj spet obrnemo za toliko, da pride pero na črto 10. ure in odpravimo mrtvi hod.
Preko tedna valja ne smemo premikati ali popravljati hoda ure, ker zapisujemo časovne reperje (črtice).
2.2.17. ČRTICE (MARKICE) NA DIAGRAMIH
Zaradi nepravilnosti delovanja urnega mehanizma moramo na krivulji elementa na diagramu označiti s črticami čas rednih klimatoloških opazovanj osnovnih inštrumentov, t.j. 7., 14. in 21. uro po lokalnem času. Uro in minuto označbe s črtico mora opazovalec vpisati na posebnem mestu v Dnevniku opazovanj. Ko trak sname, mora te vrednosti vnesti v diagram s svinčnikom nad ali pod odgovarjajoče črtice.
Način označevanja s črticami je za različne inštrumente drugačen, kar je predpisano za vsak inštrument posebej. Navadno zapišemo črtico, če se pazljivo dotaknemo nekega prenosnega dela inštrumenta s svinčnikom, če nimamo za to posebne naprave. Pri barografu zapišemo črtico s pazljivim trkanjem po ohišju in ga pri tem ni treba odpirti. Pri termografu in higrografu pa se lahko na zunanji strani dotaknemo prenosnih delov. Merilnih delov se ne smemo neposredno dotikati.
Črtice ne smejo biti daljše od 2 mm.
2.2.18. ČE NI TRAKU
Če se zgodi, da iz kateregakoli razloga na postaji zmanjka trakov, vzamemo list tankega papirja (po možnosti “kopirni papir”) v velikosti traku, ga natančno obrežemo in namestimo preko starega traku na valju. Nato nastavimo pero na papir in z roko obrnemo valj, dokler pero ne opiše ravne črte okoli celega valja. Istočasno odčitamo osnovni inštrument in njegovo popravljeno vrednost vpišemo na to ravno črto, ki je osnova za določanje drugih vrednosti na tem traku. Izredno važno je, da pri vsakem naslednjem opazovanju zapišemo črtico in zapišemo točen lokalni čas opazovanja.
2.2.19. ZAPISOVANJE SPREMEMB PRI REGISTRIRNIH INŠTRUMENTIH
Vse postopke, ki jih opazovalec izvrši na inštrumentu kakor so: sprememba stanja ali položaja peresa, čiščenje, čiščenje las itd., mora zapisati v Dnevnik in v Mesečno poročilo. Pri spremembi stanja ali položaja peresa mora opazovalec poleg časa, t.j. ure in minute, zapisati tudi vrednost spremembe, t.j. za koliko je pero višje ali nižje.
2.2.20. NAPAKE REGISTRIRNIH INŠTRUMENTOV
Napake registrirnih inštrumentov nastajajo iz naslednjih vzrokov:
Napake pod 1. in 2. se odražajo na ordinati diagrama in jih odstranimo s popravilom. Napake pod 3. in 4. se odražajo na abcisi diagrama in jih preprečimo s pravilnim uravnavanjem ure (2.2.6) in pravilno namestitvijo valja (2.6.16.5. pod 6), ali z rednim označevanjem s črticami na krivulji z oznako točnega lokalnega časa (ura in minuta), ko smo črtico napravili (2.2.17.).
Slab stik med zobnikom - okretačem in njegovo osjo odpravimo tako, da zobnik trdneje privijemo (2.2.4.).
Če okvare ne moremo popraviti na postaji, zahtevamo drug inštrument. Dokler ne dobimo zamenjave, moramo opazovati osnovni inštrument vsako uro po lokalnem času, da ne bi ostali brez podatkov za tabelo urnih vrednosti.
2.2.21. POMANJKLJIVOSTI REGISTRIRNIH INŠTRUMENTOV
Registrirni inštrumenti imajo naslednje pomanjkljivosti:
Zaradi teh pomanjkljivosti se pojavljajo manjše ali večje napake absolutnih vrednosti elementov, ki jih odstranimo s popravki pri obdelavi diagramov.
2.2.22. DOBRE LASTNOSTI REGISTRIRNIH INŠTRUMENTOV
Registrirni inštrumenti imajo naslednje dobre lastnosti: